服务热线
180-5003-0233
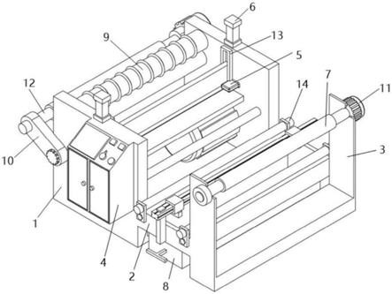
本实用新型涉及铝箔分切设备技术领域,具体为一种双轴铝箔分切机。背景技术:分切机是一种将宽幅纸张、云母带或薄膜分切成多条窄幅材料的机械设备,常用于造纸机械、电线电......
本发明涉及锂电池极片检测装置,尤其是涉及一种新型锂电池极片分条边缘毛刺检测装置。背景技术:在锂电池的生产设备中,极片分切机在分切铜箔或铝箔极片时,较容易产生毛刺......
本发明涉及锂离子电池制造技术领域,具体涉及一种锂离子电池极片分切除尘装置。背景技术:锂离子电池具有高工作电压、高比能量、能量密度大、输出功率高、循环寿命长、无环......
本实用新型涉及涂布加工机械领域,特别涉及一种涂布分切装置。背景技术:涂布是为了防腐,绝缘,装饰等目的,以液体或粉末形式在织物,纸张,金属箔或板等物体表面上涂盖塑......
专利名称:表面卷取分切机的卷取机构的制作方法技术领域:本实用新型涉及一种分切机设备,具体涉及一种表面卷取分切机的卷取机构。背景技术:表面卷取分切机设备适用于卷筒......
专利名称:铜箔分切装置的制作方法技术领域:本实用新型涉及一种分切装置,更具体地说,尤其涉及一种铜箔分切装置。背景技术:分切机在铜箔、造纸、薄膜塑料等行业应用是很......
分切机分切产品表面有暴筋、凹凸不平或硬块、麻点:产生原因:复合膜卷厚度误差大(这种故障往往出现在较厚的部位,张力和接触压力被集中在较厚部分)。接触压力大。收卷太......
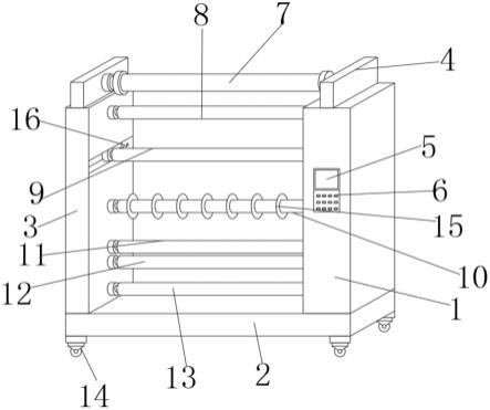
本实用新型涉及分切机设备技术领域,具体为一种可快速定位的分切机。背景技术:分切机是将一大卷纸张,薄膜,无纺布,铝箔等各种薄材料分切成不同宽度小卷的印前,印后设备......
1.本实用新型涉及分切机技术领域,具体为一种结构简单的分切机。背景技术:2.分切机是一种将宽幅纸张、云母带或薄膜分切成多条窄幅材料的机械设备,常用于造纸机械、电......
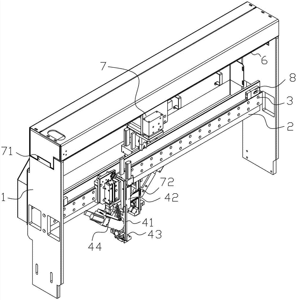
本实用新型涉及分切物料设备的技术领域,具体而言,涉及一种圆刀分切系统及分切机。背景技术:分切机常用于造纸机械、电线电缆云母带及印刷包装机械,是一种将宽幅纸张、云......
1.本实用新型属于铝塑膜加工领域,尤其涉及一种具有裁边功能的铝塑膜分切机。背景技术:2.铝塑膜因为其具有1、极高的阻隔性;1、良好的冷冲压成型性;3、耐穿刺性;......
1.本实用新型涉及一种铜箔分切机,特别涉及一种铜箔分切机下卷装置。背景技术:2.分切机是一种将宽幅纸张、云母带或薄膜分切成多条窄幅材料的机械设备,常用于造纸机械......
本实用新型涉及铜箔领域,具体为一种铜箔生产用高精密分切机。背景技术:分切机是将一卷纸张、薄膜、无纺布、铝箔或云母带等各种薄材料分切成不同宽度小卷,铜箔是一种阴质......
为了稳定分切机产品质量,保证产品的合格率,现规定如下:1、来料检查:根据来料的质量情况、壁厚、断头数、来合理安排计划,主操应考虑在保证满足客户要求的卷径、米数的......
本实用新型涉及包装胶带的制造设备领域,更具体的说,改进涉及的 是一种生产低噪音胶带的分切机。...