服务热线
180-5003-0233

本实用新型涉及铝箔分切设备技术领域,具体为一种双轴铝箔分切机。
背景技术:
分切机是一种将宽幅纸张、云母带或薄膜分切成多条窄幅材料的机械设备,常用于造纸机械、电线电缆云母带及印刷包装机械。分切机主要的运用于:无纺布;云母带、纸张、绝缘材料及各种薄膜材料分切、特别适宜于窄带(无纺布,纸张,绝缘材料、云母带、薄膜等等)的分切。
铝箔分切机主要是用于将宽度较大的铝箔卷材按照需求进行裁切分成宽度较小的铝箔卷材,而目前的铝箔分切机,在裁切铝箔时,无法根据需要改变切割装置的轴向,在需要对轴向进行改变时,这时便需要停下来进行人工校正,严重影响了生产的效率;且分切机在分切铝箔过程中所产生的废料一般随意堆放在地上,不利于回收利用。因此,我们提出了一种双轴铝箔分切机。
技术实现要素:
本实用新型的目的在于提供一种双轴铝箔分切机,解决了背景技术中所提出的问题。
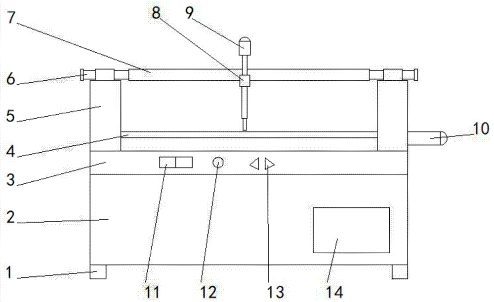
为实现上述目的,本实用新型提供如下技术方案:一种双轴铝箔分切机,其结构包括:机架、操作区、切割区和回收箱,所述机架底部焊接支撑腿,所述支撑腿设有四个且分布在机架四角处,所述机架顶部设置有操作区,所述操作区为斜面设置,所述操作区表面设置有电源开关,所述电源开关右侧设置有保险开关,所述保险开关右侧设置有轴向控制开关,所述电源开关、保险开关和轴向控制开关均与机架嵌入连接,所述机架右侧设置有回收箱,所述回收箱与机架之间滑动连接,所述操作区顶部设置有切割区。
作为本实用新型的一种优选实施方式,所述操作区两侧顶设置有支撑架,所述支撑架顶端设置有支撑棒,所述支撑棒与支撑架之间通过支撑棒固定顶固定连接,所述支撑棒与设置的连接轴滑动连接,所述连接轴与顶部设置的第一电机通过螺丝连接。
作为本实用新型的一种优选实施方式,所述切割区内设置有运料辊,所述运料辊设有五个,所述操作区内部右侧设置有进料辊,所述进料辊右侧设置进料口,所述运料辊与一侧设置的第二电机通过螺丝连接。
作为本实用新型的一种优选实施方式,所述回收箱右侧设置回收总管,所述回收总管呈倒“L”型,所述回收总管顶部连接回收支管,所述回收支管设有三个且分布均匀,所述回收支管与切割区连接,所述回收支管一侧连接有鼓风机。
作为本实用新型的一种优选实施方式,所述连接轴底部连接切割刀片,所述切割刀片与连接轴之间可拆卸连接。
与现有技术相比,本实用新型的有益效果如下:
1.该新型一种双轴铝箔分切机,设置的第一电机可以控制与连接轴连接的切割刀片改变切割轴向,便于对铝箔的双轴切割,在需要对轴向进行改变时,不需要停下来进行人工校正,提高了生产的效率。
2.该新型一种双轴铝箔分切机,通过设置的回收箱可收集铝箔废料,避免铝箔废料杂乱地丢弃在地上,回收箱与回收支管、回收总管连接,通过鼓风机将废料回收。
附图说明
通过阅读参照以下附图对非限制性实施例所作的详细描述,本实用新型的其它特征、目的和优点将会变得更明显:
图1为本实用新型一种双轴铝箔分切机的整体结构示意图;
图2为本实用新型一种双轴铝箔分切机的切割区结构示意图;
图3为本实用新型一种双轴铝箔分切机的回收箱结构示意图。
图中:支撑腿-1、机架-2、操作区-3、切割区-4、支撑架-5、支撑棒固定顶-6、支撑棒-7、连接轴-8、第一电机-9、第二电机-10、电源开关-11、保险开关-12、轴向控制开关-13、回收箱-14、进料辊-15、运料辊-16、切割刀片-17、回收支管-18、回收总管-19、鼓风机-20。
具体实施方式
为使本实用新型实现的技术手段、创作特征、达成目的与功效易于明白了解,下面结合具体实施方式,进一步阐述本实用新型。
请参阅图1-3,本实用新型提供一种技术方案:一种双轴铝箔分切机,其结构包括:机架2、操作区3、切割区4和回收箱14,所述机架2底部焊接支撑腿1,所述支撑腿1设有四个且分布在机架2四角处,所述机架2顶部设置有操作区3,所述操作区3为斜面设置,所述操作区3表面设置有电源开关11,所述电源开关11右侧设置有保险开关12,所述保险开关12右侧设置有轴向控制开关13,所述电源开关11、保险开关12和轴向控制开关13均与机架2嵌入连接,所述机架2右侧设置有回收箱14,所述回收箱14与机架2之间滑动连接,所述操作区3顶部设置有切割区4。
请参阅图1,所述操作区3两侧顶设置有支撑架5,所述支撑架5顶端设置有支撑棒7,所述支撑棒7与支撑架5之间通过支撑棒固定顶6固定连接,所述支撑棒7与设置的连接轴8滑动连接,所述连接轴8与顶部设置的第一电机9通过螺丝连接。第一电机9可以控制与连接轴8连接的切割刀片17改变切割轴向,便于对铝箔的双轴切割,在需要对轴向进行改变时,不需要停下来进行人工校正,提高了生产的效率。
请参阅图2,所述切割区4内设置有运料辊16,所述运料辊16设有五个,所述操作区3内部右侧设置有进料辊15,所述进料辊15右侧设置进料口,所述运料辊16与一侧设置的第二电机10通过螺丝连接。可以将铝箔料通过进料辊15和运料辊16进行转运,同时通过第二电机10控制进料辊15和运料辊16运动。
请参阅图3,所述回收箱14右侧设置回收总管19,所述回收总管19呈倒“L”型,所述回收总管19顶部连接回收支管18,所述回收支管18设有三个且分布均匀,所述回收支管18与切割区4连接,所述回收支管18一侧连接有鼓风机20。回收箱14可收集铝箔废料,避免铝箔废料杂乱地丢弃在地上,回收箱14与回收支管18、回收总管19连接,通过鼓风机20将废料回收。
请参阅图1,所述连接轴8底部连接切割刀片17,所述切割刀片17与连接轴8之间可拆卸连接。可对铝箔料进行切割,且可以轻易更换切割刀片17。
本实用新型所述的一种双轴铝箔分切机,首先铝箔料从进料口进入,通过进料辊15与运料辊16的传送,进入切割区4,切割区4顶部设置的切割刀片17可以对铝箔料进行切割,在需要改变切割轴向时,可以通过轴向控制开关13直接改变,而不需要停下来进行人工校正,影响生产的效率;切割产生的废料可通过回收箱14回收,避免铝箔废料杂乱地丢弃在地上,回收箱14与回收支管18、回收总管19连接,与回收总管19连接的鼓风机20可将废料收集至回收支管18,通过回收支管18进入回收总管19,再通过回收总管19进入回收箱14,回收箱14可通过滑动滑出,处理废料。
本实用新型的,支撑腿1、机架2、操作区3、切割区4、支撑架5、支撑棒固定顶6、支撑棒7、连接轴8、第一电机9、第二电机10、电源开关11、保险开关12、轴向控制开关13、回收箱14、进料辊15、运料辊16、切割刀片17、回收支管18、回收总管19、鼓风机20部件均为通用标准件或本领域技术人员知晓的部件,其结构和原理都为本技术人员均可通过技术手册得知或通过常规实验方法获知,本实用新型设置的第一电机可以控制与连接轴连接的切割刀片改变切割轴向,便于对铝箔的双轴切割,设置的回收箱可收集铝箔废料,避免铝箔废料杂乱地丢弃在地上,设置的第一电机可以控制与连接轴连接的切割刀片改变切割轴向,便于对铝箔的双轴切割,在需要对轴向进行改变时,不需要停下来进行人工校正,提高了生产的效率。通过设置的回收箱可收集铝箔废料,避免铝箔废料杂乱地丢弃在地上,回收箱与回收支管、回收总管连接,通过鼓风机将废料回收。
以上显示和描述了本实用新型的基本原理和主要特征和本实用新型的优点,对于本领域技术人员而言,显然本实用新型不限于上述示范性实施例的细节,而且在不背离本实用新型的精神或基本特征的情况下,能够以其他的具体形式实现本实用新型。因此,无论从哪一点来看,均应将实施例看作是示范性的,而且是非限制性的,本实用新型的范围由所附权利要求而不是上述说明限定,因此旨在将落在权利要求的等同要件的含义和范围内的所有变化囊括在本实用新型内。不应将权利要求中的任何附图标记视为限制所涉及的权利要求。
此外,应当理解,虽然本说明书按照实施方式加以描述,但并非每个实施方式仅包含一个独立的技术方案,说明书的这种叙述方式仅仅是为清楚起见,本领域技术人员应当将说明书作为一个整体,各实施例中的技术方案也可以经适当组合,形成本领域技术人员可以理解的其他实施方式。
技术特征:
1.一种双轴铝箔分切机,其结构包括:机架(2)、操作区(3)、切割区(4)和回收箱(14),其特征在于:所述机架(2)底部焊接支撑腿(1),所述支撑腿(1)设有四个且分布在机架(2)四角处,所述机架(2)顶部设置有操作区(3),所述操作区(3)为斜面设置,所述操作区(3)表面设置有电源开关(11),所述电源开关(11)右侧设置有保险开关(12),所述保险开关(12)右侧设置有轴向控制开关(13),所述电源开关(11)、保险开关(12)和轴向控制开关(13)均与机架(2)嵌入连接,所述机架(2)右侧设置有回收箱(14),所述回收箱(14)与机架(2)之间滑动连接,所述操作区(3)顶部设置有切割区(4)。
2.根据权利要求1所述的一种双轴铝箔分切机,其特征在于:所述操作区(3)两侧顶设置有支撑架(5),所述支撑架(5)顶端设置有支撑棒(7),所述支撑棒(7)与支撑架(5)之间通过支撑棒固定顶(6)固定连接,所述支撑棒(7)与设置的连接轴(8)滑动连接,所述连接轴(8)与顶部设置的第一电机(9)通过螺丝连接。
3.根据权利要求1所述的一种双轴铝箔分切机,其特征在于:所述切割区(4)内设置有运料辊(16),所述运料辊(16)设有五个,所述操作区(3)内部右侧设置有进料辊(15),所述进料辊(15)右侧设置进料口,所述运料辊(16)与一侧设置的第二电机(10)通过螺丝连接。
4.根据权利要求1所述的一种双轴铝箔分切机,其特征在于:所述回收箱(14)右侧设置回收总管(19),所述回收总管(19)呈倒“L”型,所述回收总管(19)顶部连接回收支管(18),所述回收支管(18)设有三个且分布均匀,所述回收支管(18)与切割区(4)连接,所述回收支管(18)一侧连接有鼓风机(20)。
5.根据权利要求2所述的一种双轴铝箔分切机,其特征在于:所述连接轴(8)底部连接切割刀片(17),所述切割刀片(17)与连接轴(8)之间可拆卸连接。
技术总结
本实用新型为一种双轴铝箔分切机,其结构包括:机架、操作区、切割区和回收箱,所述机架底部焊接支撑腿,所述支撑腿设有四个且分布在机架四角处,所述机架顶部设置有操作区,所述操作区为斜面设置,所述操作区表面设置有电源开关,所述电源开关右侧设置有保险开关,所述保险开关右侧设置有轴向控制开关,所述电源开关、保险开关和轴向控制开关均与机架嵌入连接,所述机架右侧设置有回收箱,所述回收箱与机架之间滑动连接,所述操作区顶部设置有切割区。该一种双轴铝箔分切机,设置的第一电机可以控制与连接轴连接的切割刀片改变切割轴向,便于对铝箔的双轴切割,设置的回收箱可收集铝箔废料,避免铝箔废料杂乱地丢弃在地上。
技术研发人员:刘和勇
受保护的技术使用者:张家港凡妮铝箔有限公司
技术研发日:2018.05.11
技术公布日:2018.11.30