服务热线
180-5003-0233
一种解决聚酯薄膜分切收卷起皱的方法本发明涉及薄膜技术领域,尤其涉及一种解决聚酯薄膜分切收卷起皱的方法。...
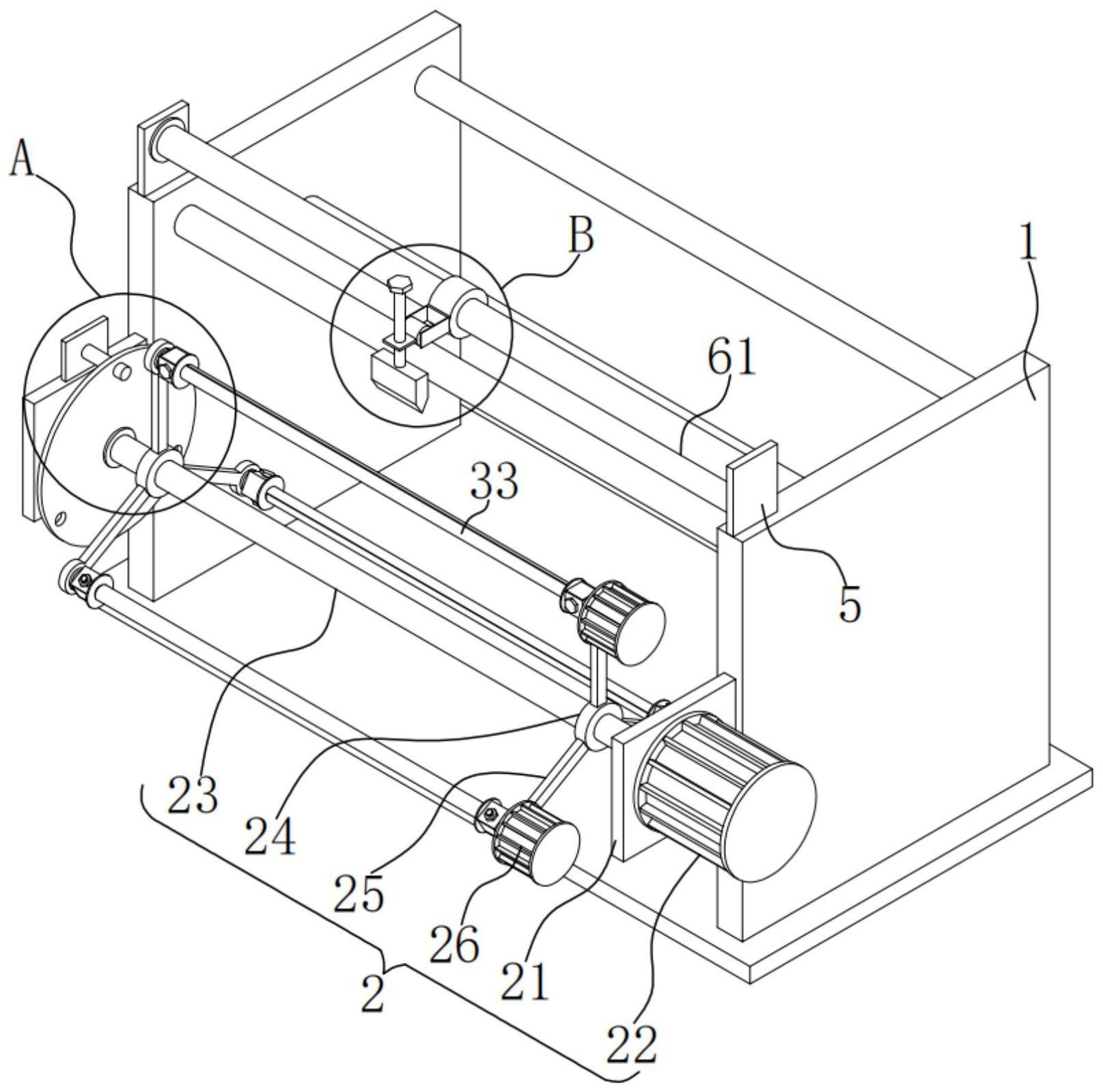
一种空间四轴双臂机器人及其收卷轴装卸装置的制作方法本实用新型涉及幅状材料的分切卷取装置,特别涉及一种空间四轴双臂机器人及其收卷轴装卸装置。背景技术:分切机是一种将宽幅纸张、云母带或薄膜分切成多条窄幅材料的机械设......
分切机的自动化技术在现代工业生产中,高效和高质量的生产是企业取得成功的关键。那么,分切机是如何在生产过程中发挥作用的呢?分切机有什么特殊之处,能否真正提升生产效率和产品质量,今天......
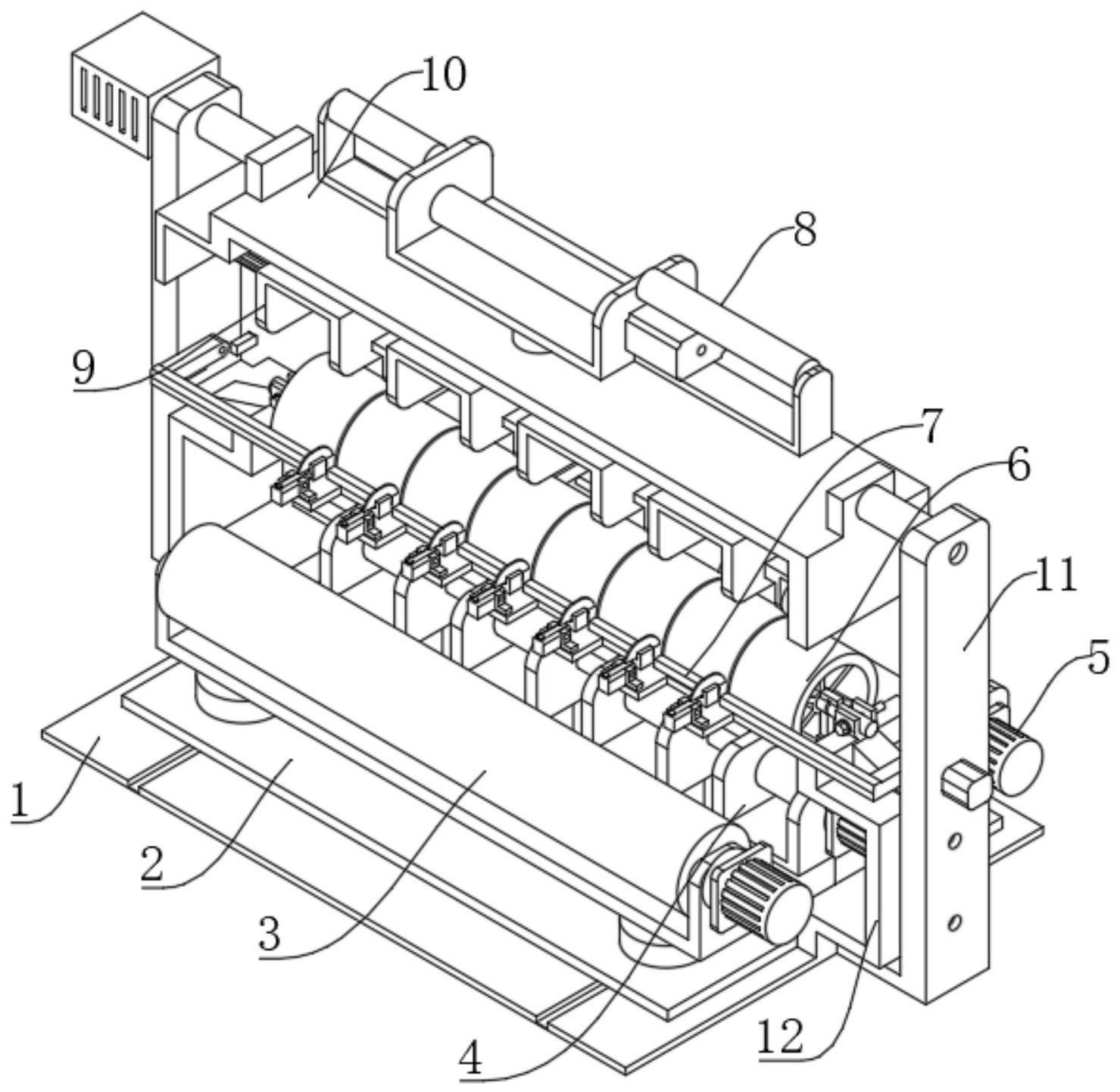
一种便于调节的分切机的制作方法1.本实用新型属于分切机技术领域,更具体地说,特别涉及一种便于调节的分切机。背景技术:2.分切机是一种将宽幅纸张、云母带或薄膜分切成多条窄幅材料的机械设备,常用......
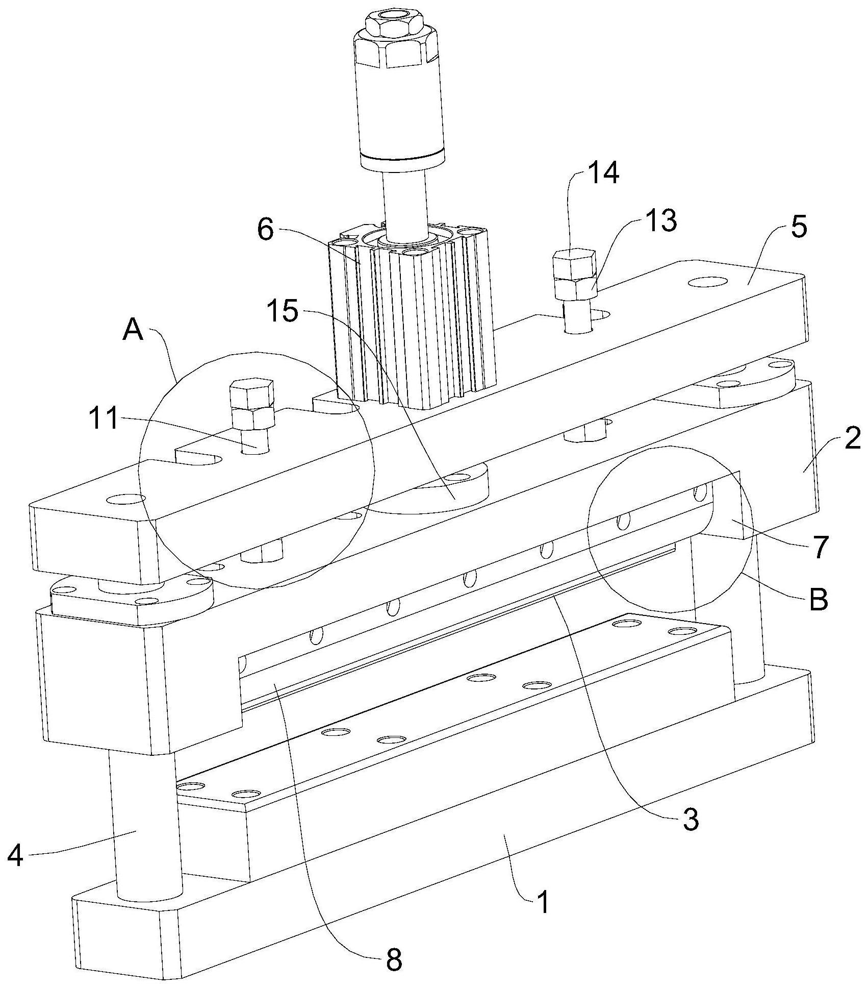
一种防褶皱的聚酯薄膜分切机的制作方法本实用新型涉及分切机技术领域,具体为一种防褶皱的聚酯薄膜分切机。背景技术:在pet聚酯薄膜的生产加工过程中,需要将生产出的一整张pet聚酯薄膜分切成特定尺寸的条......
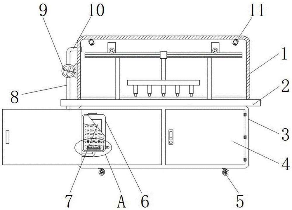
一种塑料薄膜分切膜卷包装置的制作方法1.本发明涉及薄膜分切的技术领域,具体为一种塑料薄膜分切膜卷包装置。背景技术:2.薄膜分切机是一种将薄膜分切成多条窄幅材料的机械设备,薄膜分切机由放卷机构、切割......
分切机的主动滚刀机构的制作方法本实用新型涉及分切机领域,尤其是一种分切机的主动滚刀机构。背景技术:分切机是一种将薄膜、宽幅纸张、无纺布或云母带分切成多条窄幅卷材的机械设备;分切机通常采用剃刀......
分切机放卷张力检测系统分切机放卷张力检测系统是一种用于确保分切过程中材料张力的设备,具有重要的实际应用价值。在本文中,我们将介绍一种分切机放卷张力检测系统的设计方案,包括其工作原理、......
铝箔分切机的用途有哪些铝箔分切机是一种专门用于处理铝箔材料的机械设备。它的主要功能是将宽大的铝箔带切割成特定宽度的小条,以便进一步加工或使用。以下是一些铝箔分切机的常见用途:铝箔加工......
膜体分切机组的制作方法1.本实用新型属于贴膜技术领域,涉及膜体分切机组。背景技术:2.柔性电路板(简称fpc)是以聚酰亚胺或聚酯薄膜为基材制成的一种具有高度可靠性,绝佳的可挠性印刷电......
一种薄膜分切整齐度高的薄膜分切机的制作方法本实用新型涉及一种薄膜分切机,具体是一种薄膜分切整齐度高的薄膜分切机。背景技术:薄膜分切机由放卷机构、切割机构、收卷机构、各功能辊以及张力控制纠偏控制和检测装置......
一种反光膜分切机的制作方法1.本发明涉及反光膜领域,尤其涉及一种反光膜分切机。背景技术:2.反光膜,是一种已制成薄膜可直接应用的逆反射材料。3.现在的反光膜在生产成成品后需要使用分切机对......
一种复合膜分切机的制作方法1.本实用新型涉及分切机技术领域,尤其涉及一种复合膜分切机。背景技术:2.分切机是一种将宽幅纸张、云母带或薄膜分切成多条窄幅材料的机械设备;分切机一般通过间隔设......
一种自动高效薄膜分切机的制作方法1.本发明属于薄膜领域,具体而言涉及一种自动高效薄膜分切机。背景技术:2.分切机是一种将宽幅薄膜分切成多条窄幅材料的机械设备,薄膜分切机由放卷机构、分切机构、收......
一种电池隔膜拉伸生产线及其拉伸方法与流程1.本发明涉及电池隔膜生产技术领域,具体涉及一种电池隔膜拉伸生产线及其拉伸方法。背景技术:2.锂离子电池隔膜的主要作用是分隔电池的正、负极材料,防止两极接触而短......