服务热线
180-5003-0233

1.本实用新型属于铝塑膜加工领域,尤其涉及一种具有裁边功能的铝塑膜分切机。
背景技术:
2.铝塑膜因为其具有1、极高的阻隔性;1、良好的冷冲压成型性;3、耐穿刺性;4、耐电解液稳定性;5、电性能等重要指标,区别于普通复合膜,这些重要的指标和性能使得铝塑膜在我国有着广泛的应用,尤其是电子类及国防尖端产品的包装,铝塑膜的结构主要是由外层尼龙层、粘合剂、中间层铝箔、粘合剂、内层cpp热封层的多层膜构成。铝塑膜分切是锂离子电池制作中必不可少的工序,铝膜分切机是锂电池生产设备中的关键设备,将整卷铝膜分切成指定宽度的铝膜卷供后道工序使用,目前现有的立式铝膜分切机主要工序包括放卷、分切、收卷、张力控制和纠编等几个单元组成。
3.但是现有的铝塑膜分切机大多送料裁切精确度较低,分切后质量参差不齐,并且现有的铝塑膜分切机没有设置裁边相关的机构,一般是由工人手持裁刀裁边或者将铝塑膜经过裁边机裁边,裁完边之后,再由铝塑膜分切机进行分切,耗时耗力,生产效率低下。
技术实现要素:
4.本实用新型提供一种具有裁边功能的铝塑膜分切机,旨在解决现有的铝塑膜分切机大多送料裁切精确度较低,分切后质量参差不齐,并且现有的铝塑膜分切机没有设置裁边相关的机构,耗时耗力,生产效率低下的问题。
5.本实用新型是这样实现的,一种具有裁边功能的铝塑膜分切机,包括铝塑膜分切主壳体、裁边平台、送料支架、控制操作平台、测量计米装置以及液压伸缩装置,其特征在于:所述送料支架的顶部设有旋转送料气涨轴,所述旋转送料气涨轴的一侧设有送料轴驱动电机,所述送料支架的侧壁上设有所述裁边平台,所述裁边平台的底部设有可抽拉裁剪废料收集箱,所述裁边平台的顶部还通过螺栓结构设有两根张力压实轴,所述裁边平台的顶部还设有滑动横杆,所述滑动横杆上设有两个可滑动裁边平刀,所述裁边平台远离所述送料支架的侧壁上设有所述铝塑膜分切主壳体,所述铝塑膜分切主壳体的正端面设有所述控制操作平台,所述控制操作平台上设有可开闭线路门、数值显示屏、整体启动关闭按钮、横断刀启动控制按钮、测量计米装置启动旋钮以及裁边装置启动按钮,所述铝塑膜分切主壳体的顶部设有两个所述液压伸缩装置,所述塑膜分切主壳体的内部设有铝塑膜承接轴、计米平台、计米平台出料轴、整体机构驱动电机、所述测量计米装置、横断刀滑槽、铝塑膜分切圆刀以及分切切面轴,所述横断刀滑槽内设有可滑动横断刀,所述铝塑膜分切主壳体两侧外壁上还设有可旋转卷料装置,所述可旋转卷料装置上设有铝塑膜气涨卷料轴,所述铝塑膜气涨卷料轴的一侧设有卷料轴驱动电机。
6.更进一步地,所述测量计米装置和所述液压伸缩装置以及所述测量计米装置启动旋钮均电连接,所述横断刀启动控制按钮和所述液压伸缩装置电连接,所述裁边装置启动按钮和所述可滑动裁边平刀电连接。
7.更进一步地,所述液压伸缩装置的伸缩轴和所述可滑动横断刀连接。
8.更进一步地,所述测量计米装置可通过测量计米装置启动旋钮设置数值,设置的数值会显示在所述数值显示屏上。
9.更进一步地,所述可抽拉裁剪废料收集箱和所述裁边平台的连接方式为可拆卸连接,所述可抽拉裁剪废料收集箱的侧壁上还设有抽拉把手。
10.更进一步地,所述铝塑膜分切主壳体、所述裁边平台以及所述送料支架均为经过倒角处理的不锈钢构件。
11.更进一步地,所述铝塑膜分切主壳体、所述裁边平台以及所述送料支架之间的连接方式均为焊接。
12.关于实施本实用新型的有益技术效果为:本实用新型结构紧凑、操作轻便、自动计米、自动裁边;本实用新型通过设有测量计米装置和可滑动横断刀可以自动对分切的铝塑膜计米,到位后可滑动横断刀会自动切断铝塑膜;本实用新型还通过设有可滑动裁边平刀和张力压实轴可以在铝塑膜分切之前有效的进行裁边处理,极大的减少生产费用并且能很好的提高生产质量;本实用新型还通过设有可抽拉裁剪废料收集箱能有效的防止裁剪废料飞溅,影响工作环境。
附图说明
13.图1是本实用新型的整体结构示意图;
14.图2是本实用新型的正视图;
15.图3是本实用新型的内部结构图;
16.图4是本实用新型的俯视图;
17.图5是本实用新型的左视图。
具体实施方式
18.为了使本实用新型的目的、技术方案及优点更加清楚明白,以下结合附图及实施例,对本实用新型进行进一步详细说明。应当理解,此处所描述的具体实施例仅仅用以解释本实用新型,并不用于限定本实用新型。
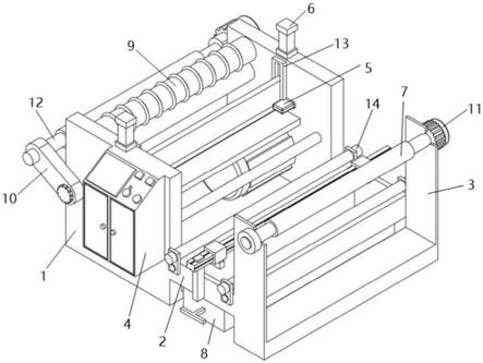
19.参照图1
图5,一种具有裁边功能的铝塑膜分切机,包括铝塑膜分切主壳体1、裁边平台2、送料支架3、控制操作平台4、测量计米装置5以及液压伸缩装置6,其特征在于:送料支架3的顶部设有旋转送料气涨轴7,旋转送料气涨轴7的一侧设有送料轴驱动电机11,送料支架3的侧壁上设有裁边平台2,裁边平台2的底部设有可抽拉裁剪废料收集箱8,裁边平台2的顶部还通过螺栓结构设有两根张力压实轴14,裁边平台2的顶部还设有滑动横杆22,滑动横杆22上设有两个可滑动裁边平刀21,裁边平台2远离送料支架3的侧壁上设有铝塑膜分切主壳体1,铝塑膜分切主壳体1的正端面设有控制操作平台4,控制操作平台4上设有可开闭线路门18、数值显示屏15、整体启动关闭按钮16、横断刀启动控制按钮20、测量计米装置启动旋钮17以及裁边装置启动按钮19,铝塑膜分切主壳体1的顶部设有两个液压伸缩装置6,塑膜分切主壳体1的内部设有铝塑膜承接轴23、计米平台26、计米平台出料轴28、整体机构驱动电机30、测量计米装置5、横断刀滑槽13、铝塑膜分切圆刀9以及分切切面轴25,横断刀滑槽13内设有可滑动横断刀27,铝塑膜分切主壳体1两侧外壁上还设有可旋转卷料装置10,
可旋转卷料装置10上设有铝塑膜气涨卷料轴12,铝塑膜气涨卷料轴12的一侧设有卷料轴驱动电机29。
20.测量计米装置5和液压伸缩装置6以及测量计米装置启动旋钮17均电连接,横断刀启动控制按钮20和液压伸缩装置6电连接,裁边装置启动按钮19和可滑动裁边平刀21电连接,方便整体的控制。
21.液压伸缩装置6的伸缩轴和可滑动横断刀27连接,控制可滑动横断刀27的上下滑动。
22.测量计米装置5可通过测量计米装置启动旋钮17设置数值,设置的数值会显示在数值显示屏15上,方便根据生产的需要对铝塑膜计米。
23.可抽拉裁剪废料收集箱8和裁边平台2的连接方式为可拆卸连接,可抽拉裁剪废料收集箱8的侧壁上还设有抽拉把手,方便可抽拉裁剪废料收集箱8的抽拉。
24.铝塑膜分切主壳体1、裁边平台2以及送料支架3均为经过倒角处理的不锈钢构件,不锈钢的构件具有很好的耐用性。
25.铝塑膜分切主壳体1、裁边平台2以及送料支架3之间的连接方式均为焊接,焊接的方式较为可靠。
26.本实用新型的工作原理为:本实用将需要分切的铝塑膜材料放置在旋转送料气涨轴7上,需要分切的铝塑膜材料首先会通过张力压实轴14和裁边平台2之间的间隙,然后通过可滑动裁边平刀21进行精准裁边处理,裁边后的废料会掉落在可抽拉裁剪废料收集箱8内,经过裁边后的铝塑膜材料通过铝塑膜承接轴23进入计米平台26,铝塑膜材料通过计米平台26的同时测量计米装置5会自动对通过的铝塑膜材料计米,铝塑膜材料会再次通过计米平台出料轴28和计米平台26之间的间隙,然后通过铝塑膜分切圆刀9进行分切,分切后的铝塑膜会通过铝塑膜气涨卷料轴12进行卷料收集,当设定的计米数值到位后,测量计米装置5会发送信号给液压伸缩装置6,液压伸缩装置6会控制可滑动横断刀27将铝塑膜切断。
27.关于实施本实用新型的有益技术效果为:本实用新型结构紧凑、操作轻便、自动计米、自动裁边;本实用新型通过设有测量计米装置5和可滑动横断刀27可以自动对分切的铝塑膜计米,到位后可滑动横断刀27会自动切断铝塑膜;本实用新型还通过设有可滑动裁边平刀21和张力压实轴14可以在铝塑膜分切之前有效的进行裁边处理,极大的减少生产费用并且能很好的提高生产质量;本实用新型还通过设有可抽拉裁剪废料收集箱8能有效的防止裁剪废料飞溅,影响工作环境。
28.以上所述仅为本实用新型的较佳实施例而已,并不用以限制本实用新型,凡在本实用新型的精神和原则之内所作的任何修改、等同替换和改进等,均应包含在本实用新型的保护范围之内。
技术特征:
1.一种具有裁边功能的铝塑膜分切机,包括铝塑膜分切主壳体(1)、裁边平台(2)、送料支架(3)、控制操作平台(4)、测量计米装置(5)以及液压伸缩装置(6),其特征在于:所述送料支架(3)的顶部设有旋转送料气涨轴(7),所述旋转送料气涨轴(7)的一侧设有送料轴驱动电机(11),所述送料支架(3)的侧壁上设有所述裁边平台(2),所述裁边平台(2)的底部设有可抽拉裁剪废料收集箱(8),所述裁边平台(2)的顶部还通过螺栓结构设有两根张力压实轴(14),所述裁边平台(2)的顶部还设有滑动横杆(22),所述滑动横杆(22)上设有两个可滑动裁边平刀(21),所述裁边平台(2)远离所述送料支架(3)的侧壁上设有所述铝塑膜分切主壳体(1),所述铝塑膜分切主壳体(1)的正端面设有所述控制操作平台(4),所述控制操作平台(4)上设有可开闭线路门(18)、数值显示屏(15)、整体启动关闭按钮(16)、横断刀启动控制按钮(20)、测量计米装置启动旋钮(17)以及裁边装置启动按钮(19),所述铝塑膜分切主壳体(1)的顶部设有两个所述液压伸缩装置(6),所述塑膜分切主壳体(1)的内部设有铝塑膜承接轴(23)、计米平台(26)、计米平台出料轴(28)、整体机构驱动电机(30)、所述测量计米装置(5)、横断刀滑槽(13)、铝塑膜分切圆刀(9)以及分切切面轴(25),所述横断刀滑槽(13)内设有可滑动横断刀(27),所述铝塑膜分切主壳体(1)两侧外壁上还设有可旋转卷料装置(10),所述可旋转卷料装置(10)上设有铝塑膜气涨卷料轴(12),所述铝塑膜气涨卷料轴(12)的一侧设有卷料轴驱动电机(29)。2.根据权利要求1所述的一种具有裁边功能的铝塑膜分切机,其特征在于:所述测量计米装置(5)和所述液压伸缩装置(6)以及所述测量计米装置启动旋钮(17)均电连接,所述横断刀启动控制按钮(20)和所述液压伸缩装置(6)电连接,所述裁边装置启动按钮(19)和所述可滑动裁边平刀(21)电连接。3.根据权利要求1所述的一种具有裁边功能的铝塑膜分切机,其特征在于:所述液压伸缩装置(6)的伸缩轴和所述可滑动横断刀(27)连接。4.根据权利要求2所述的一种具有裁边功能的铝塑膜分切机,其特征在于:所述测量计米装置(5)可通过测量计米装置启动旋钮(17)设置数值,设置的数值会显示在所述数值显示屏(15)上。5.根据权利要求1所述的一种具有裁边功能的铝塑膜分切机,其特征在于:所述可抽拉裁剪废料收集箱(8)和所述裁边平台(2)的连接方式为可拆卸连接,所述可抽拉裁剪废料收集箱(8)的侧壁上还设有抽拉把手。6.根据权利要求1所述的一种具有裁边功能的铝塑膜分切机,其特征在于:所述铝塑膜分切主壳体(1)、所述裁边平台(2)以及所述送料支架(3)均为经过倒角处理的不锈钢构件。7.根据权利要求1所述的一种具有裁边功能的铝塑膜分切机,其特征在于:所述铝塑膜分切主壳体(1)、所述裁边平台(2)以及所述送料支架(3)之间的连接方式均为焊接。
技术总结
本实用新型适用于铝塑膜加工领域,提供了一种具有裁边功能的铝塑膜分切机,包括铝塑膜分切主壳体、裁边平台、送料支架、控制操作平台、测量计米装置以及液压伸缩装置,塑膜分切主壳体的内部设有铝塑膜承接轴、计米平台、计米平台出料轴、整体机构驱动电机、测量计米装置、横断刀滑槽、铝塑膜分切圆刀以及分切切面轴,本实用新型通过设有测量计米装置和可滑动横断刀可以自动对分切的铝塑膜计米;本实用新型还通过设有可滑动裁边平刀和张力压实轴可以在铝塑膜分切之前有效的进行裁边处理,极大的减少生产费用并且能很好的提高生产质量;本实用新型还通过设有可抽拉裁剪废料收集箱能有效的防止裁剪废料飞溅,影响工作环境。影响工作环境。影响工作环境。
技术研发人员:熊文彬 简俊 刘东
受保护的技术使用者:深圳市融达信新能源科技有限公司
技术研发日:2021.04.12
技术公布日:2021/11/24