服务热线
180-5003-0233
一种不干胶分切机的制作方法1.本实用新型涉及一种不干胶分切机。背景技术:2.不干胶也叫自粘标签材料,是以纸张、薄膜或特种材料为面料,背面涂有胶粘剂,以涂硅保护纸为底纸的一种复合材料,不干......
一种具有等距切割功能的分切机的制作方法1.本实用新型涉及双面胶生产领域,具体为一种具有等距切割功能的分切机。背景技术:2.双面胶是以纸、布、塑料薄膜、弹性体型压敏胶或树脂型压敏胶制成的卷状胶粘带,在......
固态电池极片分条机切刀清洁机构的制作方法本实用新型涉及锂电池生产设备技术领域,具体涉及一种固态电池极片分条机切刀清洁机构。背景技术:分条机是将带材纵切成若干所需规格带条的生产设备,其主要包括上切刀和下......
一种锂电池生产铜箔分切处理方法与流程[0001]本发明涉及锂电池生产技术领域,特别涉及一种锂电池生产铜箔分切处理方法。背景技术:[0002]铜箔是一种阴质性电解材料,沉淀于电路板基底层上的一层薄的......
一种锂电池铝箔分切加工方法与流程本实用新型涉及分切机技术领域,具体是指一种动力电池极片分切上刀架调整量化机构。背景技术:动力锂离子电池极片分切是动力电池生产过程中最关键一道工序,特别是受材料涂......
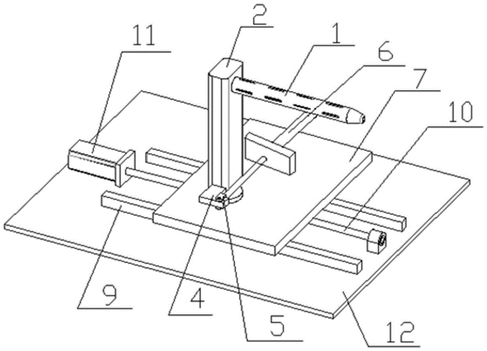
一种动力电池极片分切上刀架调整量化机构的制作方法本实用新型涉及分切机技术领域,具体是指一种动力电池极片分切上刀架调整量化机构。背景技术:动力锂离子电池极片分切是动力电池生产过程中最关键一道工序,特别是受材料涂......
一种锂电池极片连续分条机的制作方法本发明涉及锂电池极片加工技术领域,具体为一种锂电池极片连续分条机。背景技术:锂电池是一类由锂金属或锂合金为负极材料、使用非水电解质溶液的电池,由于锂金属的化学特......
一种锂电池分条机刀架无接触式传动机构的制作方法1.本实用新型涉及传动机构,特别涉及一种锂电池分条机刀架无接触式传动机构。背景技术:2.目前锂电池分条机分切刀架的传动方式使用传统的花键套与花键配合换型机构,此......
分切机数字化控制系统分切机是目前大规模工业生产中常用的一种机器,其主要作用是将较大的卷材切割成所需尺寸的小卷材或小片材。下面,就由分切机厂家来给大家介绍一下分切机的数字化控制系统。......
锂电池正极辊压分切一体机的制作方法本实用新型涉及锂电池正极辊压分切一体机,属于锂离子电池制造设备技术领域。背景技术:锂电池是一类由锂金属或锂合金为正/负极材料、使用非水电解质溶液的电池。1912......
一种锂电池分条机辅助下料装置的制作方法本实用新型涉及锂电池生产设备技术领域,具体是一种锂电池分条机辅助下料装置。背景技术:近几年,人工成本不断上升,AGV市场逐渐被企业发现,而出现了AGV热潮,这也......
一种锂电池加工工艺的制作方法本发明涉及锂电池生产相关技术领域,具体为一种锂电池加工工艺。背景技术:锂离子电池构成主要有正极、负极、非水电解质和隔膜四部分组成。目前市场上采用较多的锂电池主要......
一种锂电池电芯的分切装置的制作方法本实用新型涉及锂电池技术领域,具体是一种锂电池电芯的分切装置。背景技术:现有的锂电池生产过程中,锂电池电芯是需要大批量生产的产品,分切锂电池电芯是锂电池电芯包装......
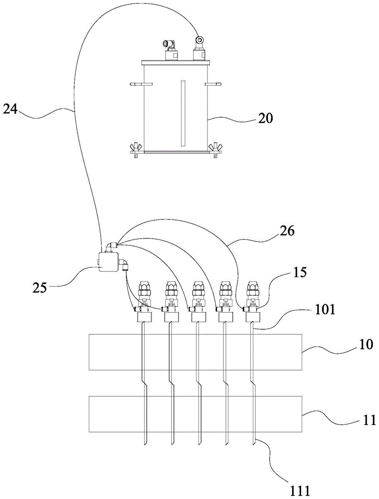
一种锂电池极片分切边料粉碎收集装置的制作方法本实用新型涉及锂电池生产领域,具体涉及一种锂电池极片分切边料粉碎收集装置。背景技术:基于目前锂电池分条机分切后两边会连续产生2条5~10mm边料,目前在分切机分......
一种锂电池极片分切切刀调节及辅助分切机构的制作方法本发明涉及锂电池生产设备技术领域,具体为一种锂电池极片分切切刀调节及辅助分切机构。背景技术:锂电池,是一类由锂金属或锂合金为正极或负极材料、使用非水电解质的电池......