服务热线
180-5003-0233
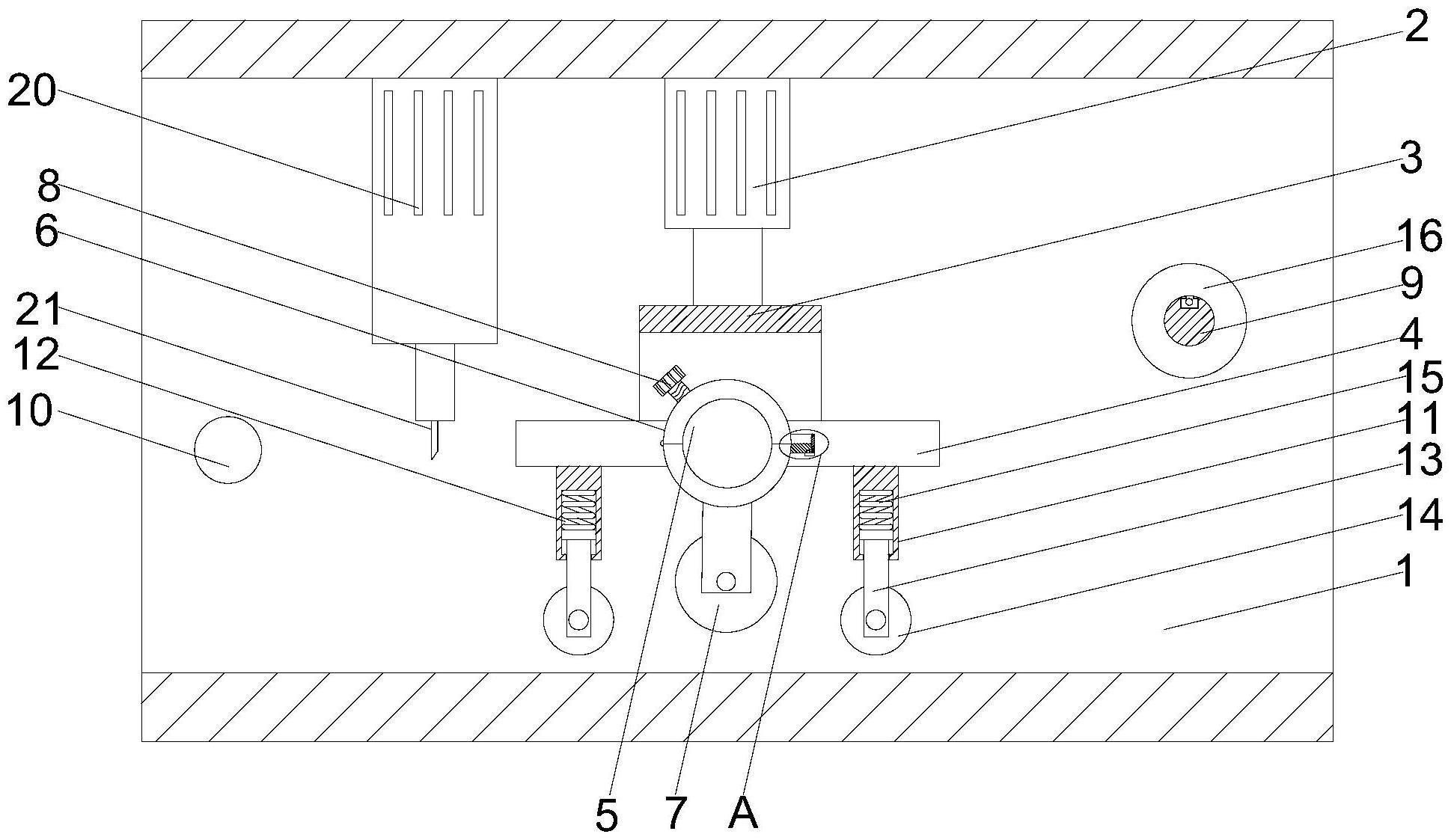
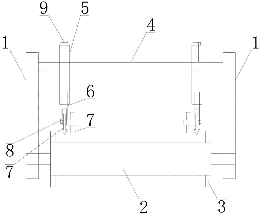
一种锂电池盖板分切刀架的制作方法本实用新型涉及分切机技术领域,具体是一种锂电池盖板分切刀架。背景技术:锂电池是指电化学体系中含有锂(包括金属锂、锂合金和锂离子、锂聚合物)的电池。锂电池盖板通常......
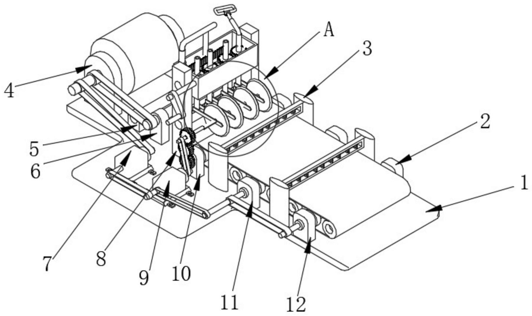
一种二次锂离子电池极片分切装置的制作方法本实用新型涉及锂电子加工设备技术领域,尤其涉及一种二次锂离子电池极片分切装置。背景技术:锂离子电池具有高工作电压、高比能量、能量密度大、输出功率高、循环寿命长、......
分切机的自动化送料系统介绍分切机采用先进的技术和切割方法,能够实现高速、高精度的切割过程。其通过配备先进的自动化系统和电子控制,使得切割操作能够快速准确地完成。自动化送料系统可以帮助分切......
一种锂电池隔膜的分切装置及分切系统的制作方法1.本实用新型属于隔膜制品分切领域,涉及一种锂电池隔膜的分切装置及分切系统。背景技术:2.目前,随着锂电池行业的快速发展,国内锂电隔膜生产技术也迎来了一个快速发......
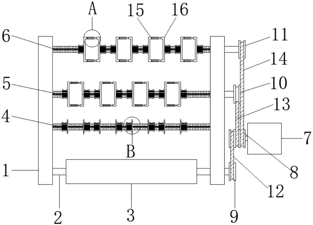
一种锂电池极片分切卷筒及涂覆分切装置的制作方法1.本实用新型涉及电池生产技术领域,尤其涉及一种锂电池极片分切卷筒及涂覆分切装置。背景技术:2.在锂电池的生产制造中,需要使用到极片,极片是由箔材涂覆浆料后分切......
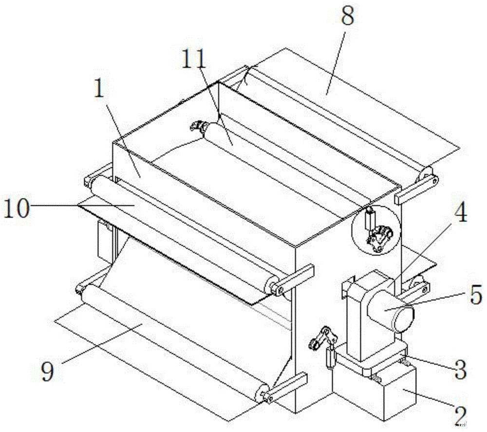
锂电池隔膜分切机专用纠偏滚筒的制作方法本实用新型涉及锂电池隔膜生产技术领域,具体涉及一种锂电池隔膜分切机专用纠偏滚筒。背景技术:锂电池的结构中,隔膜是关键的内层组件之一。隔膜的性能决定了电池的界面结......
一种用于磷酸铁锂电池加工的分切机的制作方法本实用新型涉及电池加工技术领域,尤其涉及一种用于磷酸铁锂电池加工的分切机。背景技术:磷酸铁锂电池,是指用磷酸铁锂作为正极铝箔的锂离子电池。锂离子电池的正极铝箔主......
分切机快速换刀和操作便捷的特点不同的生产分切机厂家,具体的技术能力会存在着差别,当我们在生产的过程中,应该对不同的分切机厂家都有了正确的了解和认识,只有当你能够关注到了更多的东西并且了解到具......
一种电池铝箔分条加工机及分条加工工艺的制作方法1.本发明属于电池制造技术领域,尤其涉及一种电池铝箔分条加工机及分条加工工艺。背景技术:2.分条机是用来把成卷的各类薄膜(主要是铜箔、铝箔、opp、pet等镀铝......
一种分切机的制作方法本实用新型涉及一种解决了圆盘底刀振动造成的分切不良现象的分切机。背景技术:本专利涉及一种纺织、塑料薄膜、造纸行业生产中常用的分切机(分条机)。由于生产线下卷的宽......
切刀宽度可调节无纺布分切机的制作方法1.本实用新型涉及无纺布分切机技术领域,具体是切刀宽度可调节无纺布分切机。背景技术:2.分切机是一种将宽幅纸张、云母带或薄膜分切成多条窄幅材料的机械设备,常用于......
一种分切机的飞刀切割装置的制作方法1.本实用新型涉及分切机技术领域,具体为一种分切机的飞刀切割装置。背景技术:2.分切机是薄膜、纸等类卷材按需要的宽度直接分割的设备。分切机对材料进行分割时采用的......
分切机在现代工业领域发挥重要作用分切机可以根据不同的生产需求进行调整,适应各种材料和产品的分切要求。通过简单的设置和参数调整,分切机能够灵活地处理各种尺寸、厚度和形状的材料,在保证产品质量的前......
一种预浸料分切机的工艺方法与流程1.本实用新型涉及纸张裁切技术领域,具体为一种高效纸张分切纸机。背景技术:2.纸张分切机是印前和印后经常使用的一种比较重要的设备,在印前主要分切原材料,如纸张、......
一种高效纸张分切纸机的制作方法1.本实用新型涉及纸张裁切技术领域,具体为一种高效纸张分切纸机。背景技术:2.纸张分切机是印前和印后经常使用的一种比较重要的设备,在印前主要分切原材料,如纸张、......