服务热线
180-5003-0233
自动上料分切机的制作方法【专利摘要】本发明公开了一种自动上料分切机,该自动上料分切机包括供料切断机构、取料搬运压装机构、工件输送机构和双道切断机构,所述供料切断机构固定在地面上,工件输......
用于高速分切机张力调节的控制装置的制作方法专利名称:用于高速分切机张力调节的控制装置的制作方法技术领域:本实用新型涉及高速分切机技术领域,尤其是一种用于高速分切机张力调节的控制装置。背景技术:高速分切机......
一种用于分切机上的收卷装置的制作方法本技术涉及机械设备制造领域,具体涉及一种用于分切机上的收卷装置。背景技术:1、目前,很多卷状类的产品如透明胶带、生料带、运动胶带、打印机用的碳带、保险膜等产品,......
基于实时张力的高速收放卷设备的薄膜卷径计算方法与流程1.本发明涉及薄膜卷径测量领域,特别涉及一种基于实时张力的高速收放卷设备的薄膜卷径计算方法。背景技术:2.收放卷设备,包括薄膜印刷、复卷、复合、分切、制袋等一系......
一种分切机的张力控制机构的制作方法本技术涉及铝箔加工的,特别是涉及一种分切机的张力控制机构。背景技术:1、铝箔分切机主要是用于将宽度较大的铝箔卷材按照需求进行裁切分成宽度较小的铝箔卷材。张力控制......
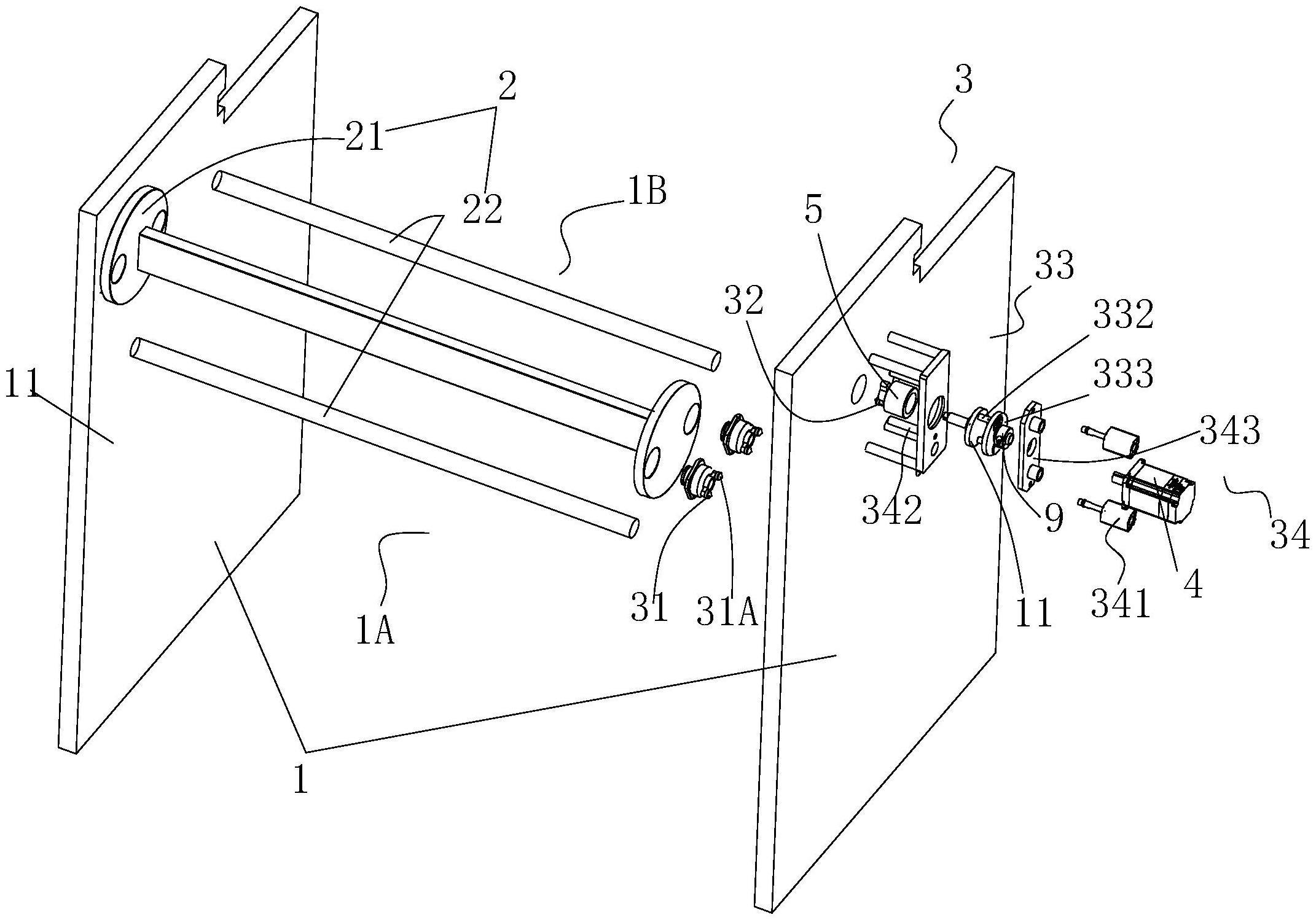
一种生料带分切机用对边机构的制作方法本实用新型涉及生料带加工技术领域,尤其涉及一种生料带分切机用对边机构。背景技术:在对生料带的加工过程中,需要使用到分切机对生料带进行分切处理。而目前的分切机在对......
一种切纸机的制作方法本实用新型涉及一种切纸机。背景技术:切纸机是一种用于处理印刷后期纸张裁切的传统产品,可有效降低生产准备时间、提高裁切精度、降低劳动强度。然而,现有的切纸机需对裁......
一种防静电薄膜分切机的制作方法本实用新型是一种防静电薄膜分切机,属于机械设备技术领域。背景技术:薄膜分切机可将:聚酯薄膜、镀铝薄膜、BOPP LDPE、HDPE、LLDPE、PP等薄膜。也可......
一种自动纠偏的生料带分切机的制作方法1.本实用新型涉及生料带加工设备技术领域,具体为一种自动纠偏的生料带分切机。背景技术:2.生料带是液体管道安装中常用的一种辅助用品,用于管件连接处,增强管道连接......
PVC膜的6大特性PVC膜主要成分为聚氯乙烯,为微黄色半透明状,有光泽。透明度胜于聚乙烯、聚丙烯,差于聚苯乙烯,随助剂用量不同,分为软、硬聚氯乙烯,软制品柔而韧,手感粘,硬制品的......
蓄电池防护网片自动分切机的制作方法本实用新型涉及蓄电池制造领域,特别涉及蓄电池防护网片自动分切机。背景技术:参照图1和图2,蓄电池防护网片的作用是:防止电池生产的后道工序对AGM隔板A1造成损坏......
一种纸张分切机的制作方法本发明涉及纸张分切技术领域,具体为一种纸张分切机。背景技术:纸张分切机是一种对纸张进行分切处理的切割装置,其主要由传送带、旋转刀片、切割刀片、脉冲装置、凸轮、伸......
一种用于胶粘带全自动分切机的传动蜗杆的制作方法本发明涉及一种传递组件,具体涉及一种用于胶粘带全自动分切机的传动蜗杆。背景技术:蜗杆是指具有一个或几个螺旋齿,并且与蜗轮啮合而组成交错轴齿轮副的齿轮;其分度曲面......
一种双切胶带分切机的制作方法本实用新型涉及胶带加工技术领域,具体为一种双切胶带分切机。背景技术:分切机是一种将宽幅纸张、云母带或薄膜分切成多条窄幅材料的机械设备,常用于造纸机械、电线电缆云......
高速分切机的操作简单吗,容易上手吗?高速分切机的操作是否简单易上手,主要取决于分切机的设计、制造质量和操作人员的培训情况。一般来说,现代高速分切机的设计思路都以操作简便、易于维护为重点。所以大部分......