服务热线
180-5003-0233
一种单光纸用复卷设备的制作方法本发明涉及一种复卷设备,尤其是涉及一种单光纸用复卷设备。背景技术:单光纸即是表面不起皱的纸,目前随着市场的发展,在生活用纸中占比越来越大,在日常生活中的用处也越......
一种自动复卷机除尘切断机构的制作方法[0001]本实用新型涉及一种自动复卷机除尘切断机构,属于复卷机技术领域。背景技术:[0002]复卷机,是一种用于纸类、云母带、薄膜专用设备,其用途是将造纸机生......
一种复卷机纸管的制作方法本实用新型属于纸张加工技术领域,具体涉及一种复卷机纸管。背景技术:复卷机是用于纸类、云母带、薄膜专用设备,由卷纸机卷得的纸卷比较松软,内部可能会有破损或断头,两......
一种复卷机的底辊引纸机构的制作方法【技术领域】本实用新型涉及纸张复卷的生产技术,尤其涉及一种复卷机的底辊引纸机构。背景技术:复卷机,是用于将造纸机生产线上生产出的宽幅毛边大卷的原纸卷,进行重新展......
离型膜的用途有哪些离型膜是指薄膜表面能有区分的薄膜,离型膜与特定的材料在有限的条件下接触后不具有粘性,或轻微的粘性。1、氟素离型膜用途和特点:氟素离型膜又称氟塑离型膜,这种离型膜......
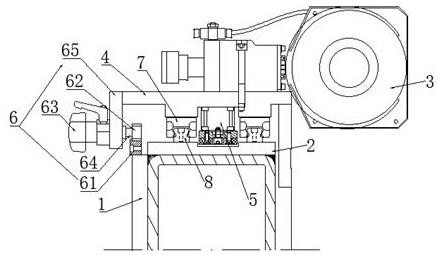
具备压纸辊自动平衡机构的复卷机的制作方法1.本实用新型涉及复卷机技术领域,具体为具备压纸辊自动平衡机构的复卷机。背景技术:2.复卷机一般用于:云母带、纸张、薄膜的复卷分切、起到一切为二的作用,常用于将......
一种复卷机压纸辊调节机构的制作方法本实用新型涉及复卷机技术领域,尤其涉及一种复卷机压纸辊调节机构。背景技术:复卷机一般用于:云母带、纸张、薄膜的复卷分切、起到一切为二的作用,常用于将宽幅的卷材分......
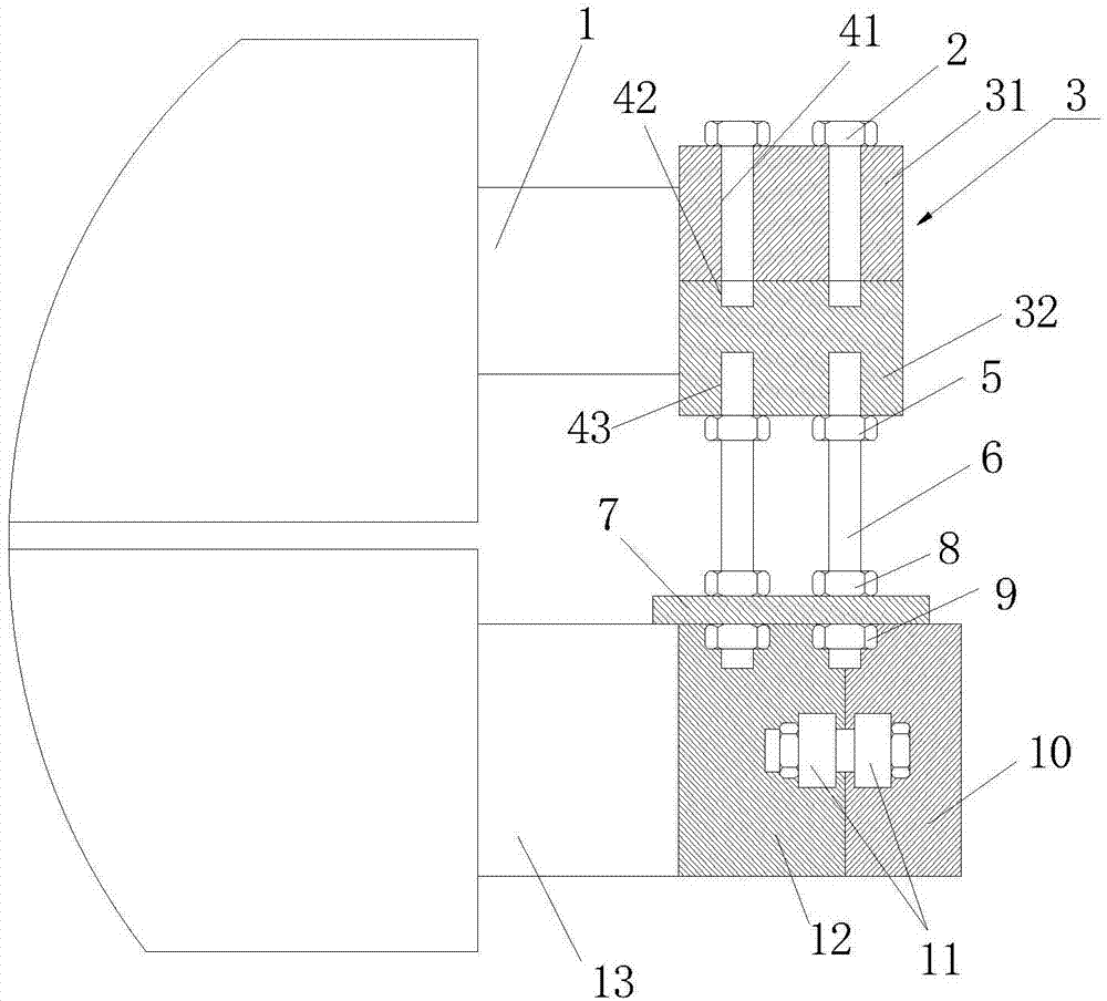
复卷机压纸辊自动平衡装置的制作方法本实用新型属于复卷机技术领域,具体涉及复卷机压纸辊自动平衡装置。背景技术:复卷机,是一种用于纸类、云母带、薄膜专用设备,其用途是将造纸机生产出来的纸卷(称为原纸......
圆筒纸分切机的制作方法本实用新型涉及纸张加工技术领域,具体来说涉及一种圆筒纸分切机。背景技术:现有技术中,对卷筒纸的切割加工都采用复卷机来完成,其工作过程是将前端流水线生成的圆筒纸在......
pvc膜有什么特点pvc膜主要成分为聚氯乙烯,为微黄色半透明状,有光泽。透明度胜于聚乙烯、聚丙烯,差于聚苯乙烯,随助剂用量不同,分为软、硬聚氯乙烯,软制品柔而韧,手感粘,硬制品的......
一种复卷机底刀辊平辊装置的制作方法本实用新型涉及一种复卷机,具体是一种复卷机底刀辊平辊装置。背景技术:复卷机一般用于云母带、纸张、薄膜的复卷分切,起到一切为二的作用,常用于将宽幅的卷材分切,更为......
一种复卷机的圆刀锁紧装置的制作方法1.本实用新型涉及复卷机设备领域,特别是涉及一种复卷机的圆刀锁紧装置。背景技术:2.复卷机的运行是将纸幅由放纸纸卷沿导纸辊引入纵切机构,通过圆刀进行纵切。圆刀固......
一种造纸机械的复卷机除尘装置的制作方法1.本实用新型涉及机械技术领域,具体为一种造纸机械的复卷机除尘装置。背景技术:2.复卷机一般用于:云母带、纸张、薄膜的复卷分切,起到一切为二的作用,常用于将宽幅......
分切机在金属板中的具体应用在金属板材加工业中,分切机的应用主要是为了将大卷的或大尺寸的金属板材精确地切割成适合下游加工或最终使用的小尺寸板料。具体应用细节包括:定尺裁剪分切机可以对不锈钢......
分切机的应用领域分切机是一种广泛应用于各种材料切割作业的设备,其应用领域多样且遍布多个行业。主要应用包括但不限于以下几个方面:造纸与印刷业:切割各类纸张、卡纸、纸板等,适用于印......