服务热线
180-5003-0233
箱纸板用大宽幅高速下引纸复卷机的制作方法本发明属于纸箱生产技术领域,具体涉及箱纸板用大宽幅高速下引纸复卷机。背景技术:复卷机一般用于:云母带、纸张、薄膜的复卷分切、起到一切为二的作用,常用于将宽幅的卷......
一种铜箔分切防褶皱结构的制作方法1.本实用新型铜箔加工生产技术领域,具体为一种铜箔分切防褶皱结构。背景技术:2.铜箔是一种阴质性电解材料,沉淀于电路板基底层上的一层薄的、连续的金属箔,它作为p......
一种铝卷分切设备的制作方法[0001]本实用新型涉及铝卷带分切加工设备领域,特别是一种铝卷分切设备。背景技术:[0002]铝带纵剪是顺着铝带的长度方向进行裁剪。由于铝带存在波浪或者同板差......
碳带分条机的制作方法本明涉及一种分条机,特别涉及一种碳带分条机,用于超薄型碳带的分切。...
PVC膜的8大优势PVC膜主要成分为聚氯乙烯,为微黄色半透明状,有光泽。透明度胜于聚乙烯、聚丙烯,差于聚苯乙烯,随助剂用量不同,分为软、硬聚氯乙烯,软制品柔而韧,手感粘,硬制品的......
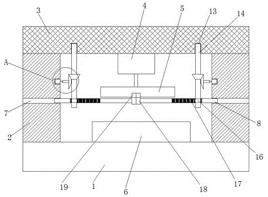
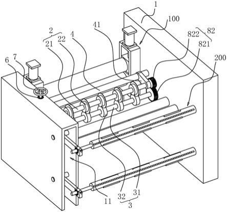
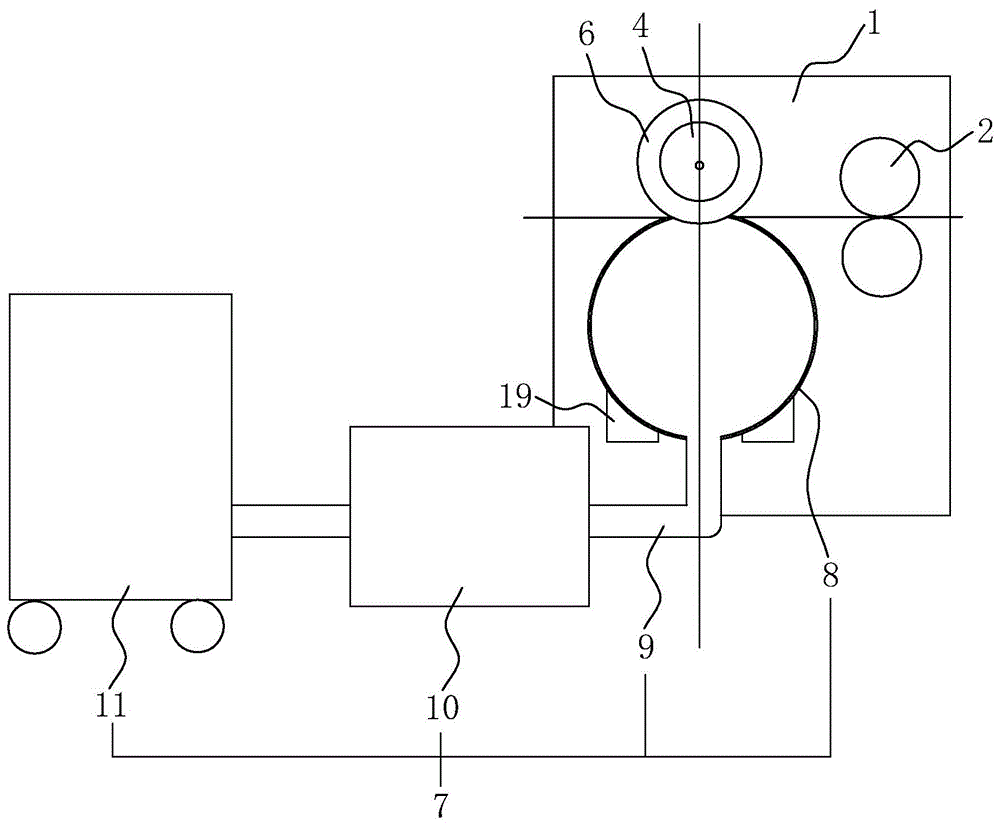
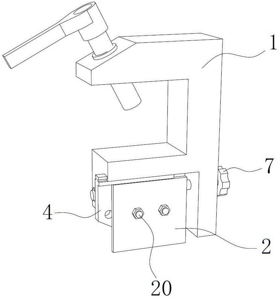
一种多刀橡胶分条机的制作方法本实用新型涉及橡胶加工领域,具体是指一种多刀橡胶分条机。背景技术:在橡胶制造领域中,在橡胶硫化成型后,需要进行切割分条。目前的橡胶生产线上,对胶料实施切割动作一......
一种分条装置的制作方法本实用新型涉及分条装置技术领域,具体为一种分条装置。背景技术:分条装置用来方便对材料进行分条剪切处理,此装置安装在分条机上,主要用来对材料进行切割,分条机是将带......
一种用于PET保护膜生产的分切机裁切装置的制作方法技术领域1.本技术涉及pet保护膜生产设备的领域,尤其是涉及一种用于pet保护膜生产的分切机裁切装置。背景技术:2.目前,在pet保护膜的生产过程中,为了对生产......
高精度触控玻璃SENSOR面用保护膜分切装置的制作方法本实用新型涉及切割设备技术领域,尤其涉及一种高精度触控玻璃SENSOR面用保护膜分切装置。背景技术:现有的IPHONE、IPAD等电子产品的触摸屏在制程加工时,......
买透明离型膜,这三点你需要注意离型膜是指薄膜表面能有区分的薄膜,离型膜与特定的材料在有限的条件下接触后不具有粘性,或轻微的粘性。1、易粘性:优质的贴膜可以在保证屏幕表面干净的前提下,自动粘贴......
pvc膜的4个优点PVC膜主要成分为聚氯乙烯,为微黄色半透明状,有光泽。透明度胜于聚乙烯、聚丙烯,差于聚苯乙烯,随助剂用量不同,分为软、硬聚氯乙烯,软制品柔而韧,手感粘,硬制品的......
一种锂电池膜分切机专用刀具的制作方法本实用新型涉及分切机技术领域,具体涉及一种锂电池膜分切机专用刀具。背景技术:锂电池的结构中,隔膜是关键的内层组件之一。隔膜的性能决定了电池的界面结构、内阻等,直......
一种便于除尘的分条机的制作方法本实用新型涉及分条机的技术领域,尤其是涉及一种便于除尘的分条机。背景技术:分条机的作用是将钢带根据实际需要切成不同宽度的钢条,便于对钢条进行后续加工。分切机一般......
一种分条机的制作方法本实用新型涉及一种分条机,主要用于标签纸的分条。背景技术:标签纸生产完成之后,需要切割分条时,一般采用分条机进行分条。在现有技术中,一般在分切辊上设置多把环形分......
2023年分切机行业前景分析PPT下载市场需求与趋势方面,随着国家对食品质量安全的要求不断提高,分切机行业受益人群持续增加,市场需求迅速增长。2019年,我国分切机市场规模达到了51亿人民币,预计到......