服务热线
180-5003-0233
自动退卷式伺服分切机的制作方法本实用新型涉及一种收银纸分切机,具体地说是一种自动退卷式伺服分切机,属于收银纸分切机领域。背景技术:普通分切机所使用的动力为三相异步电动机。分切机的工作方式为将......
一种新型收银纸分切机的制作方法1.本实用新型涉及分切机技术领域,具体为一种新型收银纸分切机。背景技术:2.收银纸的加工是采用收银纸分切机将大幅的原纸分切成一定长度的小卷收银纸的过程,收银纸分......
一种铝箔分切装置的制作方法1.本申请涉及铝箔生产设备技术领域,特别涉及一种铝箔分切装置。背景技术:2.铝箔分切机是一种用于铝箔深加工后后道裁切工序的机器,是将印刷好的铝箔纵切成用户所需宽......
一种双剪切系统分切机的制作方法1.本发明涉及分切机技术领域,尤其涉及一种双剪切系统分切机。背景技术:2.目前,铝箔用分切机专利比较多,但是都是单剪切系统分切机,双剪切系统的分切机目前没有,以......
烫印,Hot Stamping英语短句,例句大全烫印,Hot Stamping1)Hot Stamping烫印1.What’s More, Based On Silk-Screen Printing, Hot......
一种铝箔分切机用多角度碎屑回收装置1.本实用新型涉及铝箔分切机技术领域,具体为一种铝箔分切机用多角度碎屑回收装置。背景技术:2.铝箔是一种用金属铝直接压延成薄片的烫印材料,其烫印效果与纯银箔烫印......
一种软态宽幅铝箔分切装置的制作方法1.本实用新型涉及铝箔分切装置的技术领域,具体的说是一种软态宽幅铝箔分切装置。背景技术:2.铝箔分切装置是一种用于铝箔裁切工序的装置,是将加工完成的宽幅铝箔纵切......
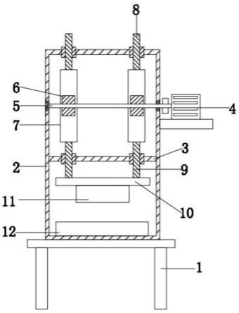
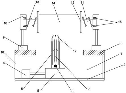
铝带分切机的制作方法专利名称:铝带分切机的制作方法技术领域:本实用新型涉及一种能将带状铝板材分切成所需宽度的铝带分切机。背景技术:目前,广泛使用的铝带分切机主要包括:机架,机架中设......
一种复合内衬纸分切机高效除尘装置的制作方法本实用新型涉及内衬纸加工生产设备技术领域,具体涉及一种复合内衬纸分切机高效除尘装置。背景技术:内衬纸是一种用于香烟包装的包装用纸,在实际生产过程中,需要将大块的......
无纺布,Non-Woven Fabric英语短句,例句大全无纺布,Non-Woven Fabric1)Non-Woven Fabric无纺布1.Study On Behavior Of Some Kinds Of Sp......
一种铝箔纸分切机的压花装置的制作方法本实用新型涉及铝箔包装纸生产技术领域,具体涉及一种铝箔纸分切机的压花装置。背景技术:铝箔纸有两种,一种表面光滑,另一种表面有压花,即压制有凸凹不平的装饰花纹。目......
一种用于铝板带箔分切机的切刀表面铝屑清理装置的制作方法本实用新型涉及清理装置技术领域,具体为一种用于铝板带箔分切机的切刀表面铝屑清理装置。背景技术:铝板带箔是指以铝为主要原料并添加箔制成的带有箔的铝板,分切机是一种......
一种铝箔分切机的制作方法本实用新型使用方便,能通过调整分离装置还能实现铝箔分切后先调整再分离,避免分切出不合格的产品。...
铜箔分切机收卷压辊装置的制作方法本实用新型涉及分切机技术领域,尤其涉及铜箔分切机收卷压辊装置。背景技术:铜箔多卷分切机一般由开卷、导向辊再向切刀轴进行分条再收卷的过程,通过精密张力控制进行控制......
塑料薄膜,Plastic Film英语短句,例句大全塑料薄膜,Plastic Film1)Plastic Film塑料薄膜1.The Use Of Plastic Film To Prevent The Crac......