服务热线
180-5003-0233
一种刀头间距调节方便的胶带分切机的制作方法1.本实用新型涉及胶带分切机领域,更具体地说,涉及一种刀头间距调节方便的胶带分切机。背景技术:2.胶带机是用于生产胶带或者类似胶带产品并将其分切成多条窄幅材料的......
一种避免胶带分切过程中不平整的胶带分切机装置的制作方法1.本实用新型涉及胶带分切技术领域,具体为一种避免胶带分切过程中不平整的胶带分切机装置。背景技术:2.胶带分切机是一种将宽幅胶带母卷分切、复卷成多条窄幅粘胶带卷......
一种具有接料功能的生料带分卷机的制作方法1.本实用新型涉及生料带生产技术领域,尤其涉及一种具有接料功能的生料带分卷机。背景技术:2.生料带是水暖安装中常用的一种辅助用品,用于管件连接处,增强管道连接处......
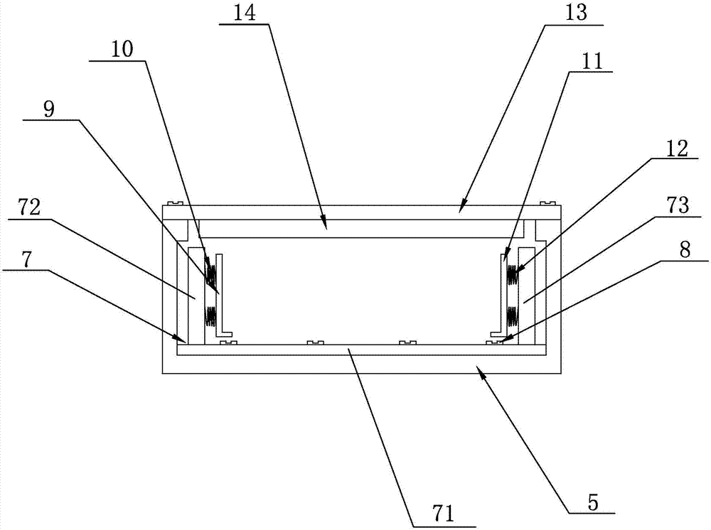
一种分卷机的制作方法1.本实用新型属于网袋编织袋加工领域,具体涉及一种分卷机。背景技术:2.网袋编织袋出厂时为双层的编织袋,在实际使用时需要将双层的网袋编织袋分卷成单层的两卷网袋编......
切割机,Cutting Machine英语短句,例句大全切割机,Cutting Machine1)Cutting Machine切割机1.Control System For Cutting Machine In N......
pp膜的特点及应用PP膜是聚丙烯膜,由丙烯聚合而制得的一种热塑性树脂。通常较厚、较韧,抗拉强度较高,可用于大棚膜、承重包装袋等。1、透明、质轻、耐热性能好;2、熔点164~-17......
一种封箱胶分切机的制作方法本实用新型涉及机械加工技术领域,更具体地说,它涉及一种包装产品的制造设备,尤其涉及一种封箱胶分切机。背景技术:随着生产力的进步,市场上的商品种类越来越多样化。在......
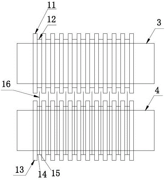
一种胶带分切机的制作方法本实用新型涉及分切机,尤其涉及一种胶带分切机。背景技术:胶带分切机是一种将宽幅胶带分切成多条窄胶带的机械设备。专利号为CN201520894790.2的实用新型......
透明薄膜分切机压轮装置的制作方法专利名称:透明薄膜分切机压轮装置的制作方法技术领域:,本实用新型涉及一种透明薄膜分切机压轮装置,特别涉及用于原材料为PE、OPP、BOPP等相关透明有胶和无胶薄......
一种分切机倒挂平移式收卷结构的制作方法本实用新型涉及分切机技术领域,特别涉及一种分切机倒挂平移式收卷结构。背景技术:目前传统的分切机通常是通过液压翻转的方式进行上下料操作。比如中国专利公开号CN27......
一种PE缠绕膜生产用分切装置的制作方法本实用新型涉及pe缠绕膜生产技术领域,具体为一种pe缠绕膜生产用分切装置。背景技术:pe缠绕膜是工业用装膜制品,具有拉伸强度高,延伸率大、自粘性好,透明度高等物......
一种分切机的动力机构的制作方法本实用新型涉及一种分切机的动力机构。背景技术:为了提升加工效率,市面一些片材(例如生料带)一般先加工成较宽的片材,之后,通过分切机分切成较窄的片材。如申请公布号......
一种聚四氟乙烯薄膜窄带分切机的制作方法本实用新型涉及聚四氟乙烯薄膜分切领域,尤其涉及一种聚四氟乙烯薄膜窄带分切机。背景技术:聚四氟乙烯薄生料机械性质较软,特别是其较小的横向抗拉强度,分切较薄的聚四氟......
卷式热敏票分切机纠偏装置的制作方法本实用新型属于热敏票生产设备技术领域,尤其是涉及一种卷式热敏票分切机纠偏装置。背景技术:在热敏票分切的工序中,为了保证分切后的热敏票宽度一致,需要对热敏票在传输......
胶带分切机的制作方法本实用新型涉及胶带加工生产的技术领域,特别涉及一种胶带分切机。背景技术:胶带分切机是一种将很宽的胶带分切成较窄的胶带的分切机,公告号为cn207536909u的......