服务热线
180-5003-0233
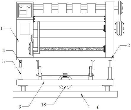
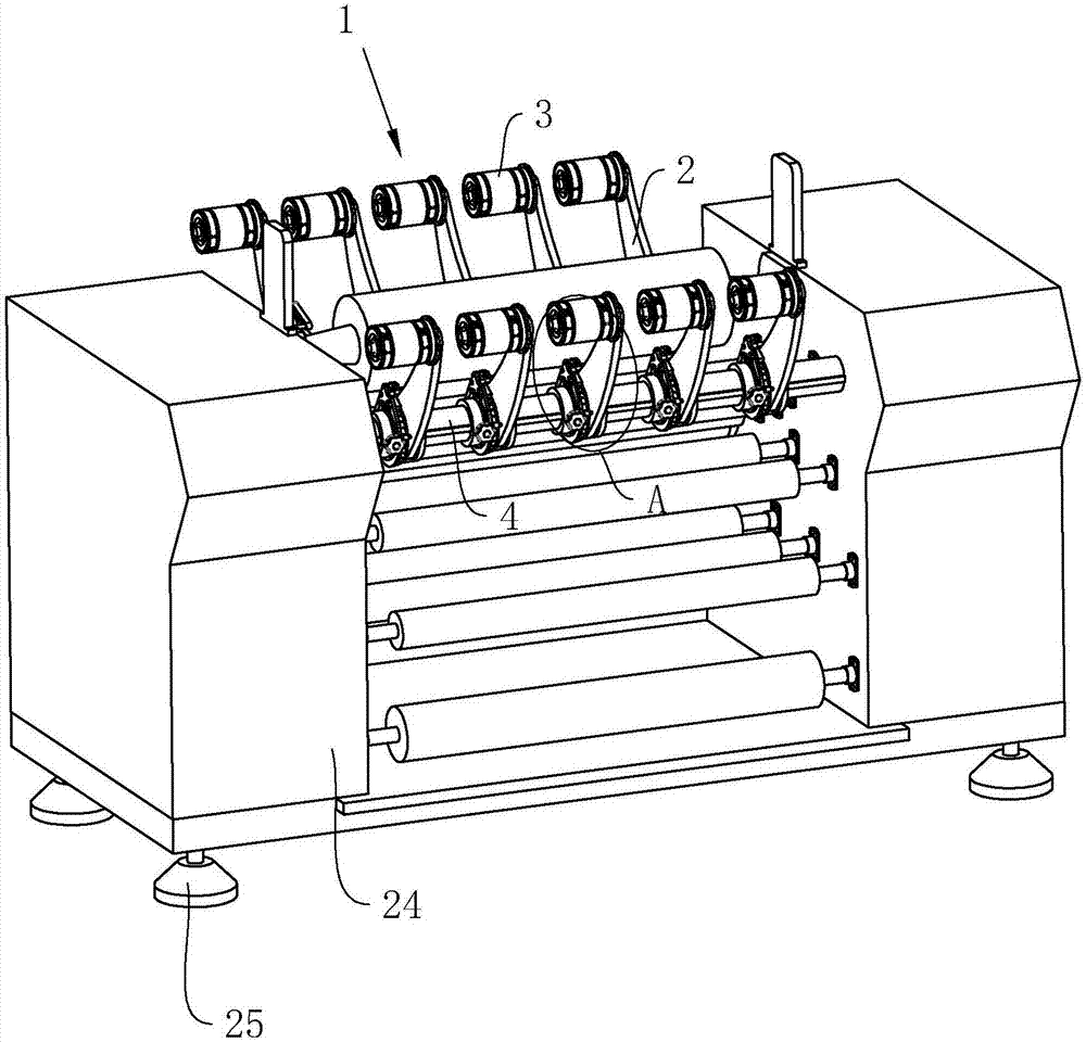
一种飞翼轮生产用高效分切设备的制作方法1.本实用新型涉及飞翼轮生产设备技术领域,更具体地说,本实用新型涉及一种飞翼轮生产用高效分切设备。背景技术:2.飞翼轮又叫飞翼轴辊、拉丝轮,是不织布研磨产品,其......
3招教你正确选择条码碳带碳带通常也称为色带,条码碳带是条码标签打印机打印标签必备的耗材,通俗的名称还有叫条码碳纸、条码带、条码墨带等。条码碳带热转印的主要特点是迅速、便捷,能及时为各种......
锂电池隔膜分切机的收卷机构的制作方法本实用新型涉及分切机技术领域,特别涉及锂电池隔膜分切机的收卷机构。背景技术:随着新能源行业快速发展,锂电池隔膜和汽车动力电池隔膜生产需求大。锂电池需要的隔膜依电......
一种锂电池加工用新型正极分切机的制作方法本实用新型涉及锂电池加工设备技术领域,尤其涉及一种锂电池加工用新型正极分切机。...
一种带有压辊结构的牛皮纸复卷机的制作方法一种带有压辊结构的牛皮纸复卷机的制作方法1.本实用新型涉及牛皮纸复卷机技术领域,尤其涉及一种带有压辊结构的牛皮纸复卷机。背景技术:2.牛皮纸复卷机用于将原牛皮纸......
一种辊压分切数控集成一体机的制作方法本实用新型涉及用于锂电池极片制作的辊压机和分切机技术领域,尤其涉及一种辊压分切数控集成一体机。...
如何把条码打印机碳带发挥最好的作用条码碳带是必需会用到的打印耗材,碳带使其出色,好碳带让标签更出色,今天为你介绍如何把条码打印机碳带发挥最好的作用。1.在选购上选对适合打印自己标签纸的碳带蜡基碳......
高效精准的材料分切解决方案分切机(Slitting Machine)是一种用于对卷材材料进行切割的机器设备,广泛应用于纸张、塑料薄膜、金属箔等行业,以实现材料的定宽切割,提高生产效率和材......
一种新式铜箔分切机用切刀使用方法及装置与流程本发明涉及一种电解铜箔分切系统,具体是指一种新式铜箔分切机用切刀使用方法及装置。...
一种复卷机卷径的计算方法与流程本发明属于复卷机领域,尤其涉及一种复卷机卷径的计算方法。...
一种具有除尘功能的锂电池分切机的制作方法一种具有除尘功能的锂电池分切机的制作方法本发明涉及锂电池分切机设备领域,具体是一种具有除尘功能的锂电池分切机。背景技术:“锂电池”,是一类由锂金属或锂合金为负极......
条码碳带在使用过程中可能出现哪些问题?1、条码打印机打印中出现条码碳带跑偏主要原因是压纸弹簧不均及限纸器没有按表签宽度调整造成的而并不是条码碳带分切质量不好造成的。2、打印不清晰,质量差3、打印头温......
立式分切机的优点有哪些立式分切机是为塑料薄膜、无纺布、塑料制袋、造纸等工厂生产的分切设备。立式分切机具有光电跟踪、自动纠偏、张力PLC控制、收卷计数的优良性能,操作简便、运行稳定可靠......
一种锂电池电极片的全自动均匀分切机的制作方法一种锂电池电极片的全自动均匀分切机的制作方法1.本实用新型涉及分切机技术领域,具体为一种锂电池电极片的全自动均匀分切机。背景技术:2.锂离子电池是性能卓越的新一......
复卷机纸幅张力控制装置的制作方法本实用新型涉及造纸机械中纸幅卷绕的装置,特别是复卷机纸幅卷绕的控制装置。...