服务热线
180-5003-0233

本实用新型涉及分切机技术领域,特别涉及锂电池隔膜分切机的收卷机构。
背景技术:
随着新能源行业快速发展,锂电池隔膜和汽车动力电池隔膜生产需求大。锂电池需要的隔膜依电池规格分切相应的宽度,分切的隔膜有干法膜、湿发膜、陶瓷膜,分切要求速度快,侧面整齐,收卷张力小,隔膜分切机是生产锂电池不可缺少的设备。
锂电池隔膜分切机的收卷机构是将分切后的锂电池隔膜进行收卷的机构。收卷机构包括收卷臂、固定于收卷臂上的收卷轴,收卷轴将分切后一定宽度的锂电池隔膜进行周向收卷。
但现有技术中收卷臂是固定的,收卷轴与待收的锂电池隔膜之间存在一定的距离,使得收卷轴上的锂电池隔膜不够紧实,比较杂乱,因此有改进的空间。
技术实现要素:
本实用新型的目的是提供锂电池隔膜分切机的收卷机构,使得收卷臂与将要收卷的锂电池隔膜抵触,进而使得收卷轴上的锂电池隔膜缠绕整齐。
锂电池隔膜分切机的收卷机构,包括收卷机架、设置于收卷机架上的收卷臂、设置于收卷臂上的收卷轴,所述收卷机架上设置有用于安装收卷臂的收卷主辊,所述收卷臂远离收卷轴的一端一体设置有穿设于收卷主辊上且可周向旋转的固定环,所述收卷主辊上套设有与固定环抵触且用于限制收卷臂旋转范围的限位机构。
采用上述方案,可旋转固定环的设置,使得与固定环一体设置的收卷臂能够调节,进而可以改变收卷臂上收卷轴与将要收卷的锂电池隔膜之间的距离,实现收卷轴与待收的锂电池隔膜抵触,使得收卷轴上的锂电池隔膜缠绕紧实、整齐;限位机构对收卷臂的旋转范围进行合理限制,使得收卷臂能够快速调节到所需的位置,提高收卷机构的使用效果。
作为优选,所述收卷臂远离收卷轴的一侧设置有第一限位柱,所述限位机构上凸出设置有与第一限位柱互相配合以实现限制收卷臂旋转范围的凸块。
采用上述方案,第一限位柱、凸块的互相配合,实现对收卷臂最大调节范围的限制,结构简单,易于实现。
作为优选,所述限位机构包括套设于收卷主辊上且与固定环抵触的棘轮、套设于收卷主辊上且可周向旋转并与棘轮远离固定环一侧抵触的连接盘、滑移设置于连接盘上且与棘轮互相配合的棘爪、螺纹固定于连接盘上用于限制收卷臂旋转范围的第二限位柱。
采用上述方案,通过手掰棘爪,使得棘爪与棘轮发生相对移动,进而使得连接盘发生一定角度的旋转,使得第二限位柱发生相对位置的改变,进而调节收卷臂的旋转范围,调节灵活。
作为优选,所述收卷臂远离棘轮的一侧设置有第三限位柱,所述第三限位柱上套设有连接于第二限位柱并用于限制收卷臂旋转范围的连接带。
采用上述方案,连接带、第二限位柱、第三限位柱配合连接,旋转臂的一端通过连接带连接于第二限位柱,进而连接带的设置进一步对旋转臂的旋转范围进行限制,使得锂电池隔膜分切机在收卷时,根据收卷轴上收卷的数量能够发生小范围的调节,使用灵活。
作为优选,所述连接盘上固定有连接柱,所述连接盘靠近棘轮的一端设置有拉簧,所述拉簧的一端固定于棘爪上,所述拉簧的另一端套设于连接柱上。
采用上述方案,通过施加作用力,使得拉簧形变,拉簧带动棘爪升起一定的高度,进而实现棘爪沿着棘轮发生相对位置的改变,进而达到调节第二限位柱的位置,操作方便。
作为优选,所述连接盘远离棘轮的一侧设置有穿设于收卷主辊上且用于限制连接盘水平方向滑移的第一限位盘,所述第一限位盘上螺纹穿设有压紧于收卷主辊以实现对连接盘进行位置调节的第一调节柱。
采用上述方案,第一限位盘、第一调节柱的设置,使得套设于收卷主辊的收卷臂的水平位置能够根据实际情况,进行一定水平位置的调节,提高收卷机构的使用效果。
作为优选,所述收卷臂远离棘轮的一侧设置有穿设于收卷主辊上且用于限制收卷臂水平方向滑移的第二限位盘,所述第二限位盘上螺纹穿设有压紧于收卷主辊以实现对收卷臂进行位置调节的第二调节柱。
采用上述方案,第二限位盘和第二调节柱与第一限位盘和第一调节柱的互相配合,使得收卷臂的水平位置更加灵活的调节,进而提高收卷机构的使用效果。
作为优选,所述固定环的两侧分别设置有套设于收卷主辊上且与固定环抵触的垫片。
采用上述方案,垫片的设置,使得固定环的两侧面不直接与第一限位盘和第二限位盘抵触,进而减少第一限位盘、第二限位盘的磨损,提高使用寿命。
作为优选,所述垫片与固定环抵触一侧凸出设置有若干与固定环抵触的凸出半球。
采用上述方案,凸出半球的设置,减少固定环的两侧面与两侧垫片的接触面积,进而减少固定环的磨损,同时方便对收卷臂进行调节,实用性强。
作为优选,所述第一限位盘与连接盘之间设置有套设于收卷主辊上的卡环。
采用上述方案,卡环的设置,使得第一限位盘与连接盘不直接接触,减少由于连接盘的转动对限位盘的磨损,提高限位盘的使用寿命。
综上所述,本实用新型具有以下有益效果:棘轮、棘爪的配合,使得旋转臂的调节更加灵活,使得收卷臂能够调节收卷轴与将要收卷的锂电池隔膜之间的距离,以使得收卷轴上的锂电池隔膜缠绕紧实、整齐。
附图说明
图1为锂电池隔膜分切机的收卷机构的结构示意图一;
图2为锂电池隔膜分切机的收卷机构的结构示意图二;
图3为图2中A部的放大示意图;
图4为收卷机构的爆炸示意图一;
图5为收卷机构的爆炸示意图二。
图中:1、收卷机构;2、收卷臂;3、收卷轴;4、收卷主辊;5、固定环;6、限位机构;7、第一限位柱;8、凸块;9、棘轮;10、连接盘;11、棘爪;12、第二限位柱;13、第三限位柱;14、连接带;15、拉簧;16、连接柱;17、第一限位盘;18、第一调节柱;19、第二限位盘;20、第二调节柱;21、垫片;22、凸出半球;23、卡环;24、固定台;25、支脚。
具体实施方式
以下结合附图对本实用新型作进一步详细说明。
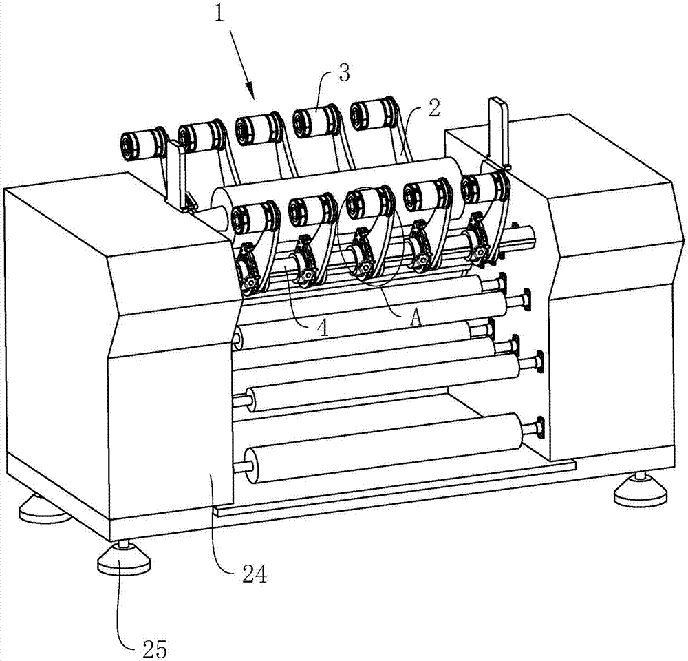
如图1、2所示,本实施例公开的锂电池隔膜分切机的收卷机构,包括用于安装收卷机构1的固定台24、用于支撑固定台24的支脚25、固定于固定台24上的收卷主辊4、套设于收卷主辊4上的收卷臂2、固定于收卷臂2远离收卷主辊4一端的收卷轴3。
如图3、4所示,收卷臂2远离收卷轴3的一端一体设置有穿设于收卷主辊4上的固定环5,且固定环5的一侧设置有限制收卷臂2旋转范围的限位机构6,且限位机构6穿设于收卷主辊4上。限位机构6包括与固定环5抵触连接的棘轮9、与棘轮9抵触连接的连接盘10、与棘轮9互相配合的棘爪11、螺纹固定于连接盘10上用于限制收卷臂2旋转范围的第二限位柱12。棘轮9与连接盘10通过螺栓连接,且穿设于收卷主辊4上的连接盘10能够发生一定角度的旋转。
如图4、5所示,收卷臂2远离棘轮9的一侧面固定有第三连接柱16,且第三连接柱16垂直于收卷臂2的一侧面。第三连接柱16上套设有连接带14,且连接带14的另一端套设于第二连接柱16上。连接盘10靠近棘爪11的一侧固定有连接柱16,拉簧15的一端套设于连接柱16上,拉簧15的另一端连接于棘爪11上。
如图4、5所示,收卷臂2远离收卷轴3的一侧固定有第一限位柱7,且第一限位柱7垂直于收卷臂2的一侧面,连接盘10靠近收卷臂2的一侧凸出设置有与第一限位柱7互相配合的凸块8,且凸块8垂直于连接盘10的一侧面。
如图3、4所示,收卷臂2靠近棘轮9的一侧设置有第一限位盘17,且第一限位盘17穿设于收卷主辊4上,第一限位盘17上卡接有用于调节第一限位盘17水平位置的第一调节柱18。第一限位盘17与连接盘10之间设置有套设于收卷主辊4上的卡环23。收卷臂2远离棘轮9的一侧设置有第二限位盘19,且第二限位盘19穿设于收卷主辊4上,第二限位盘19上卡接有用于调节第二限位盘19水平位置的第二调节柱20。第一限位盘17和第一调节柱18与第二限位盘19和第二调节柱20互相配合对收卷臂2的水平位置进行调节。
如图3-5所示,收卷臂2的两侧分别安装有套设于收卷主辊4上的垫片21,且垫片21与收卷臂2远离收卷轴3的一端抵触。垫片21与收卷臂2抵触的一侧凸出设置有若干凸出半球22。
本具体实施例仅仅是对本实用新型的解释,其并不是对本实用新型的限制,本领域技术人员在阅读完本说明书后可以根据需要对本实施例做出没有创造性贡献的修改,但只要在本实用新型的权利要求范围内都受到专利法的保护。

技术特征:
1.锂电池隔膜分切机的收卷机构,包括收卷机架、设置于收卷机架上的收卷臂(2)、设置于收卷臂(2)上的收卷轴(3),其特征是:所述收卷机架上设置有用于安装收卷臂(2)的收卷主辊(4),所述收卷臂(2)远离收卷轴(3)的一端一体设置有穿设于收卷主辊(4)上且可周向旋转的固定环(5),所述收卷主辊(4)上套设有与固定环(5)抵触且用于限制收卷臂(2)旋转范围的限位机构(6)。
2.根据权利要求1所述的锂电池隔膜分切机的收卷机构,其特征是:所述收卷臂(2)远离收卷轴(3)的一侧设置有第一限位柱(7),所述限位机构(6)上凸出设置有与第一限位柱(7)互相配合以实现限制收卷臂(2)旋转范围的凸块(8)。
3.根据权利要求2所述的锂电池隔膜分切机的收卷机构,其特征是:所述限位机构(6)包括套设于收卷主辊(4)上且与固定环(5)抵触的棘轮(9)、套设于收卷主辊(4)上且可周向旋转并与棘轮(9)远离固定环(5)一侧抵触的连接盘(10)、滑移设置于连接盘(10)上且与棘轮(9)互相配合的棘爪(11)、螺纹固定于连接盘(10)上用于限制收卷臂(2)旋转范围的第二限位柱(12)。
4.根据权利要求3所述的锂电池隔膜分切机的收卷机构,其特征是:所述收卷臂(2)远离棘轮(9)的一侧设置有第三限位柱(13),所述第三限位柱(13)上套设有连接于第二限位柱(12)并用于限制收卷臂(2)旋转范围的连接带(14)。
5.根据权利要求3所述的锂电池隔膜分切机的收卷机构,其特征是:所述连接盘(10)上固定有连接柱(16),所述连接盘(10)靠近棘轮(9)的一端设置有拉簧(15),所述拉簧(15)的一端固定于棘爪(11)上,所述拉簧(15)的另一端套设于连接柱(16)上。
6.根据权利要求3所述的锂电池隔膜分切机的收卷机构,其特征是:所述连接盘(10)远离棘轮(9)的一侧设置有穿设于收卷主辊(4)上且用于限制连接盘(10)水平方向滑移的第一限位盘(17),所述第一限位盘(17)上螺纹穿设有压紧于收卷主辊(4)以实现对连接盘(10)进行位置调节的第一调节柱(18)。
7.根据权利要求3所述的锂电池隔膜分切机的收卷机构,其特征是:所述收卷臂(2)远离棘轮(9)的一侧设置有穿设于收卷主辊(4)上且用于限制收卷臂(2)水平方向滑移的第二限位盘(19),所述第二限位盘(19)上螺纹穿设有压紧于收卷主辊(4)以实现对收卷臂(2)进行位置调节的第二调节柱(20)。
8.根据权利要求1所述的锂电池隔膜分切机的收卷机构,其特征是:所述固定环(5)的两侧分别设置有套设于收卷主辊(4)上且与固定环(5)抵触的垫片(21)。
9.根据权利要求8所述的锂电池隔膜分切机的收卷机构,其特征是:所述垫片(21)与固定环(5)抵触一侧凸出设置有若干与固定环(5)抵触的凸出半球(22)。
10.根据权利要求6所述的锂电池隔膜分切机的收卷机构,其特征是:所述第一限位盘(17)与连接盘(10)之间设置有套设于收卷主辊(4)上的卡环(23)。
技术总结
本实用新型公开了锂电池隔膜分切机的收卷机构,涉及分切机技术领域,解决了收卷轴与待收的锂电池隔膜之间存在一定的距离,使得收卷轴上的锂电池隔膜不够紧实,比较杂乱的问题,其技术方案要点是:收卷机架上设置有用于安装收卷臂的收卷主辊,收卷臂远离收卷轴的一端一体设置有穿设于收卷主辊上且可周向旋转的固定环,收卷主辊上套设有与固定环抵触且用于限制收卷臂旋转范围的限位机构,本实用新型的锂电池隔膜分切机的收卷机构,使得收卷臂与将要收卷的锂电池隔膜抵触,进而使得收卷轴上的锂电池隔膜缠绕整齐。
技术研发人员:吴清国;杨建青;汪晓俊;李梓铭
受保护的技术使用者:宁波中科达新材料有限公司
技术研发日:2017.10.21
技术公布日:2018.05.29