服务热线
180-5003-0233
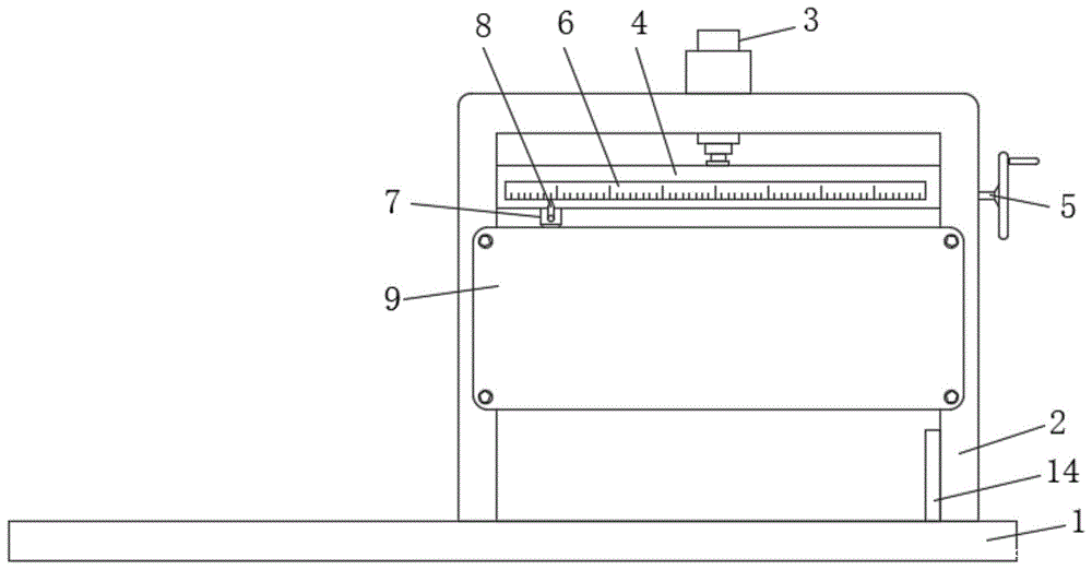
薄膜分切机切刀装置的制作方法薄膜分切机切刀装置的制作方法本实用新型属于塑料薄膜加工机械技术领域,特别是涉及一种薄膜分切机切刀装置。背景技术:薄膜在包装及覆膜层领域应用广泛,给生产、生活带来......
去除不干胶标签纸,记住这8点就够了在日常生活、工作环境中,有一个东西不管在哪里都可以看得到,它身板小,但是却拥有了十分大的作用,它在这些事物当中就相当于人的身份证一样,它将“身份”给予了这些事物......
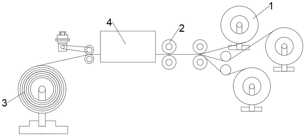
锂电池涂布分切机的制作方法锂电池涂布分切机的制作方法本实用新型涉及一种分切机,尤其涉及一种锂电池涂布分切机。背景技术:锂电池是一类由锂金属或锂合金为负极材料、使用非水电解质溶液的电池。在......
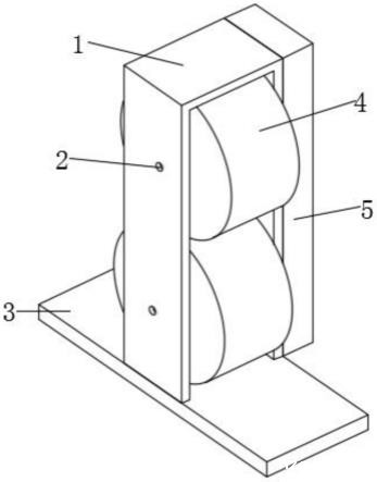
一种锂电池隔膜分切机的制作方法1.本实用新型涉及隔膜分切领域,特别涉及一种锂电池隔膜分切机。背景技术:2.锂电池是一类由锂金属或锂合金为正/负极材料、使用非水电解质溶液的电池。在锂电池的结构......
一种分切机用光电传感器的制作方法本实用新型涉及分切机配件技术领域,尤其涉及一种分切机用光电传感器。背景技术:光电传感器作为一种控制装置使用范围较广,光电传感器是将光信号转换为电信号的一种器件;......
一种复卷机的压纸辊控制系统的制作方法【专利摘要】本实用新型公开了一种复卷机的压纸辊控制系统,包括相连接的控制器、执行器和压纸辊,所述控制系统还包括比例阀和压力变送器,压力变送器一端与压纸辊连接、另......
如何选购碳带概述碳带是打印时非常重要的材料,就是在一面涂上蜡基、树脂基或混合油墨的一种聚脂薄膜,在没有油墨的一面涂上润滑剂以防止打印头的磨损,碳带上的油墨在条码打印机打印头......
高效精准的材料分条解决方案在现代制造业中,材料的分条处理是生产流程中的重要环节之一。为了提高生产效率、降低人工成本并保证产品质量,分条机应运而生。分条机通过引入先进的自动化技术,实现了材......
锂电十大关键设备之五:分切设备分切又称分条,指对涂布完成的较大幅宽的膜片进行纵向分切,将其一分为多,并收卷成一定宽度规格的上、下单卷的过程。分切产品主要受到切刀质量、切刀角度以及膜片张力的影......
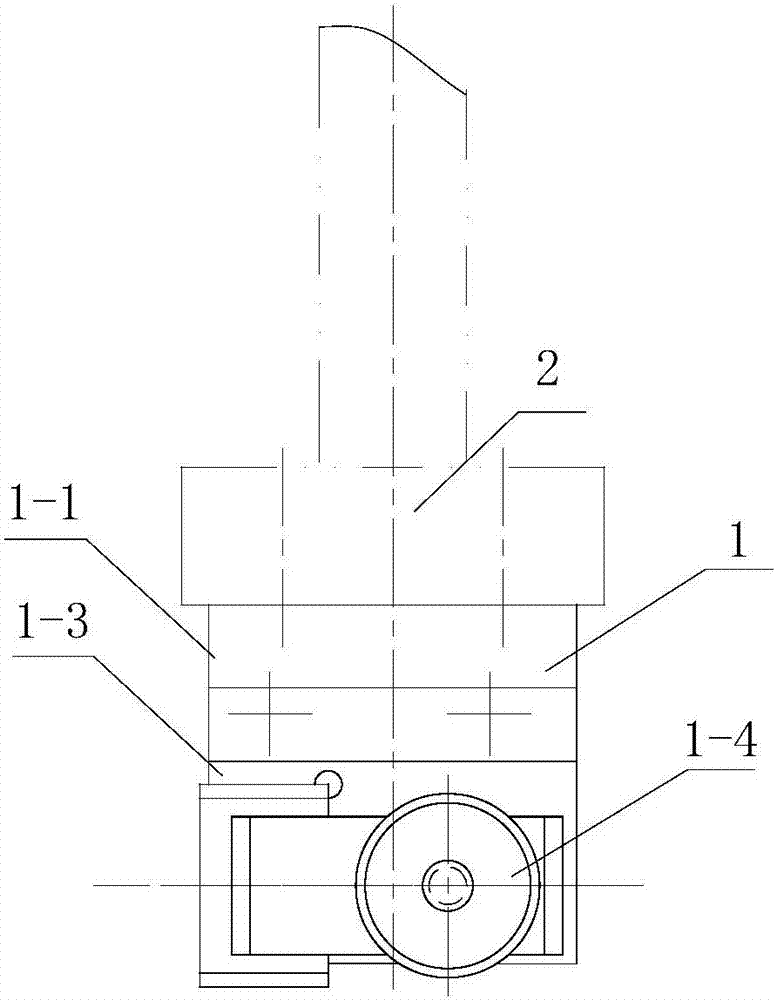
一种分切机圆刀弹簧的评价方法及使用的圆刀弹簧弹力测试装置与流程本发明涉及隔膜切割技术领域,特别是涉及一种分切机圆刀弹簧的评价方法及使用的圆刀弹簧弹力测试装置。背景技术:隔膜分切机圆刀是目前广泛使用的刀具之一,为了能让圆刀分......
复卷机的张力调节机构及其复卷机的制作方法本实用新型涉及收放卷料设备和点数复卷设备技术领域,具体涉及一种复卷机的张力调节机构及其复卷机。背景技术:标签复卷机的作用是将标签带从一个转轴卷到另一个转轴上,完......
选择条码打印机碳带,记住这6点就够了1、用在什么打印机上在热转印打印方式下,碳带与不干胶标签纸在是同步消耗的,就宽度方向而言,碳带的宽度应大于等于标签纸的宽度,小于打印机的最大打印宽度。由于条码打......
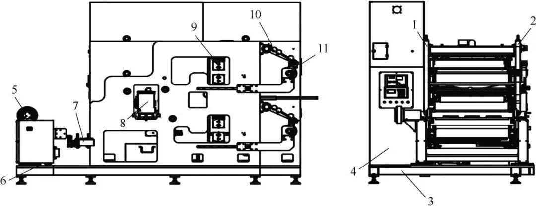
一种具有分切功能的复卷机的制作方法本实用新型涉及造纸设备相关技术领域,具体是一种具有分切功能的复卷机。背景技术:复卷机,是一种用于纸类、云母带、薄膜专用设备,其用途是将造纸机生产出来的纸卷(称为......
复卷机引纸过程的张力自动控制方法专利名称:复卷机引纸过程的张力自动控制方法技术领域:本发明涉及一种复卷机引纸过程的张力自动控制方法,适用于放卷为制动发电机的复卷机。背景技术:目前主流的造纸复卷......
一种OCA光学胶分切机的制作方法本实用新型属于oca光学胶分切设备技术领域,具体为一种oca光学胶分切机。背景技术:oca光学胶是用于胶结透明光学元件的特种粘胶剂;oca光学胶要求具有无色透明......