服务热线
180-5003-0233
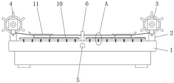
一种分切刀清洗装置的制作方法本实用新型涉及分切机技术领域,具体是一种分切刀清洗装置。背景技术:锂电池具有工作电压高、比能量大、体积小、质量轻、循环寿命长、自放电率低、无记忆效应、无污染等性......
挑选热敏纸的技巧有哪些热敏纸是专门用于热敏打印机上和热敏传真机的打印纸,其质量的好坏直接影响到打印质量和保存时间,甚至影响到打印机和传真机的使用寿命。目前市场上的热敏纸良莠不齐,又还......
分条机的特点和优势,以及它在工业生产中的应用分条机是一种高效的生产设备,广泛应用于金属加工、电子制造、汽车零部件等行业。它能够将原材料快速而准确地进行分条,提高生产效率,减少人工操作,提升产品质量。本文将......
一种预涂膜分切机的制作方法本实用新型涉及分切机领域,更具体地说,涉及一种预涂膜分切机。背景技术:在预涂膜的加工处理过程中,为了针对不同的需求,需要才切成不同的宽度进行使用,这就需要使用到......
一种新型塑料薄膜圆盘刀分切装置的制作方法1.本实用新型提供一种新型塑料薄膜圆盘刀分切装置,属于圆盘刀分切装置技术领域。背景技术:2.分切机是一种将宽幅纸张、云母带或薄膜分切成多条窄幅材料的机械设备,常......
锂电池分切刀片固定用可调式螺纹刀座的制作方法本实用新型涉及一种刀片固定装置,具体涉及一种锂电池分切刀片固定用可调式螺纹刀座。背景技术:分切刀是一种非常精密的刀具,可减少工作中运行和高性能剪切的停机时间,分......
高速分切机的特点、应用领域以及在生产过程中的重要性高速分切机是一种专业的切割设备,用于将卷材或连续材料快速、准确地进行切割,以满足不同行业的生产需求。它广泛应用于纸张、塑料薄膜、胶带、织物和金属箔等材料的分切加......
什么是不干胶标签纸纸?用途及使用注意事项不干胶标签纸,对于这个名字大家可能会觉得很陌生,其实不干胶标签纸在生活中是很常见的,就比如大家去超市购买产品时贴在包装袋那个标签就是不干胶标签纸,还有平时看到的......
一种具有毛刺全检装置的分切机的制作方法本实用新型涉及极片检测技术领域,具体是一种具有毛刺全检装置的分切机。背景技术:锂电池,是一类由锂金属或锂合金为正/负极材料、使用非水电解质溶液的电池。1912年......
一种分切刀用隔套、分切刀组件、分切机的制作方法本实用新型属于锂离子电池技术领域,尤其涉及一种分切刀用隔套、分切刀组件、分切机。背景技术:如今,各国都在大力发展绿色、高效二次电池。锂离子电池作为一种新型二次电......
一种电容器用金属化薄膜卷分卷裁切装置的制作方法本实用新型涉及电容器相关技术领域,具体为一种电容器用金属化薄膜卷分卷裁切装置。背景技术:电容器一般是指以金属薄膜当电极,将其和聚乙酯,聚丙烯,聚苯乙烯或聚碳酸酯......
极片分条机的特点和应用极片分条机是一种专业用于光学元件分割的设备,它广泛应用于光电子行业和光学制造工艺中。极片是光学元件的一种,具有特殊的光学特性,广泛应用于激光、显微镜、液晶显示器......
看着不起眼的热敏纸标签纸,实际上起到了重要作用当代社会,随着生活水平的提高,人们越来越重视健康,所以医疗行业也会是越来越热门的行业。每天医院会面对许多病人,案例,有条不紊的工作流程记录是必须的,那么这一切就......
高精度分切机的特点和应用高精度分切机是一种在工业生产中广泛应用的设备,它采用先进的切割技术和精密的控制系统,能够实现高度精确的切割过程,满足各类材料的生产加工需求。无论是纸张、塑料、金......
条码碳带的优劣势和常见问题我们在复印条形码标签时,要想复印出优良的实际效果,除开复印机和不干胶贴纸,条码碳带的优劣也是头等大事。但就一般状况来讲,要想一开始就能购置到适合的条码碳带,那并......