服务热线
180-5003-0233

一种锂电池加工用新型正极分切机的制作方法
1.本实用新型涉及锂电池加工设备技术领域,尤其涉及一种锂电池加工用新型正极分切机。
背景技术:
2.锂电池是一种以锂金属或锂合金为负极材料,使用非水电解质溶液的一次电池,与可充电电池锂离子电池跟锂离子聚合物电池是不一样的;锂电池的发明者是爱迪生;由于锂金属的化学特性非常活泼,使得锂金属的加工、保存、使用,对环境要求非常高;随着二十世纪末微电子技术的发展,小型化的设备日益增多,对电源提出了很高的要求,锂电池随之进入了大规模的实用阶段,在锂电池进行生产加工的过程中常会用到新型正极分切机对其进行使用,用于实现生产需求;
3.现有的新型正极分切机在使用的过程中不能够灵活的满足不同使用人员的不同高度需求,使用和操作起来都较为繁琐;且机身在运行时常会产生一些振动噪声,没有便于对产生的噪音进行降噪的降噪设置,导致工作人员人身健康受到一定的影响。
技术实现要素:
4.本实用新型提供一种锂电池加工用新型正极分切机,解决了不能够灵活的满足不同使用人员的不同高度需求;且没有便于对产生的噪音进行降噪的降噪设置的技术问题。
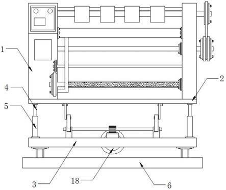
5.为解决上述技术问题,本实用新型提供的一种锂电池加工用新型正极分切机,包括分切机本体,所述分切机本体的底端固定安装有支撑板,所述支撑板的底部设有操作板,所述操作板的底部设有支撑座,所述操作板顶端的两侧均固定安装有固定安装有固定块,两个所述固定块之间转动连接有转动杆,所述转动杆的两端均固定安装有第一摆动臂,两个所述第一摆动臂的顶部均通过转轴转动连接有第二摆动臂,两个所述第二摆动臂的顶端均通过铰链分别与支撑板底端的两侧铰接,所述转动杆的中部固定安装有齿轮轴,所述操作板的内部转动连接有丝杆,所述丝杆的表面通过丝杆螺母螺纹连接有齿条板,所述齿轮轴与齿条板啮合连接,所述支撑座内部的四个边角均开设有空心槽,四个所述空心槽的内部均固定安装有支撑柱,四个所述支撑柱的表面均套设有第一移动板,四个所述第一移动板顶端的两侧均固定安装有移动杆,每两个对应的所述移动杆为一组,每组所述移动杆的顶端均穿过支撑座并与支撑座外部设置的固定板固定连接,四个所述固定板的顶端分别与操作板底端的四个边角固定连接,每组所述移动杆之间固定安装有第二移动板,四个所述第二移动板分别与对应的支撑柱滑动连接,四个所述支撑柱的顶部均活动套接有第一弹簧,四个所述支撑柱的底部均活动套接有第二弹簧。
6.优选的,所述操作板背面的中部通过安装板固定安装有正反转电机,所述丝杆的一端穿过操作板并与正反转电机的传动轴固定连接。
7.优选的,四个所述第一弹簧的一端分别与对应的空心槽的内壁固定连接,四个所述第一弹簧的另一端分别与对应的第二移动板的表面固定连接,四个所述第二弹簧的一端
分别与对应的空心槽的内壁固定连接,四个所述第二弹簧的另一端分别与对应的第一移动板的表面固定连接。
8.优选的,所述齿条板的底端固定安装有滑块,所述操作板内壁的底端开设有与滑块相匹配的滑槽,所述操作板的表面开设与齿条板对应的移动槽。
9.优选的,所述支撑板底端的四个边角均固定安装有导向轴杆,四个所述导向轴杆的外部均套设有导向轴套,四个所述导向轴套的底端分别与操作板底端的四个边角固定连接。
10.优选的,所述分切机本体正面的一侧固定安装有开关面板,所述开关面板的表面固定安装有正反转电机开关,所述正反转电机通过正反转电机开关与电源电性连接。
11.与相关技术相比较,本实用新型提供的一种锂电池加工用新型正极分切机具有如下有益效果:
12.本实用新型提供锂电池加工用新型正极分切机,通过设置的正反转电机驱动丝杆进行正反向转动,配合丝杆螺母和滑块,进而使得齿条板在丝杆的表面进行移动,由于齿轮轴与齿条板为啮合连接,进而使得齿轮轴进行正反向转动,使得转动杆和两个第一摆动臂进行转动,配合转轴、铰链和第二摆动臂,使得第一摆动臂和第二摆动臂自身的倾斜角度发生改变,进而使得分切机本体在竖直方向进行移动,继而能够灵活的满足不同使用人员的不同使用需求,使用和操作起来更加便捷,解决了不能够灵活的满足不同使用人员的不同高度需求的问题。
13.本实用新型提供锂电池加工用新型正极分切机,通过设置的移动杆和第一移动板在空心槽的内部进行移动,进而使得对应的第一弹簧自身的形变量发生改变,由于第一弹簧自身的弹性支撑,进而便于起到缓冲降噪的作用,同时作用在每组移动杆底端的第二移动板在竖直方向进行移动,使得对应的第二弹簧自身的形变量发生改变,由于对应的第二弹簧自身的弹性支撑,进入便于起到缓冲降噪的作用,继而能够对产生的噪声进行降噪,保障工作人员人身健康,解决了没有便于对产生的噪音进行降噪的降噪设置的问题。
附图说明
14.图1为本实用新型的结构示意图;
15.图2为本实用新型的剖面结构示意图;
16.图3为本实用新型a处的放大结构示意图;
17.图4为本实用新型b处的放大结构示意图;
18.图5为本实用新型c处的放大结构示意图;
19.图6为本实用新型操作板的结构示意图。
20.图中标号:1、分切机本体;2、支撑板;3、操作板;4、导向轴杆;5、导向轴套;6、支撑座;7、固定块;8、转动杆;9、第一摆动臂;10、转轴;11、第二摆动臂;12、铰链;13、齿轮轴;14、丝杆;15、齿条板;16、移动槽;17、滑块;18、正反转电机;19、空心槽;20、支撑柱;21、第一移动板;22、移动杆;23、固定板;24、第二移动板;25、第一弹簧;26、第二弹簧。
具体实施方式
21.下面将结合本实用新型实施例中的附图,对本实用新型实施例中的技术方案进行
清楚、完整地描述,显然,所描述的实施例仅仅是本实用新型一部分实施例,而不是全部的实施例;基于本实用新型中的实施例,本领域普通技术人员在没有做出创造性劳动前提下所获得的所有其他实施例,都属于本实用新型保护的范围。
22.实施例一,由图1
6给出,本实用新型包括分切机本体1,分切机本体1的底端固定安装有支撑板2,支撑板2的底部设有操作板3,操作板3的底部设有支撑座6,操作板3顶端的两侧均固定安装有固定安装有固定块7,两个固定块7之间转动连接有转动杆8,转动杆8的两端均固定安装有第一摆动臂9,两个第一摆动臂9的顶部均通过转轴10转动连接有第二摆动臂11,两个第二摆动臂11的顶端均通过铰链12分别与支撑板2底端的两侧铰接,转动杆8的中部固定安装有齿轮轴13,操作板3的内部转动连接有丝杆14,丝杆14的表面通过丝杆螺母螺纹连接有齿条板15,齿轮轴13与齿条板15啮合连接,支撑座6内部的四个边角均开设有空心槽19,四个空心槽19的内部均固定安装有支撑柱20,四个支撑柱20的表面均套设有第一移动板21,四个第一移动板21顶端的两侧均固定安装有移动杆22,每两个对应的移动杆22为一组,每组移动杆22的顶端均穿过支撑座6并与支撑座6外部设置的固定板23固定连接,四个固定板23的顶端分别与操作板3底端的四个边角固定连接,每组移动杆22之间固定安装有第二移动板24,四个第二移动板24分别与对应的支撑柱20滑动连接,四个支撑柱20的顶部均活动套接有第一弹簧25,四个支撑柱20的底部均活动套接有第二弹簧26。
23.实施例二,在实施例一的基础上,操作板3背面的中部通过安装板固定安装有正反转电机18,丝杆14的一端穿过操作板3并与正反转电机18的传动轴固定连接,便于带动丝杆14进行正反向转动,使用起来更加便捷。
24.实施例三,在实施例一的基础上,四个第一弹簧25的一端分别与对应的空心槽19的内壁固定连接,四个第一弹簧25的另一端分别与对应的第二移动板24的表面固定连接,四个第二弹簧26的一端分别与对应的空心槽19的内壁固定连接,四个第二弹簧26的另一端分别与对应的第一移动板21的表面固定连接,使得对应的第一弹簧25和第二弹簧26进行支撑固定,进而便于起到支撑的作用。
25.实施例四,在实施例一的基础上,齿条板15的底端固定安装有滑块17,操作板3内壁的底端开设有与滑块17相匹配的滑槽,操作板3的表面开设与齿条板15对应的移动槽16,便于起到限位的作用,使得齿条板15在移动的过程中不受任何限制。
26.实施例五,在实施例一的基础上,支撑板2底端的四个边角均固定安装有导向轴杆4,四个导向轴杆4的外部均套设有导向轴套5,四个导向轴套5的底端分别与操作板3底端的四个边角固定连接,便于起到导向的作用,使得该分切机本体1在移动的过程中更加稳定。
27.实施例六,在实施例一的基础上,分切机本体1正面的一侧固定安装有开关面板,开关面板的表面固定安装有正反转电机开关,正反转电机18通过正反转电机开关与电源电性连接,便于更好的控制用电器工作运转,使用起来更加便捷。
28.工作原理:
29.第一创新点实施步骤:
30.第一步:首先将该分切机本体1放置在工作地点,根据施工人员自身需求对该分切机本体1进行高度调节;
31.第二步:接着通过正反转电机开关控制正反转电机18进行工作,正反转电机18的传动轴驱动丝杆14进行正反向转动,配合丝杆螺母和滑块17,进而使得齿条板15在丝杆14
的表面进行移动,由于齿轮轴13与齿条板15为啮合连接,进而使得齿轮轴13进行正反向转动;
32.第三步:使得转动杆8和两个第一摆动臂9进行转动,配合转轴10、铰链12和第二摆动臂11,使得第一摆动臂9和第二摆动臂11自身的倾斜角度发生改变,进而使得分切机本体1在竖直方向进行移动,继而能够灵活的满足不同使用人员的不同使用需求,使用和操作起来更加便捷。
33.第二创新点实施步骤:
34.第一步:接着对分切机本体1进行使用即可,使用过程中机身产生一定的振动,设置的移动杆22和第一移动板21在空心槽19的内部进行移动,进而使得对应的第一弹簧25自身的形变量发生改变,由于第一弹簧25自身的弹性支撑,进而便于起到缓冲降噪的作用;
35.第二步:同时作用在每组移动杆22底端的第二移动板24在竖直方向进行移动,使得对应的第二弹簧26自身的形变量发生改变,由于对应的第二弹簧26自身的弹性支撑,进入便于起到缓冲降噪的作用;
36.第三步:继而能够对产生的噪声进行降噪,保障工作人员人身健康。
37.需要说明的是,在本文中,诸如第一和第二等之类的关系术语仅仅用来将一个实体或者操作与另一个实体或操作区分开来,而不一定要求或者暗示这些实体或操作之间存在任何这种实际的关系或者顺序。而且,术语“包括”、“包含”或者其任何其他变体意在涵盖非排他性的包含,从而使得包括一系列要素的过程、方法、物品或者设备不仅包括那些要素,而且还包括没有明确列出的其他要素,或者是还包括为这种过程、方法、物品或者设备所固有的要素。
38.尽管已经示出和描述了本实用新型的实施例,对于本领域的普通技术人员而言,可以理解在不脱离本实用新型的原理和精神的情况下可以对这些实施例进行多种变化、修改、替换和变型,本实用新型的范围由所附权利要求及其等同物限定。
技术特征:
1.一种锂电池加工用新型正极分切机,包括分切机本体(1),其特征在于:所述分切机本体(1)的底端固定安装有支撑板(2),所述支撑板(2)的底部设有操作板(3),所述操作板(3)的底部设有支撑座(6),所述操作板(3)顶端的两侧均固定安装有固定安装有固定块(7),两个所述固定块(7)之间转动连接有转动杆(8),所述转动杆(8)的两端均固定安装有第一摆动臂(9),两个所述第一摆动臂(9)的顶部均通过转轴(10)转动连接有第二摆动臂(11),两个所述第二摆动臂(11)的顶端均通过铰链(12)分别与支撑板(2)底端的两侧铰接,所述转动杆(8)的中部固定安装有齿轮轴(13),所述操作板(3)的内部转动连接有丝杆(14),所述丝杆(14)的表面通过丝杆螺母螺纹连接有齿条板(15),所述齿轮轴(13)与齿条板(15)啮合连接,所述支撑座(6)内部的四个边角均开设有空心槽(19),四个所述空心槽(19)的内部均固定安装有支撑柱(20),四个所述支撑柱(20)的表面均套设有第一移动板(21),四个所述第一移动板(21)顶端的两侧均固定安装有移动杆(22),每两个对应的所述移动杆(22)为一组,每组所述移动杆(22)的顶端均穿过支撑座(6)并与支撑座(6)外部设置的固定板(23)固定连接,四个所述固定板(23)的顶端分别与操作板(3)底端的四个边角固定连接,每组所述移动杆(22)之间固定安装有第二移动板(24),四个所述第二移动板(24)分别与对应的支撑柱(20)滑动连接,四个所述支撑柱(20)的顶部均活动套接有第一弹簧(25),四个所述支撑柱(20)的底部均活动套接有第二弹簧(26)。2.根据权利要求1所述的一种锂电池加工用新型正极分切机,其特征在于,所述操作板(3)背面的中部通过安装板固定安装有正反转电机(18),所述丝杆(14)的一端穿过操作板(3)并与正反转电机(18)的传动轴固定连接。3.根据权利要求1所述的一种锂电池加工用新型正极分切机,其特征在于,四个所述第一弹簧(25)的一端分别与对应的空心槽(19)的内壁固定连接,四个所述第一弹簧(25)的另一端分别与对应的第二移动板(24)的表面固定连接,四个所述第二弹簧(26)的一端分别与对应的空心槽(19)的内壁固定连接,四个所述第二弹簧(26)的另一端分别与对应的第一移动板(21)的表面固定连接。4.根据权利要求1所述的一种锂电池加工用新型正极分切机,其特征在于,所述齿条板(15)的底端固定安装有滑块(17),所述操作板(3)内壁的底端开设有与滑块(17)相匹配的滑槽,所述操作板(3)的表面开设与齿条板(15)对应的移动槽(16)。5.根据权利要求1所述的一种锂电池加工用新型正极分切机,其特征在于,所述支撑板(2)底端的四个边角均固定安装有导向轴杆(4),四个所述导向轴杆(4)的外部均套设有导向轴套(5),四个所述导向轴套(5)的底端分别与操作板(3)底端的四个边角固定连接。6.根据权利要求2所述的一种锂电池加工用新型正极分切机,其特征在于,所述分切机本体(1)正面的一侧固定安装有开关面板,所述开关面板的表面固定安装有正反转电机开关,所述正反转电机(18)通过正反转电机开关与电源电性连接。
技术总结
本实用新型公开了一种锂电池加工用新型正极分切机,涉及锂电池加工设备技术领域,解决了目前不能够灵活的满足不同使用人员的不同高度需求;没有便于对产生的噪音进行降噪的降噪设置的技术问题;包括分切机本体,分切机本体的底端固定安装有支撑板,支撑板的底部设有操作板,操作板的底部设有支撑座,操作板顶端的两侧均固定安装有固定安装有固定块,两个固定块之间转动连接有转动杆,转动杆的两端均固定安装有第一摆动臂,两个第一摆动臂的顶部均通过转轴转动连接有第二摆动臂;本实用新型具有能够灵活的满足不同使用人员的不同使用需求,使用和操作起来更加便捷;继而能够对产生的噪声进行降噪,保障工作人员人身健康。保障工作人员人身健康。保障工作人员人身健康。
技术研发人员:卢春香 魏国峰
受保护的技术使用者:河南元达新能源科技有限公司
技术研发日:2021.06.16
技术公布日:2021/12/10