服务热线
180-5003-0233
关于碳带质量问题的常见情况介绍碳带,在目前条码打印或者标签打印上可以说是一种必需耗材,因此各种厂家都会需要用到碳带。而碳带也有分好坏,在日常,一般用户适用的都会是普通碳带,但是普通碳带时不时......
一种修正带分切机的自动放卷装置的制作方法1.本实用新型涉及自动分切机相关的机械装置,尤其涉及一种修正带分切机的自动放卷装置。背景技术:2.自动分切机广泛应用在造纸、纸管、包装、印刷、胶带、塑料薄膜、橡......
一种防粘连的薄膜加工用分切机的制作方法本实用新型涉及薄膜加工技术领域,具体为一种防粘连的薄膜加工用分切机。背景技术:薄膜是一种涂硅保护纸为底纸的复合材料,经印刷、模切等加工后成为成品标签,其具有不用......
一种不干胶标签分条装置的制作方法1.本实用新型属于不干胶标签生产技术领域,具体涉及一种不干胶标签分条装置。背景技术:2.不干胶标签分切机是标签印刷完成后进行后续加工的重要设备,主要用于将印刷好......
不干胶分切装置的制作方法1.本技术涉及不干胶生产设备技术领域,尤其是涉及不干胶分切装置。背景技术:2.不干胶,也叫自粘标签材料,是以纸张、薄膜或特种材料为面料,背面涂有胶黏剂,一涂硅保......
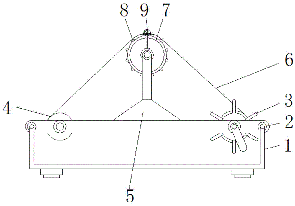
一种修正带分切机圆刀上下刀架装置的制作方法1.本实用新型涉及分切机技术领域,尤其涉及一种修正带分切机圆刀上下刀架装置。背景技术:2.对大尺寸的薄膜状产品分切成小尺寸的产品的设备为分切机,其包含有上圆刀和......
一种铜箔分切机成品边部吸铜粉装置的制作方法1.本实用新型涉及电解铜箔制造领域,尤其涉及一种铜箔分切机成品边部吸铜粉装置。背景技术:2.通过表面处理过后的铜箔,性能可以满足ccl和pcb板的要求。由于各个......
碳带断裂的原因和解决方法在平常使用条码打印机的时候,我相信总会遇到各种各样的大小问题,而碳带断裂也是不少使用者经历过的问题,这实在是非常让人苦恼。那么今天就让我来为您解答一下碳带为什么......
一种医用胶带全自动分切机的制作方法1.本发明涉及一种医用胶带全自动分切机,属于医用胶带加工设备技术领域。背景技术:2.医用胶带主要是以织物(多数为棉布或无纺布)为基材,涂有氧化锌和医用胶为主要原......
复卷机是由哪几部分组成的复卷机作为企业生产中一个重要的帮手,可以说在众多行业都有不错的运用,那么一般来说复卷机有哪些部分组成呢?下面我们就跟复卷机厂家一起来了解下吧。1、制品弯曲方法:......
不干胶标签纸的注意事项有哪些今天,带大家了解以下不干胶标签纸的一些注意事项,从选购标签纸的开始到标签纸的介绍,好让大家对不干胶标签纸有一个大概的了解,然后才好买到合适自己需求的标签纸。1、......
一种铜箔分切机的铜箔压箔辊装置及铜箔收卷方法与流程本发明涉及电解铜箔分切技术领域,具体涉及一种铜箔分切机的铜箔压箔辊装置及铜箔收卷方法。背景技术:铜箔分切机收卷用压箔辊是由丁腈橡胶材料制作而成,在铜箔成品收卷过......
影响分切机收卷轴作用的因素对影响分切机收卷轴输出力矩的因素进行研究,采用理论分析和实验验证的方法确定输入压力与输出力矩的理想值,为分切机的设计和应用提供依据,具有一定的理论和实际应用价值......
一种薄膜分切机圆刀调节结构的制作方法本实用新型涉及薄膜分切机技术领域,尤其涉及一种薄膜分切机圆刀调节结构。背景技术:薄膜分切机可将:聚酯薄膜、镀铝薄膜、boppldpe、hdpe、lldpe、pp......
碳带的介绍碳带是条码打印机使用的耗材,是在一面涂上蜡基、树脂基或混合油墨的一种聚酯薄膜。在没有油墨的一面涂上润滑剂以防止打印头的磨损,条形码碳带上的油墨在条码打印机打印头......