服务热线
180-5003-0233

本实用新型涉及锂电池隔膜生产技术领域,具体涉及一种锂电池隔膜分切机专用纠偏滚筒。
背景技术:
锂电池的结构中,隔膜是关键的内层组件之一。隔膜的性能决定了电池的界面结构、内阻等,直接影响电池的容量、循环以及安全性能等特性,性能优异的隔膜对提高电池的综合性能具有重要的作用。隔膜的主要作用是使电池的正、负极分隔开来,防止两极接触而短路,此外还具有能使电解质离子通过的功能。隔膜材质是不导电的,其物理化学性质对电池的性能有很大的影响。电池的种类不同,采用的隔膜也不同。对于锂电池系列,由于电解液为有机溶剂体系,因而需要有耐有机溶剂的隔膜材料,一般采用高强度薄膜化的聚烯烃多孔膜。
锂电池隔膜在生产过程中,缠绕在滚筒上的隔膜在放卷时常常发生位置偏离,因而需要专门的装置防止隔膜偏离,同时需要对隔膜尺寸进行剪切,现有技术主要通过放卷后的切刀进行剪切,需要两道工序进行作用,工序繁杂,效率低下。
技术实现要素:
本实用新型为解决上述技术问题,提供一种锂电池隔膜分切机专用纠偏滚筒。
本实用新型所要解决的技术问题采用以下的技术方案来实现。
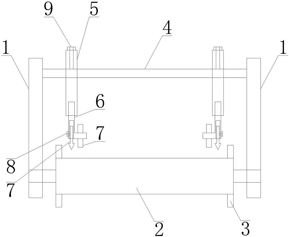
一种锂电池隔膜分切机专用纠偏滚筒,包括一对相向布置的竖直支架,所述竖直支架下端设置安装有轴承的通孔,滚筒两端的转轴分别插入所述通孔内的轴承中,所述竖直支架位于滚筒上方设置截面为矩形的固定杆,所述固定杆两端分别与竖直支架固定连接,一对滑动块分别套接在固定杆上,滑动块上端通过第一螺栓将滑动块固定在固定杆上,L形杆以可滑动方式与滑动块连接并可沿滑动块上下滑动,L形杆水平段套接压紧滚筒。
所述L形杆通过所述滑动块侧面的滑槽与滑动块滑动连接,或者L形杆竖直段上端插入滑动块下端的通孔中与滑动块滑动连接。
所述L形杆竖直段下端设置盲孔,切刀一端插入所述盲孔中并通过L形杆竖直段侧面的第二螺栓将切刀固定在L形杆中。
所述在固定杆上沿轴向设置刻度。可以将两滑动块位置精确在对称设置在固定杆两端。
所述压紧滚筒选用金属材质。以便与利用压紧滚筒自身的重力压紧缠绕在滚筒上的锂电池隔膜,起到纠偏作用。
本实用新型的有益效果为:通过在滚筒上方设置可横向、竖向移动的压紧滚筒,从而可以对不同尺寸的锂电池隔膜进行压紧,防止滚筒在转动过程中缠绕在上面的锂电池隔膜位置出现偏离,进一步设置切刀,可对缠绕在滚筒上的锂电池隔膜进行剪切,以适应不同尺寸的需求。
附图说明
图1为本实用新型示意图;
图2为本实用新型另一种实施方式示意图。
具体实施方式
为了使本实用新型实现的技术手段、创作特征、达成目的与功效易于明白了解,下面结合具体图示,进一步阐述本实用新型。
如图1所示,一种锂电池隔膜分切机专用纠偏滚筒,包括一对相向布置的竖直支架1,竖直支架1下端设置安装有轴承的通孔,滚筒2两端的转轴分别插入所述通孔内的轴承中,竖直支架1位于滚筒2上方设置固定杆4,固定杆4两端分别与竖直支架1固定连接,固定杆4截面为矩形,一对滑动块5分别套接在固定杆4上,滑动块5上端通过第一螺栓9将滑动块5固定在固定杆4上,L形杆6以可滑动方式与滑动块5连接并可沿滑动块5上下滑动,L形杆6水平段套接压紧滚筒7,L形杆6竖直段下端设置有盲孔,切刀7一端插入所述盲孔中并通过L形杆6竖直段侧面的第二螺栓8将切刀7固定在L形杆6中,L形杆6可通过滑动块5侧面的滑槽与滑动块5滑动连接,或者如图2所示,L形杆6竖直段上端插入滑动块5下端的通孔中与滑动块5滑动连接,压紧滚筒7最好选用金属材质,以便与利用压紧滚筒7自身的重力压紧缠绕在滚筒2上的锂电池隔膜,起到纠偏作用,在固定杆4上沿轴向设置刻度,可以将两滑动块5位置精确在对称设置在固定杆4两端。
以上显示和描述了本实用新型的基本原理和主要特征和本实用新型的优点。本行业的技术人员应该了解,本实用新型不受上述实施例的限制,上述实施例和说明书中描述的只是说明本实用新型的原理,在不脱离本实用新型精神和范围的前提下,本实用新型还会有各种变化和改进,这些变化和改进都落入要求保护的本实用新型范围内。本实用新型要求保护范围由所附的权利要求书及其等效物界定。
技术特征:
1.一种锂电池隔膜分切机专用纠偏滚筒,包括一对相向布置的竖直支架,所述竖直支架下端设置安装有轴承的通孔,滚筒两端的转轴分别插入所述通孔内的轴承中,其特征在于:所述竖直支架位于滚筒上方设置截面为矩形的固定杆,所述固定杆两端分别与竖直支架固定连接,一对滑动块分别套接在固定杆上,滑动块上端通过第一螺栓将滑动块固定在固定杆上,L形杆以可滑动方式与滑动块连接并可沿滑动块上下滑动,L形杆水平段套接压紧滚筒。
2.如权利要求1所述的锂电池隔膜分切机专用纠偏滚筒,其特征在于:所述L形杆通过所述滑动块侧面的滑槽与滑动块滑动连接。
3.如权利要求2所述的锂电池隔膜分切机专用纠偏滚筒,其特征在于:所述L形杆竖直段上端插入滑动块下端的通孔中与滑动块滑动连接。
4.如权利要求1至3任一所述的锂电池隔膜分切机专用纠偏滚筒,其特征在于:所述L形杆竖直段下端设置盲孔,切刀一端插入所述盲孔中并通过L形杆竖直段侧面的第二螺栓将切刀固定在L形杆中。
5.如权利要求4所述的锂电池隔膜分切机专用纠偏滚筒,其特征在于:所述在固定杆上沿轴向设置刻度。
6.如权利要求4所述的锂电池隔膜分切机专用纠偏滚筒,其特征在于:所述压紧滚筒选用金属材质。
技术总结
一种锂电池隔膜分切机专用纠偏滚筒,包括一对相向布置的竖直支架,所述竖直支架下端设置安装有轴承的通孔,滚筒两端的转轴分别插入所述通孔内的轴承中,所述竖直支架位于滚筒上方设置截面为矩形的固定杆,固定杆两端分别与竖直支架固定连接,一对滑动块分别套接在固定杆上,L形杆以可滑动方式与滑动块连接并可沿滑动块上下滑动,L形杆水平段套接压紧滚筒。通过在滚筒上方设置可横向、竖向移动的压紧滚筒,从而可以对不同尺寸的锂电池隔膜进行压紧,防止滚筒在转动过程中缠绕在上面的锂电池隔膜位置出现偏离,进一步设置切刀,可对缠绕在滚筒上的锂电池隔膜进行剪切,以适应不同尺寸的需求。
技术研发人员:胡伟;吴磊;张德顺;李汪洋;孙晓华;王若愚;徐凤锦;刘志强;谢玉良
受保护的技术使用者:界首市天鸿新材料股份有限公司
文档号码:201621269725
技术研发日:2016.11.24
技术公布日:2017.06.06