服务热线
180-5003-0233

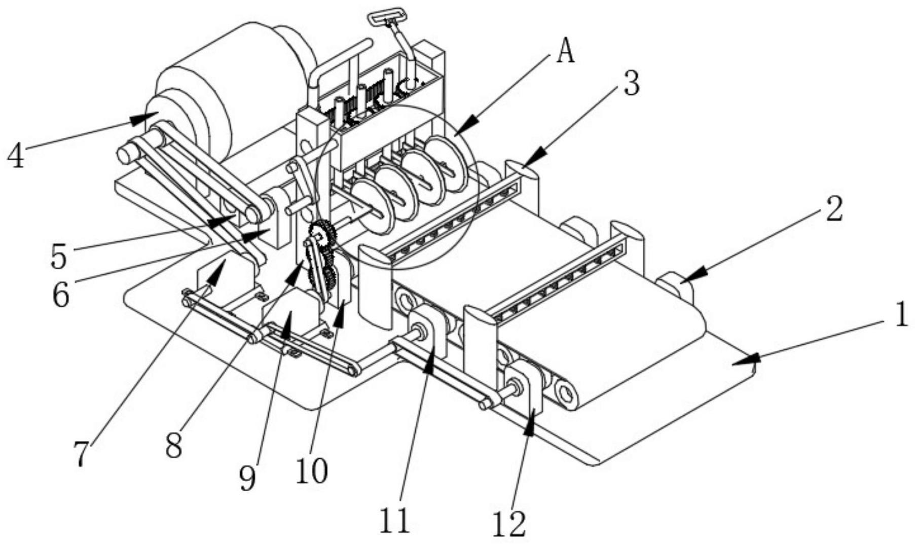
1.本发明属于电池制造技术领域,尤其涉及一种电池铝箔分条加工机及分条加工工艺。
背景技术:
2.分条机是用来把成卷的各类薄膜(主要是铜箔、铝箔、opp、pet等镀铝、镀锌、镀铝锌合金箔膜、电极绝缘隔膜以及电力电容器专用聚丙烯膜等)按电容器制造的设计要求分切成所需的宽度,因铝箔具有较高的密闭性和屏蔽性,常常用于电池中的保护层或屏蔽层,由于电池的规格不同,其内部所需的铝箔宽度也不同,在铝箔生产的过程中需要将宽度较大的铝箔分割成合适宽度的铝箔来进行使用操作,目前市面上对氢燃料电池极片分条处理时,现有的分条机,分条刀之间的距离固定难以调节,进而不能方便地根据实际产品需求调整分隔铝箔的宽度。
技术实现要素:
3.针对现有技术存在的问题,本发明提供了一种电池铝箔分条加工机及分条加工工艺,具备分条刀与分条刀之间可以调节间距的优点,解决了现有的分条机,分条刀之间的距离固定难以调节,进而不能方便地根据实际产品需求调整分隔铝箔的宽度的问题。
4.本发明是这样实现的,一种电池铝箔分条加工机,包括工作台,所述工作台的一侧固定连接有支架,所述支架中安装有若干分条刀,其特征在于:所述工作台上固定连接有两个对齐的第四支架,所述第四支架之间连接有下滑动调节机构和上滑动调节机构,所述下滑动调节机构和若干分条刀连接,所述上滑动调节机构与下滑动机构可以移动,在上滑动调节机构与下滑动调节机构的移动下,可以带动所述分条刀之间相互调节距离。
5.作为本发明优选的,所述下滑动调节机构包括下滑轨和滑动块;
6.所述下滑轨固定连接于第四支架上;
7.所述下滑轨的内腔呈凹形,所述滑动块与所述下滑轨内腔形状相对应;
8.所述滑动块滑动连接于下滑轨内部,所述滑动块的上侧转动连接有连接杆,所述连接杆延伸至所述上滑动机构中;
9.所述滑动块上固定连接有分刀架,所述分刀架中转动连接有分条刀;
10.所述分条刀的轴心部设有六边形开孔,所述六边形开孔内滑动连接有六边形转轴,所述六边形转轴可与多个所述分条刀连接使用;
11.还包括第一电机与第二电机,所述第一电机与第二电机分别固定连接于工作台上;
12.所述第二电机的输出端固定连接有第一皮带轮,所述六边形转轴的端部固定连接有第二皮带轮,所述第一皮带轮和所述第二皮带轮通过第一皮带传动件传动连接。
13.作为本发明优选的,所述上滑动调节机构包括上滑动槽;
14.所述上滑动槽固定连接于第四支架,所述上滑动槽的内腔中设有第一齿壁,所述
连接杆的一端设有第一齿轮,所述第一齿轮与所述第二齿条相互啮合使用。
15.所述上滑动槽中设有升降机构,所述升降机构可配合第二齿条使用,用于锁紧和固定第一齿轮。
16.作为本发明优选的,所述升降机构包括摇柄、摇杆和转动杆,所述摇柄的一侧固定连接于摇杆的一侧,所述摇杆固定连接于所述转动杆的外表面,所述转动杆安装于上滑动槽内,所述转动杆另一端外表面固定连接有第二齿轮,所述第二齿轮的一侧转动连接有第三齿轮,所述第三齿轮的一侧啮合连接有齿条,所述齿条的一端固定连接有固定杆,所述固定杆内设有空腔,所述空腔内滑动连接有电动滑台件,所述电动滑台件的一侧设有第二齿条。
17.作为本发明优选的,所述电动滑台件包括电动滑台,所述电动滑台与所述空腔配合使用,所述电动滑台的一侧固定连接有滑动杆,所述滑动杆固定连接于所述第二齿条上,当所述电动滑台移动时带动滑动杆同步移动,同时第二齿条在滑动杆带动下同样会产生移动并会穿过所述矩形口,带动第一齿轮同步移动,带动分条刀同向等距离移动。
18.作为本发明优选的,所述第四支架的一侧设有送料机构,另一侧设有输料机构。
19.作为本发明优选的,所述送料机构包括第一支架、第二支架和第三支架,所述第一支架、第二支架和第三支架固定连接于工作台上,所述第一支架之间转动连接有卷辊,所述第二支架上转动连接有张紧辊,所述第三支架上转动连接有导向辊,所述第一电机的输出端设有第二皮带传动件,所述第二皮带传动件传动连接于卷辊,所述卷辊通过第三皮带传动件传动连接于导向辊。
20.作为本发明优选的,所述输料机构包括传送件、第五支架、第七支架和第九支架,所述第五支架、第七支架和第九支架固定连接于工作台上,所述传送件安装在第五支架、第七支架和第九支架之间,所述传送件包括传送带,所述传送带的内部设有第一主动轮、第二主动轮、第三主动轮和多个从动轮,所述第一主动轮、所述第二主动轮和所述第三主动轮分别与第五支架、第七支架和第九支架转动连接,所述第五支架的一侧设有第三传动齿轮,所述第三传动齿轮的上侧设有第一传动齿轮,所述第一传动齿轮固定连接于所述六边形转轴的外表面,所述第三传动齿轮与所述第一传动齿轮通过第二传动齿轮传动连接,所述传送带的一侧设有压紧件。
21.作为本发明优选的,所述压紧件包括第六支架和第八支架,所述第六支架和第八支架固定连接于工作台上,所述第六支架之间固定连接有第一压板,所述第一压板的两侧固定连接于第六支架,所述第八支架之间设有第二压板,所述第二压板的两侧固定连接于第八支架,所述第一压板和所述第二压板中分别设有弹簧,当所述分条刀切割出分条铝箔板时,所述第一压板与第二压板用于压紧铝箔板,在压紧铝箔板时,所述第一压板与所述第二压板的所述弹簧起到一个压紧的作用。
22.作为本发明优选的滑动机构与下滑动调节机构之间相互配合使用,当上滑动调节机构驱动下滑动调节机构时,下滑动调节机构便会带动各个分条刀之间相互调节距离,便会根据所需要的切割宽度来调节分条刀之间的间距,便可以切割出所需要尺寸的铝箔板。
23.与现有技术相比,本发明的有益效果如下:
24.1、本发明通过设置推杆与连接杆的配合使用,当推杆插入连接杆时,推杆可以带动连接杆进行移动,推杆的杆身外表面有螺纹,而连接杆上的孔是螺纹孔,并且螺纹杆与连
接杆可以相互旋合使用,在推杆推动连接杆移动的过程中不会发生晃动,有效的提高了调节间距的效率。
25.2、本发明通过第一齿轮与第一齿壁的配合使用,第一齿轮设置在连接杆上,而第一齿壁设置在上滑动槽中,第一齿轮与第一齿壁相互之间可以咬合,在咬合的过程中会发生转动,在推杆推动连接杆的同时,连接杆同样会带动第一齿轮转动,转动的过程中第一齿轮会通过第一齿壁产生左右移动,进而可以使调节距离时传动会更加稳定,调节距离的精度会更加准确。
26.3、本发明通过滑动块与滑动槽的配合使用,滑动块是与连接杆固定连接,而滑动块在滑动槽中移动,当连接杆产生移动时会带动滑动块在滑动槽中产生移动,而滑动块上有固定连接的分刀架,分刀架中间安装了分条刀,滑动块在移动时可以带动分刀架进行移动,同时会带动分条刀移动,经过一系列的带动下就可以调节各个分条刀之间的间距。
27.4、本发明通过六边形转轴与分条刀的配合使用,分条刀的轴心位置设有六边形开孔,而六边形转轴可以插入分条刀的轴心位置,当六边形转轴转动时可以带动分条刀旋转工作,因分条刀的轴心位置与六边形转轴同是多边形,在传动时可以有效提高传动的稳定性和灵活性。
28.5、本发明通过设置升降机构,当摇柄工作时会带动摇杆进行转动,摇杆在转动的同时会带动转动杆进行转动,转动杆也同样会带动第二齿轮进行转动,在第二齿轮转动的同时第三齿轮会产生旋转,而第三齿轮一侧的蜗杆会在第三齿轮的带动下,蜗杆会与第三齿轮相互啮合并且蜗杆自身会产生升降,并带动固定杆一起进行升降移动,而第二齿条固定连接在固定杆上,固定杆产生升降移动时第二齿条会随之产生升降动作,这样可以有效提高上滑动机构与下滑动机构的稳定性。
29.6、本发明通过设置第三齿轮齿条,在第三齿轮带动齿条的传动下可以使整个升降机构在传动的过程中提高整个传动效率。
30.7、本发明通过设置第二齿条,第二齿条在升降机构的带动下,第二齿条可以上下移动,当第二齿条通过升降机构上升时会与第一齿轮进行咬合,在咬合时会与第一齿壁相互配合对上滑动机构和下滑动机构起到一个固定的作用,第二齿条通过升降机构上升到一定位置时便会停止上升,便不再固定第一齿轮,这时第一齿轮可以产生移动,当第二齿条通过升降机构降下时下降到一定位置时会与第一齿轮进行咬合,在咬合时会与第一齿壁相互配合对上滑动机构和下滑动机构起到一个固定的作用,在分条刀进行切割时,第一齿壁与第二齿条就可以有效提高切割时的稳定性,分条刀在切割过程中不会产生晃动,避免切割出的铝箔板大小不均匀。
31.8、本发明通过设置导向辊与张紧辊,在卷辊转动输出铝箔板时,铝箔板会绕着张紧辊经过导向辊传送到传输带上,张紧辊的作用是铝箔板经过张紧辊时,张紧辊会压紧铝箔板,这时会给铝箔板一个拉扯力,铝箔板接着会经过导向辊,而导向辊的作用是将铝箔板平稳的送上传送带,不会使铝箔板改变传送方向,这样可以有效提高传送效率。
32.9、本发明通过设置压紧件,第一压板与第二压板内部共同设有弹簧,弹簧在压板内起到一个缓冲减震的作用,当铝箔板经过第一压板与第二压板时,第一压板和第二压板会对铝箔板起到一个压紧的作用,对铝箔板压紧的力不会很大,同时还对被分割后的铝箔板起到一个导向的作用,避免被分割后的铝箔板不会按制定好的传送方式来进行传送。
33.10、本发明通过设置电动滑台,电动滑台可以在固定杆的空腔内产生移动,电动滑台并与空腔配合使用,电动滑台在移动时,滑动杆同样会产生移动,滑动杆在移动的同时会带动第二齿条产生移动,通过设置电动滑台有效的提高了第一齿轮在移动调节位置的时候的灵活性。
附图说明
34.图1是本发明实施例提供的电池铝箔分条加工机的第一视角结构示意图;
35.图2是本发明实施例提供的电池铝箔分条加工机的第二视角的结构示意图;
36.图3是本发明实施例提供的电池铝箔分条加工机的上滑动机构立体结构放大示意图;
37.图4是本发明实施例提供的电池铝箔分条加工机的图3中b部分的局部放大示意图;
38.图5是本发明实施例提供的电池铝箔分条加工机的图1中a部分的局部放大示意图;
39.图6是本发明实施例提供的电池铝箔分条加工机的图4中d部分的下滑轨内部剖视平面结构示意图;
40.图7是本发明实施例提供的电池铝箔分条加工机的压板局部放大结构示意图;
41.图8是本发明实施例提供的电池铝箔分条加工机的侧视结构示意图;
42.图9是本发明实施例提供的电池铝箔分条加工机的第一齿轮传动立体结构放大示意图;
43.图
10
是本发明实施例提供的电池铝箔分条加工机的第一齿轮移动啮合结构放大示意图;
44.图
11
是本发明实施例提供的电池铝箔分条加工机的升降机构立体结构放大示意图;
45.图
12
是本发明实施例提供的电池铝箔分条加工机的电动滑台件立体结构放大示意图。
46.图中:
1、工作台;
2、第八支架;
3、第六支架;
4、第一支架;
5、第二支架;
6、第三支架;
7、第一电机;
71、第二皮带传动件;
72、第三皮带传动件;
8、第四支架;
9、第二电机;
91、第一皮带传动件;
92、第四皮带传动件;
93、第五皮带传动件;
94、第六皮带传动件;
10、第五支架;
11、第七支架;
12、第九支架;
13、传送带;
131、第一压板;
132、第二压板;
133、弹簧;
41、卷辊;
51、张紧辊;
61、导向辊;
101、第一主动轮;
111、第二主动轮;
121、第三主动轮;
14、上滑动槽;
141、矩形口;
142、第一齿壁;
143、第一齿轮;
144、第二齿条;
15、六角推杆;
151、连接杆;
16、下滑轨;
161、滑动块;
162、分刀架;
163、分条刀;
164、六边形转轴;
17、第一传动齿轮;
171、第二传动齿轮;
172、第三传动齿轮;
18、摇柄;
19、摇杆;
20、转动杆;
21、第二齿轮;
22、第三齿轮;
23、齿条;
24、固定杆;
25、空腔;
26、电动滑台;
27、滑动杆。
具体实施方式
47.为能进一步了解本发明的发明内容、特点及功效,兹例举以下实施例,并配合附图详细说明如下。
48.下面结合附图对本发明的结构作详细的描述。
49.参阅图1至图5,本发明实施例提供的一种电池铝箔分条加工机,包括工作台1,所述工作台1的一侧固定连接有支架,所述支架中安装有若干分条刀
163
,其特征在于:所述工作台1上固定连接有两个对齐的第四支架8,所述第四支架8之间连接有下滑动调节机构和上滑动调节机构,所述下滑动调节机构和若干分条刀
163
连接,所述上滑动调节机构与下滑动机构可以移动,在上滑动调节机构与下滑动调节机构的移动下,可以带动所述分条刀之间相互调节距离。
50.采用上述方案:使用时上滑动机构与下滑动调节机构之间相互配合使用,当上滑动调节机构驱动下滑动调节机构时,下滑动调节机构便会带动各个分条刀
163
之间相互调节距离,便会根据所需要的切割宽度来调节分条刀
163
之间的间距,便可以切割出所需要尺寸的铝箔板。
51.参阅图
1、图
2、图4及图5和图6,所述下滑动调节机构包括下滑轨
16
和滑动块
161
;所述下滑轨
16
固定连接于第四支架上8;所述下滑轨
16
的内腔呈凹形,所述滑动块
161
与所述下滑轨
16
内腔形状相对应;所述滑动块
161
滑动连接于下滑轨
16
内部,所述滑动块
161
的上侧转动连接有连接杆
151
,所述连接杆
151
延伸至所述上滑动机构中;所述滑动块
161
上固定连接有分刀架
162
,所述分刀架
162
中转动连接有分条刀
163
;所述分条刀
163
的轴心部设有六边形开孔,所述六边形开孔内滑动连接有六边形转轴
164
,所述六边形转轴
164
可与多个所述分条刀
163
连接使用;还包括第一电机7与第二电机9,所述第一电机7与第二电机9分别固定连接于工作台1上;所述第二电机9的输出端固定连接有第一皮带轮,所述六边形转轴
164
的端部固定连接有第二皮带轮,所述第一皮带轮和所述第二皮带轮通过第一皮带传动件
91
传动连接。
52.采用上述方案:使用时连接杆
151
的一端设有内六角孔,内六角孔内设有六角推杆
15
,六角推杆
15
可以插接于其中一个连接杆
151
中,六角推杆
15
插接于其中一个所述连接杆
151
中可以带动所述连接杆
151
移动,在连接杆
151
的移动下会带动滑动块
161
移动,滑动块
161
在滑动槽中移动,滑动槽与滑动块
161
配合使用,在滑动块
161
移动的同时会带动分刀架
162
一起移动,分刀架
162
在移动的同时会带动的分条刀
163
进行移动,便可以达到使用者所需要的切割宽度,分条刀
163
的轴心位置设有六边形开孔,而六边形转轴
164
可以插入分条刀
163
的轴心位置,当六边形转轴
164
转动时可以带动分条刀
163
旋转,旋转的过程中可以对铝箔板进行切割分条,在分条刀
163
产生移动时,六边形转轴
164
不会影响分条刀
163
移动的,六边形转轴
164
是可以拆卸的,因分条刀
163
的轴心位置与六边形转轴
164
同是多边形,在传动时可以有效提高传动的稳定性和灵活性,接着分条刀
163
经过一系列的带动下便可以达到调节分条刀
163
间距的目的。
53.参阅图
1、图
2、图
3、图
10、图
11
和图
12
,所述上滑动调节机构包括上滑动槽
14
;所述上滑动槽
14
固定连接于第四支架8,所述上滑动槽的内腔中设有第一齿壁
142
,所述连接杆
151
的一端设有第一齿轮
143
,所述第一齿轮
143
与所述第二齿条
142
相互啮合使用。
所述上滑动槽
14
中设有升降机构,所述升降机构可配合第二齿条
142
使用,用于锁紧和固定第一齿轮
143
转动。
54.采用上述方案:使用时上滑动槽的一侧设有矩形口,第一齿轮
143
是与连接杆
151
连接的,而上滑动槽
14
中设有第一齿壁
142
,第一齿轮
143
与第一齿壁
142
相互之间啮合使
用,在啮合的过程中第一齿轮
143
会产生移动,使上滑动调节机构与下滑动机构调节位置时会更加地顺滑,进而可以使调节距离时传动会更加稳定,调节距离的精度会更加准确,并且上滑动槽
14
中还设有升降机构,通过设置升降机构可以对第一齿轮
143
产生一个约束从而对第一齿轮
143
产生一个锁紧和固定第一齿轮
143
的作用,这样可以有效提高整个机构的稳定性。
55.参阅图
1、图2及图
11
,所述升降机构包括摇柄
18、摇杆
19
和转动杆
20
,所述摇柄
18
的一侧固定连接于摇杆
19
的一侧,所述摇杆
19
固定连接于所述转动杆
20
的外表面,所述转动杆
20
安装于上滑动槽内,所述转动杆
20
另一端外表面固定连接有第二齿轮
21
,所述第二齿轮
21
的一侧转动连接有第三齿轮
22
,所述第三齿轮
22
的一侧啮合连接有齿条
23
,所述齿条
23
的一端固定连接有固定杆
24
,所述固定杆
24
内设有空腔
25
,所述空腔
25
内滑动连接有电动滑台件,所述电动滑台件的一侧设有第二齿条
144。
56.采用上述方案:使用时使用者需用手握住摇柄
19
驱动摇柄
19
转动,摇柄
19
便会带动摇杆
19
产生旋转,同时转动杆
20
也会随着摇杆
19
转动,在转动杆
20
的带动下第二齿轮
21
便会转动,同时第二齿轮
21
会带动第三齿轮
22
一起转动,第三齿轮
22
在旋转时会驱动齿条
23
上下移动,在齿条
23
同样会带动电动滑台
26
件上下移动,第二齿条
144
在电动滑动台件的带动下会产生升降的效果,第二齿条
144
通过升降机构上升到一定位置时便会停止上升,便不再固定第一齿轮
143
,这时第一齿轮
143
可以产生移动,当第二齿条
144
通过升降机构降下时下降到一定位置时会与第一齿轮
143
进行咬合,在咬合时会与第一齿壁
142
相互配合对上滑动机构和下滑动机构起到一个固定的作用,通过设置第二齿条
144
分条刀
163
在切割过程中不会产生晃动,避免切割出的铝箔板大小不均匀。
57.参阅图
11
及图
12
,所述电动滑台件包括电动滑台
26
,所述电动滑台
26
与所述空腔
25
配合使用,所述电动滑台
26
的一侧固定连接有滑动杆
27
,所述滑动杆
27
固定连接于所述第二齿条
144
上,当所述电动滑台
26
移动时带动滑动杆
27
同步移动,同时第二齿条
144
在滑动杆
27
带动下同样会产生移动并会穿过所述矩形口
141
,带动第一齿轮
143
同步移动,带动分条刀
163
同向等距离移动。
58.采用上述方案:使用时电动滑台
26
在空腔
25
内部可以实现左右移动,在移动的过程中会带动滑动杆
27
共同移动,并且滑动杆
27
可以带动第二齿条
144
移动,第二齿条
144
在升降机构和电动滑台的带动下不仅可以实现升降,还可以实现左右移动的功能,第二齿条
144
在左右移动的同时会穿过矩形槽口,第二齿条
144
移动的范围也会随之增大,第二齿条
144
在和第一齿轮
143
咬合的同时便会带动第一齿轮
143
一起移动调节位置,通过该设置可以有效提高机构整体的传动性与灵活性。
59.参阅图1及图2,所述送料机构包括第一支架
4、第二支架5和第三支架6,所述第一支架
4、第二支架5和第三支架6固定连接于工作台上,所述第一支架4之间转动连接有卷辊
41
,所述第二支架5上转动连接有张紧辊
51
,所述第三支架6上转动连接有导向辊
61
,所述第一电机7的输出端设有第二皮带传动件
71
,所述第二皮带传动件
71
传动连接于卷辊
41
,所述卷辊
41
通过第三皮带传动件传动连接于导向辊
61。
60.采用上述方案:使用时在卷辊
41
转动输出铝箔板时,铝箔板会绕着张紧辊
51
经过导向辊
61
传送到传输带上,张紧辊
51
的作用是铝箔板经过张紧辊
51
时,张紧辊
51
会压紧铝箔板,这时会给铝箔板一个张紧力,铝箔板接着会经过导向辊
61
,而导向辊
61
的作用是将铝
箔板平稳的送上传送带
13
,不会使铝箔板改变传送方向,这样可以有效提高传送效率。
61.参阅图
1、图
2、图7图8及图9,所述输料机构包括传送件、第五支架
10、第七支架
11
和第九支架
12
,所述第五支架
10、第七支架
11
和第九支架
12
固定连接于工作台上,所述传送件安装在第五支架
10、第七支架
11
和第九支架
12
之间,所述传送件包括传送带
13
,所述传送带
13
的内部设有第一主动轮
101、第二主动轮
111、第三主动轮
121
和多个从动轮,所述第一主动轮
101、所述第二主动轮
111
和所述第三主动轮
121
分别与第五支架
10、第七支架
11
和第九支架
12
转动连接,所述第五支架
10
的一侧设有第三传动齿轮
172
,所述第三传动齿轮
172
的上侧设有第一传动齿轮
17
,所述第一传动齿轮
17
固定连接于所述六边形转轴
164
的外表面,所述第三传动齿轮
172
与所述第一传动齿轮
17
通过第二传动齿轮
171
传动连接,所述传送带
13
的一侧设有压紧件。
62.采用上述方案;使用时第一主动轮
101
在第一传动齿轮
17
和第二传动齿轮
171
及第三传动齿轮
172
的带动下会给传送带输出一个主动力,使传送带
13
进行转动,而从动轮在第一主动轮的驱动下也会随之转动,在转动的同时传送带
13
上的切割完成后铝箔板会随着传送带
13
的转动从而被输送出去,并且传送带
13
使用方便,维修起来会更加容易,并缩短传送距离,可以有效提高被切割后的铝箔板传送的效率。
63.参阅图
1、图2及图7,所述压紧件包括第六支架3和第八支架2,所述第六支架3和第八支架2固定连接于工作台上,所述第六支架3之间固定连接有第一压板
131
,所述第一压板
131
的两侧固定连接于第六支架3,所述第八支架2之间设有第二压板
132
,所述第二压板
132
的两侧固定连接于第八支架,所述第一压板
131
和所述第二压板
132
中分别设有弹簧
133
,当所述分条刀
163
切割出分条铝箔板时,所述第一压板
131
与第二压板
132
用于压紧铝箔板,在压紧铝箔板时,所述第一压板
131
与所述第二压板
132
的所述弹簧
133
起到一个压紧的作用。
64.采用上述方案:使用时第一压板
131
与第二压板
132
内部均设有弹簧
133
,弹簧
133
在压板内可以对铝箔板达到缓冲减震的作用,当铝箔板经过第一压板
131
与第二压板
132
时,第一压板
131
和第二压板
132
会对铝箔板起到一个压紧的作用,对铝箔板压紧的力不会很大,同时还对被分割后的铝箔板起到一个导向的作用,通过该设置可以有效避免被分割后的铝箔板与设备之间相互碰撞摩擦对被切割后铝箔板造成一定的损害。
65.参阅图1及图8,所述第一电机7与所述第二电机9的另一输出端外表面设有第四皮带传动件
92
,所述第四皮带传动件
92
传动连接于所述第一电机7外表面与所述第二电机9外表面,所述第二电机9的外表面设有第五皮带传动件
93
,所述第五皮带传动件
93
传动连接于所述第二电机9外表面与第二主动轮
111
外表面,所述第二主动轮
111
的外表面设有第六皮带传动件
94
,所述第六皮带传动件
94
传动连接于所述第二主动轮
111
的外表面和所述第三主动轮
121
的外表面。
66.采用上述方案;第一电机7与六边形转轴
164
之间通过第一皮带传动件
91
连接,第一电机7一侧的输出端可以带动六边形转轴
164
转动,而第一电机7的另一侧的输出端通过第五皮带传动件
93
带动第二主动轮
111
进行转动,第二传动轮在转动的同时通过第六皮带传动件
94
带动第三主动轮
121
进行转动,而第一电机7与卷辊
41
之间通过第二皮带传动件
71
连接,第一电机7的输出端可以带动卷辊
41
转动,卷辊
41
的一端通过第三皮带传动件
72
带动导向辊
61
转动,第二电机9的另一端通过第四皮带传动件
92
与第二皮带传动件
71
连接,第一电机7与第二电机9之间可以相互支持传动提高整个传动机构的性能。
67.本发明的工作原理:
68.在使用时,六角推杆
15
插入连接杆
151
中,六角推杆
15
便可以推动连接杆
151
带动连接杆
151
一侧的滑动块
161
移动,滑动块
161
在滑动槽中移动,滑动槽与滑动块
161
配合使用,在滑动块
161
移动的同时会带动滑动块
161
一侧的分刀架
162
一起移动,分刀架
162
在移动的同时会带动分刀架
162
中的分条刀
163
进行移动,便可以达到使用者所需要的切割宽度,分条刀
163
的轴心位置设有六边形开孔,而六边形转轴
164
可以插入分条刀
163
的轴心位置,当六边形转轴
164
转动时可以带动分条刀
163
旋转工作。
69.综上所述:该电池铝箔分条加工机及分条加工工艺,通过上滑动机构与下滑动机构之间相互配合使用,当上滑动机构驱动下滑动机构时,下滑动机构便会带动各个分条刀之间相互调节距离,铝箔板便会根据所需要的切割宽度来调节分条刀之间的间距,便可以切割出所需要的铝箔板,解决了现有的分条机,分条刀之间的距离固定难以调节,进而不能方便地根据实际产品需求调整分隔铝箔的宽度的问题。
70.需要说明的是,在本文中,诸如第一和第二等之类的关系术语仅仅用来将一个实体或者操作与另一个实体或操作区分开来,而不一定要求或者暗示这些实体或操作之间存在任何这种实际的关系或者顺序。
而且,术语“包括”、“包含”或者其任何其他变体意在涵盖非排他性的包含,从而使得包括一系列要素的过程、方法、物品或者设备不仅包括那些要素,而且还包括没有明确列出的其他要素,或者是还包括为这种过程、方法、物品或者设备所固有的要素。
71.尽管已经示出和描述了本发明的实施例,对于本领域的普通技术人员而言,可以理解在不脱离本发明的原理和精神的情况下可以对这些实施例进行多种变化、修改、替换和变型,本发明的范围由所附权利要求及其等同物限定。
技术特征:
1.
一种电池铝箔分条加工机,包括工作台
(1),所述工作台
(1)的一侧固定连接有支架,所述支架中安装有若干分条刀
(163),其特征在于:所述工作台
(1)上固定连接有两个对齐的第四支架
(8),所述第四支架
(8)之间连接有下滑动调节机构和上滑动调节机构,所述下滑动调节机构和若干分条刀
(163)连接,所述上滑动调节机构与下滑动机构可以移动,在上滑动调节机构与下滑动调节机构的移动下,可以带动所述分条刀
(163)之间相互调节距离。2.
如权利要求1所述的一种电池铝箔分条加工机,其特征在于:所述下滑动调节机构包括下滑轨
(16)和滑动块
(161);所述下滑轨
(16)固定连接于第四支架上
(8);所述下滑轨
(16)的内腔呈凹形,所述滑动块
(161)与所述下滑轨
(16)内腔形状相对应;所述滑动块
(161)滑动连接于下滑轨
(16)内部,所述滑动块
(161)的上侧转动连接有连接杆
(151),所述连接杆
(151)延伸至所述上滑动机构中;所述滑动块
(161)上固定连接有分刀架
(162),所述分刀架
(162)中转动连接有分条刀
(163);所述分条刀
(163)的轴心部设有六边形开孔,所述六边形开孔内滑动连接有六边形转轴
(164),所述六边形转轴
(164)可与多个所述分条刀
(163)连接使用;还包括第一电机
(7)与第二电机
(9),所述第一电机
(7)与第二电机
(9)分别固定连接于工作台
(1)上;所述第二电机
(9)的输出端固定连接有第一皮带轮,所述六边形转轴
(164)的端部固定连接有第二皮带轮,所述第一皮带轮和所述第二皮带轮通过第一皮带传动件
(91)传动连接。3.
如权利要求2所述的一种电池铝箔分条加工机,其特征在于:所述上滑动调节机构包括上滑动槽
(14);所述上滑动槽
(14)固定连接于第四支架
(8),所述上滑动槽
(14)的内腔中设有第一齿壁
(142),所述连接杆
(151)的一端设有第一齿轮
(143),所述第一齿轮
(143)与所述第一齿壁
(142)相互啮合使用;所述上滑动槽
(14)中设有升降机构,所述升降机构可配合第二齿条
(142)使用,用于锁紧和固定第一齿轮
(143)转动。4.
如权利要求3所述的一种电池铝箔分条加工机,其特征在于:所述升降机构包括摇柄
(18)、摇杆
(19)和转动杆
(20),所述摇柄
(18)的一侧固定连接于摇杆
(19)的一侧,所述摇杆
(19)固定连接于所述转动杆
(20)的外表面,所述转动杆
(20)安装于上滑动槽
(14)内,所述转动杆
(20)另一端外表面固定连接有第二齿轮
(21),所述第二齿轮
(21)的一侧转动连接有第三齿轮
(22),所述第三齿轮
(22)的一侧啮合连接有齿条
(23),所述齿条
(23)的一端固定连接有固定杆
(24),所述固定杆
(24)内设有空腔
(25),所述空腔
(25)内滑动连接有电动滑台件,所述电动滑台件的一侧设有第二齿条
(144)。5.
如权利要求4所述的一种电池铝箔分条加工机,其特征在于:所述电动滑台件包括电动滑台
(26),所述电动滑台
(26)与所述空腔
(25)配合使用,所述电动滑台
(26)的一侧固定连接有滑动杆
(27),所述滑动杆
(27)固定连接于所述第二齿条
(144)上,当所述电动滑台
(26)移动时带动滑动杆
(27)同步移动,带动第一齿轮
(143)同步移动,带动分条刀
(163)同向等距离移动。
6.
如权利要求2所述的一种电池铝箔分条加工机,其特征在于:所述第四支架
(8)的一侧设有送料机构,另一侧设有输料机构。7.
如权利要求6所述的一种电池铝箔分条加工机,其特征在于:所述送料机构包括第一支架
(4)、第二支架
(5)和第三支架
(6),所述第一支架
(4)、第二支架
(5)和第三支架
(6)固定连接于工作台上,所述第一支架
(4)之间转动连接有卷辊
(41),所述第二支架
(5)上转动连接有张紧辊
(51),所述第三支架
(6)上转动连接有导向辊
(61),所述第一电机
(7)的输出端设有第二皮带传动件
(71),所述第二皮带传动件
(71)传动连接于卷辊
(41),所述卷辊
(41)通过第三皮带传动件
(72)传动连接于导向辊
(61)。8.
如权利要求6所述的一种电池铝箔分条加工机,其特征在于:所述输料机构包括传送件、第五支架
(10)、第七支架
(11)和第九支架
(12),所述第五支架
(10)、第七支架
(11)和第九支架
(12)固定连接于工作台上,所述传送件安装在第五支架
(10)、第七支架
(11)和第九支架
(12)之间,所述传送件包括传送带
(13),所述传送带
(13)的内部设有第一主动轮
(101)、第二主动轮
(111)、第三主动轮
(121)和多个从动轮,所述第一主动轮
(101)、所述第二主动轮
(111)和所述第三主动轮
(121)分别与第五支架
(10)、第七支架
(11)和第九支架
(12)转动连接,所述第五支架
(10)的一侧设有第三传动齿轮
(172),所述第三传动齿轮
(172)的上侧设有第一传动齿轮
(17),所述第一传动齿轮
(17)固定连接于所述六边形转轴
(164)的外表面,所述第三传动齿轮
(172)与所述第一传动齿轮
(17)通过第二传动齿轮
(171)传动连接,所述传送带
(13)的一侧设有压紧件。9.
如权利要求8所述的一种电池铝箔分条加工机,其特征在于:所述压紧件包括第六支架
(3)和第八支架
(2),所述第六支架
(3)和第八支架
(2)固定连接于工作台上,所述第六支架
(3)之间固定连接有第一压板
(131),所述第一压板
(131)的两侧固定连接于第六支架
(3),所述第八支架
(2)之间设有第二压板
(132),所述第二压板
(132)的两侧固定连接于第八支架,所述第一压板
(131)和所述第二压板
(132)中分别设有弹簧
(133),当所述分条刀
(163)切割出分条铝箔板时,所述第一压板
(131)与第二压板
(132)用于压紧铝箔板,在压紧铝箔板时,所述第一压板
(131)与所述第二压板
(132)的所述弹簧
(133)起到一个压紧的作用。10.
一种如权利要求
1-9
任一项所述的电池铝箔分条加工机的分条加工工艺,其特征在于,包括以下步骤:滑动机构与下滑动调节机构之间相互配合使用,当上滑动调节机构驱动下滑动调节机构时,下滑动调节机构便会带动各个分条刀
(163)之间相互调节距离,便会根据所需要的切割宽度来调节分条刀
(163)之间的间距,便可以切割出所需要尺寸的铝箔板。
技术总结
本发明公开了一种电池铝箔分条加工机及分条加工工艺,其中,电池铝箔分条加工机包括工作台,所述工作台的一侧固定连接有支架,所述支架中安装有若干分条刀,其特征在于:所述工作台上固定连接有两个对齐的第四支架,所述第四支架之间连接有下滑动调节机构和上滑动调节机构,所述下滑动调节机构和若干分条刀连接,所述上滑动调节机构与下滑动机构可以移动,在上滑动调节机构与下滑动调节机构的移动下,可以带动所述分条刀之间相互调节距离,当推杆插入连接杆时,推杆可以带动连接杆进行移动,而连接杆上的孔是螺纹孔,并且螺纹杆与连接杆可以相互旋合使用,在推杆推动连接杆移动的过程中不会发生晃动,有效的提高了调节间距的效率
技术研发人员:张鹏跃 梁万生 闫志辉
受保护的技术使用者:洛阳台联新材料有限公司
技术研发日:2023.07.31
技术公布日:2023/11/22