服务热线
180-5003-0233
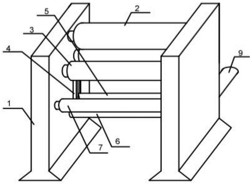
宽度可调的薄膜分切机的制作方法1.本发明属于金属化薄膜加工技术领域,特别涉及宽度可调的薄膜分切机。背景技术:2.金属化薄膜即在聚酯薄膜的表面蒸镀一层金属膜代替金属箔作为电极,因为金属化膜层的......
一种烫金纸用切割装置的制作方法本实用新型涉及烫金纸切割技术领域,尤其涉及一种烫金纸用切割装置。背景技术:在印刷生产中对产品进行烫金印刷时要用到烫金纸,烫金纸为卷筒纸,根据实际生产的情况,需要......
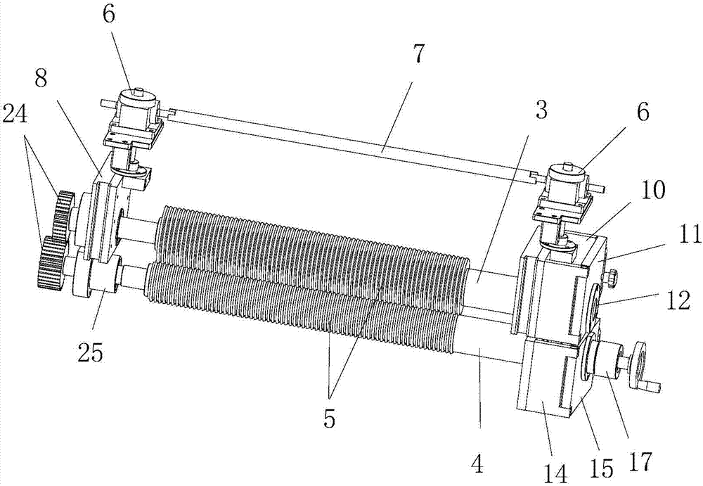
一种分切厚度可调式的叠层薄膜分切机及操作方法与流程本发明涉及一种叠层薄膜分切机及操作方法,具体为一种分切厚度可调式的叠层薄膜分切机及操作方法,属于叠层薄膜分切机应用领域。背景技术:分切机是一种将宽幅纸张、云母带......
一种印刷分切机用除尘结构的制作方法1.本实用新型涉及印刷分切机技术领域,更具体地说,本实用新型涉及一种印刷分切机用除尘结构。背景技术:2.分切机是将一大卷纸张,薄膜,无纺布,铝箔,云母带等各种薄......
锂电池隔离膜分切机蓝胶印刷设备的制作方法1.本实用新型涉及隔膜生产设备技术领域,具体涉及一种锂电池隔离膜分切机蓝胶印刷设备。背景技术:2.在锂电池隔膜的生产过程中,通常需要对隔膜进行涂布、收卷以及分切......
一种铝箔包装膜压纹分切机的制作方法1.本实用新型涉及铝箔包装膜加工技术领域,具体涉及一种铝箔包装膜压纹分切机。背景技术:2.铝箔一种用金属铝直接压延成薄片的烫印材料,其烫印效果与纯银箔烫印的效果......
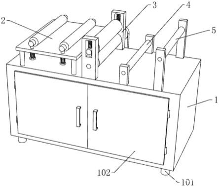
多功能复合分切机的制作方法本实用新型涉及一种加工机械,尤其涉及一种分切机。...
一种自动分切编织机的制作方法本实用新型属于编织机技术领域,具体涉及一种自动分切编织机。背景技术:编织机适用原料品种有:锦纶复丝(线)、丙纶长丝(线)、丙纶、涤纶、尼龙、PP、PE、PVC、......
PVC薄膜收卷张力调控系统的制作方法本实用新型涉及PVC薄膜收卷机,特别涉及PVC薄膜收卷张力调控系统。背景技术:PVC薄膜经分切机之后进入收卷机中卷收成卷,但是收料辊上卷收的PVC薄膜的厚度一直......
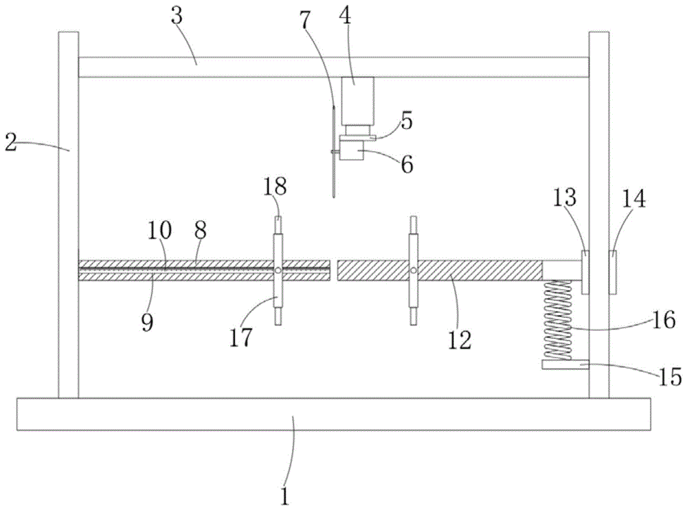
一种调刀和装刀方便的封边条分切机的圆刀切刀机构的制作方法本实用新型涉及分切机技术领域,更具体地说,是涉及一种调刀和装刀方便的封边条分切机的圆刀切刀机构。背景技术:封边条分切机是一种将PVC封边条分切成多条的机械设备。......
一种切管机去纸屑抽吸装置的制作方法本实用新型涉及纸屑抽吸用具技术领域,具体涉及一种切管机去纸屑抽吸装置。背景技术:在无纺布、造纸行业都要用到纸管芯进行卷绕,根据客户需求产品尺寸的不同,通常需要对......
一种纸管生产用精切机的制作方法1.本实用新型涉及切割机械技术领域,具体为一种纸管生产用精切机。背景技术:2.纸管精切机是纸管加工过程中常用的设备,目前,在许多行业中都会用到纸管纸芯,并且这些......
一种防止纸管打滑的切管机的制作方法1.本实用新型涉及切管机技术领域,具体为一种防止纸管打滑的切管机。背景技术:2.现有的纸芯管切管机都是靠一个中心轴转动,带动纸管一切转动,然后通过切刀切出需要的......
一种简易锯片纸管精切机的制作方法1.本发明属于切管设备技术领域,具体涉及一种简易锯片纸管精切机。背景技术:2.纸管精切机是纸管加工过程中常用的设备,目前,在许多行业中都会用到纸管纸芯,并且这些......
一种薄膜分切机纠偏装置的制作方法本实用新型涉及薄膜分切机技术领域,具体来说,涉及一种薄膜分切机纠偏装置。背景技术:薄膜分切机广泛用于包装及其它覆膜行业,可将聚酯薄膜、镀铝薄膜、BOPP LDP......