服务热线
180-5003-0233

本发明涉及一种叠层薄膜分切机及操作方法,具体为一种分切厚度可调式的叠层薄膜分切机及操作方法,属于叠层薄膜分切机应用领域。
背景技术:
分切机是一种将宽幅纸张、云母带或薄膜分切成多条窄幅材料的机械设备,常用于造纸机械、电线电缆云母带及印刷包装机械。
以前分切机的磁粉离合器速度不能高,因为在运行时易造成磁粉的高速摩擦,产生高温,缩短其寿命,严重时会卡死,使机器运行受阻,给生产带来很严重的后果。
现为采用双变频电机控制,使得收卷材料直径变大情况下通过变频电机控制来使得磁粉摩擦处于一定数值,不会出现高温现象。
分切机主要的特点是磁粉离合器作为一个阻力装置,通过系统控制,来输出一个直流电压,控制磁粉离合器产生的阻力。主要的优势是其为被动装置,可以控制较小的张力。
现有的薄膜分切机刀片位置固定,因此不能对薄膜进行厚度调节的分切方式,限制的薄膜分切机的适用范围。
技术实现要素:
本发明的目的就在于为了解决上述问题而提供一种分切厚度可调式的叠层薄膜分切机及操作方法。
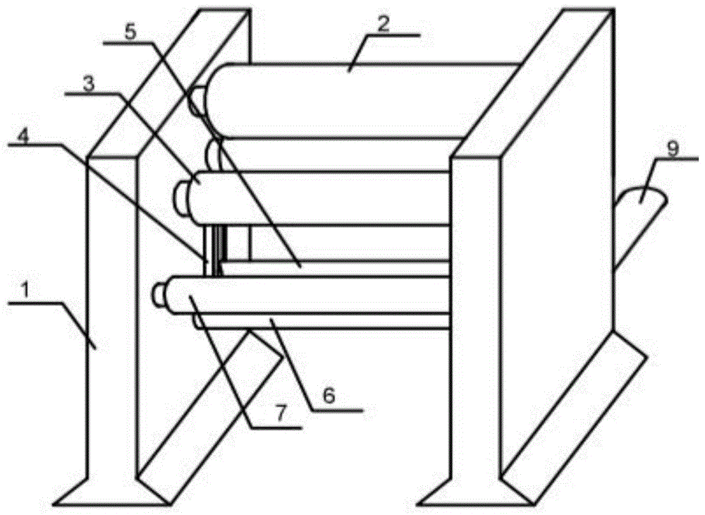
本发明通过以下技术方案来实现上述目的,一种分切厚度可调式的叠层薄膜分切机,包括两个侧板,所述两个侧板之间分别固定有料轧滚、两个平行的挤压轧滚、两个平行的张力轧滚、两个平行的收料轧滚和切割刀,所述料轧滚、挤压轧滚和所述张力轧滚依上而下设置,所述收料轧滚位于所述挤压轧滚和所述张力轧滚之间,所述切割刀位于所述挤压轧滚正下方,所述两个平行的张力轧滚和所述两个平行的收料轧滚分别位于所述切割刀两侧,所述切割刀上设有可移动的刀片,所述刀片上固定有调节模块。
优选地,所述料轧滚位于两个平行的挤压轧滚正上方,所述两个平行的张力轧滚之间的距离小于两个平行的收料轧滚之间的距离。
优选地,所述切割刀包括固定板和移动板,所述刀片通过连杆焊接在所述移动板上,所述固定板内设有移动板腔,所述移动板嵌在所述移动板腔内,所述固定板表面设有两个连杆槽,所述连杆贯穿所述连杆槽,所述调节模块包括两个固定销和横梁,所述两个固定销均螺旋固定在所述移动板侧壁两端,所述横梁固定在两个固定销之间,所述横梁上焊接有调节销,所述两个固定销上均螺旋固定有紧固螺母,所述固定板侧壁上设有销通孔,所述销通孔与所述移动板腔连通,所述侧板端面上设有固定板限位槽,所述侧板侧壁上设有销通槽,所述销通槽与所述固定板限位槽连通,所述固定销分别贯穿所述销通孔和所述销通槽,并通过所述紧固螺母固定在所述销通槽上。
优选地,所述移动板腔两个相对的内壁上分别固定有两个相对的一号弹簧柱,所述一号弹簧柱前端焊接在所述移动板侧壁上。
优选地,所述固定板表面焊接有两个限位板,所述限位板端面上设有薄膜限位槽,所述薄膜限位槽内设有刻度,所述刀片为上宽下窄的梯型结构,所述刀片两端延伸至所述薄膜限位槽内,所述刀片最前端与所述刻度相抵,所述限位板端面与所述侧板端面相抵。
优选地,所述固定板两端分别设有挤压板槽,所述挤压板槽内套设有挤压板,所述挤压板端面上固定有二号弹簧柱,所述二号弹簧柱前端焊接在所述挤压板槽内壁上,所述挤压板前端与所述固定板限位槽内壁相抵。
优选地,所述挤压板槽侧壁上设有两个呈对称结构的导向槽,所述挤压板侧壁上固定有两个呈对称结构的导向条,所述导向块,所述导向块嵌在所述导向条内。
优选地,所述刀片和所述连杆之间焊接有加固板,所述加固板底部与所述固定板表面相抵,所述加固板上设有螺纹孔,所述螺纹孔上螺旋固定有螺纹销。
一种分切厚度可调式的叠层薄膜分切机操作方法,包括以下步骤,
a、拧松紧固螺母和螺纹销,握住调节销前后推动横梁,根据需要将刀片移至与所需刻度相对应,拧紧紧固螺母和螺纹销,固定刀片和移动板;
b、接通电源,料轧滚、两个平行的挤压轧滚、两个平行的张力轧滚和两个平行的收料轧滚开启滚动工作,引导料轧滚上的薄膜经挤压轧滚挤压拉紧后嵌入薄膜限位槽内,刀片对薄膜进行分切;
c、引导分切后的薄膜分别绕过张力轧滚固定在收料轧滚上,完成分切收料操作。
本发明的有益效果是:本发明公开的一种分切厚度可调式的叠层薄膜分切机及操作方法,通过对切割刀型号的改变,实现了刀片位置的可调节,因此可以对薄膜进行不同厚度的分切,分切后的物料通过两个张力轧滚分别固定在两个收料轧滚上,且此分切机操作简单,使用方便,扩大了传统分切机的适用范围。
附图说明
图1为本发明的整体结构示意图。
图2为本发明固定板结构示意图。
图3为本发明侧板结构示意图。
图4为本发明刀片与移动板连接结构示意图。
图中:1、侧板,2、料轧滚,3、挤压轧滚,4、切割刀,5、刀片,6、张力轧滚,7、收料轧滚,8、固定板,9、调节模块,10、销通槽,11、固定板限位槽,12、限位板,13、薄膜限位槽,14、连杆槽,15、移动板腔,16、一号弹簧柱,17、销通孔,18、挤压板槽,19、导向槽,20、挤压板,21、导向块,22、二号弹簧柱,23、移动板,24、加固板,25、连杆,27、螺纹孔,28、螺纹销,29、固定销,30、横梁,31、调节销,32、刻度,33、紧固螺母。
具体实施方式
下面将结合本发明实施例中的附图,对本发明实施例中的技术方案进行清楚、完整地描述,显然,所描述的实施例仅仅是本发明一部分实施例,而不是全部的实施例。基于本发明中的实施例,本领域普通技术人员在没有做出创造性劳动前提下所获得的所有其他实施例,都属于本发明保护的范围。
在本发明的描述中,需要说明的是,术语“上”、“下”、“内”和“外”等指示的方位或位置关系为基于附图所示的方位或位置关系,仅是为了便于描述本发明和简化描述,而不是指示或暗示所指的装置或元件必须具有特定的方位、以特定的方位构造和操作,因此不能理解为对本发明的限制。此外,术语“第一”、“第二”仅用于描述目的,而不能理解为指示或暗示相对重要性。
在本发明的描述中,需要说明的是,除非另有明确的规定和限定,术语“安装”、“相连”、“连接”应做广义理解,例如,可以是固定连接,也可以是可拆卸连接,或一体地连接;可以是机械连接,也可以是电连接;可以是直接连接,也可以通过中间媒介间接连接,可以是两个元件内部的连通。对于本领域的普通技术人员而言,可以具体情况理解上述术语在本发明中的具体含义。
请参阅图1-4所示,一种分切厚度可调式的叠层薄膜分切机,包括两个侧板1,所述两个侧板1之间分别固定有料轧滚2、两个平行的挤压轧滚3、两个平行的张力轧滚6、两个平行的收料轧滚7和切割刀4,所述料轧滚2、挤压轧滚3和所述张力轧滚6依上而下设置,所述收料轧滚7位于所述挤压轧滚3和所述张力轧滚6之间,所述切割刀4位于所述挤压轧滚3正下方,所述两个平行的张力轧滚6和所述两个平行的收料轧滚7分别位于所述切割刀4两侧,所述切割刀4上设有可移动的刀片5,所述刀片5上固定有调节模块9。
料轧滚2上的薄膜宽度小于刀片5的长度,确保刀片5可以对薄膜完全切割。
所述料轧滚2位于两个平行的挤压轧滚3正上方,所述两个平行的张力轧滚6之间的距离小于两个平行的收料轧滚7之间的距离。
所述切割刀4包括固定板8和移动板23,所述刀片5通过连杆25焊接在所述移动板23上,所述固定板8内设有移动板腔15,所述移动板23嵌在所述移动板腔15内,所述固定板8表面设有两个连杆槽14,所述连杆25贯穿所述连杆槽14,所述调节模块9包括两个固定销29和横梁30,所述两个固定销29均螺旋固定在所述移动板23侧壁两端,所述横梁30固定在两个固定销29之间,所述横梁30上焊接有调节销31,所述两个固定销29上均螺旋固定有紧固螺母33,所述固定板8侧壁上设有销通孔17,所述销通孔17与所述移动板腔15连通,所述侧板1端面上设有固定板限位槽11,所述侧板1侧壁上设有销通槽10,所述销通槽10与所述固定板限位槽11连通,所述固定销29分别贯穿所述销通孔17和所述销通槽10,并通过所述紧固螺母33固定在所述销通槽10上。
固定销29螺旋固定在移动板23上,便于固定销29的拆卸。
所述移动板腔15两个相对的内壁上分别固定有两个相对的一号弹簧柱16,所述一号弹簧柱16前端焊接在所述移动板23侧壁上。
所述固定板8表面焊接有两个限位板12,所述限位板12端面上设有薄膜限位槽13,所述薄膜限位槽13内设有刻度32,所述刀片5为上宽下窄的梯型结构,所述刀片5两端延伸至所述薄膜限位槽13内,所述刀片5最前端与所述刻度32相抵,所述限位板12端面与所述侧板1端面相抵。
所述固定板8两端分别设有挤压板槽18,所述挤压板槽18内套设有挤压板20,所述挤压板20端面上固定有二号弹簧柱22,所述二号弹簧柱22前端焊接在所述挤压板槽18内壁上,所述挤压板20前端与所述固定板限位槽11内壁相抵。
所述挤压板槽18侧壁上设有两个呈对称结构的导向槽19,所述挤压板20侧壁上固定有两个呈对称结构的导向条21,所述导向块21,所述导向块21嵌在所述导向条21内。
挤压板20可移动的固定在固定板8上,达到调节固定板8长度的目的,便于固定板8的安装与拆卸。
所述刀片5和所述连杆25之间焊接有加固板24,所述加固板24底部与所述固定板8表面相抵,所述加固板24上设有螺纹孔27,所述螺纹孔27上螺旋固定有螺纹销28。
一种分切厚度可调式的叠层薄膜分切机操作方法,包括以下步骤,
a、拧松紧固螺母33和螺纹销28,握住调节销31前后推动横梁30,根据需要将刀片5移至与所需刻度32相对应,拧紧紧固螺母33和螺纹销28,固定刀片5和移动板23;
b、接通电源,料轧滚2、两个平行的挤压轧滚3、两个平行的张力轧滚6和两个平行的收料轧滚7开启滚动工作,引导料轧滚2上的薄膜经挤压轧滚3挤压拉紧后嵌入薄膜限位槽13内,刀片5对薄膜进行分切;
c、引导分切后的薄膜分别绕过张力轧滚6固定在收料轧滚7上,完成分切收料操作。
对于本领域技术人员而言,显然本发明不限于上述示范性实施例的细节,而且在不背离本发明的精神或基本特征的情况下,能够以其他的具体形式实现本发明。因此,无论从哪一点来看,均应将实施例看作是示范性的,而且是非限制性的,本发明的范围由所附权利要求而不是上述说明限定,因此旨在将落在权利要求的等同要件的含义和范围内的所有变化囊括在本发明内。不应将权利要求中的任何附图标记视为限制所涉及的权利要求。
此外,应当理解,虽然本说明书按照实施方式加以描述,但并非每个实施方式仅包含一个独立的技术方案,说明书的这种叙述方式仅仅是为清楚起见,本领域技术人员应当将说明书作为一个整体,各实施例中的技术方案也可以经适当组合,形成本领域技术人员可以理解的其他实施方式。
技术特征:
1.一种分切厚度可调式的叠层薄膜分切机,其特征在于:包括两个侧板(1),所述两个侧板(1)之间分别固定有料轧滚(2)、两个平行的挤压轧滚(3)、两个平行的张力轧滚(6)、两个平行的收料轧滚(7)和切割刀(4),所述料轧滚(2)、挤压轧滚(3)和所述张力轧滚(6)依上而下设置,所述收料轧滚(7)位于所述挤压轧滚(3)和所述张力轧滚(6)之间,所述切割刀(4)位于所述挤压轧滚(3)正下方,所述两个平行的张力轧滚(6)和所述两个平行的收料轧滚(7)分别位于所述切割刀(4)两侧,所述切割刀(4)上设有可移动的刀片(5),所述刀片(5)上固定有调节模块(9)。
2.根据权利要求1所述的一种分切厚度可调式的叠层薄膜分切机,其特征在于:所述料轧滚(2)位于两个平行的挤压轧滚(3)正上方,所述两个平行的张力轧滚(6)之间的距离小于两个平行的收料轧滚(7)之间的距离。
3.根据权利要求1所述的一种分切厚度可调式的叠层薄膜分切机,其特征在于:所述切割刀(4)包括固定板(8)和移动板(23),所述刀片(5)通过连杆(25)焊接在所述移动板(23)上,所述固定板(8)内设有移动板腔(15),所述移动板(23)嵌在所述移动板腔(15)内,所述固定板(8)表面设有两个连杆槽(14),所述连杆(25)贯穿所述连杆槽(14),所述调节模块(9)包括两个固定销(29)和横梁(30),所述两个固定销(29)均螺旋固定在所述移动板(23)侧壁两端,所述横梁(30)固定在两个固定销(29)之间,所述横梁(30)上焊接有调节销(31),所述两个固定销(29)上均螺旋固定有紧固螺母(33),所述固定板(8)侧壁上设有销通孔(17),所述销通孔(17)与所述移动板腔(15)连通,所述侧板(1)端面上设有固定板限位槽(11),所述侧板(1)侧壁上设有销通槽(10),所述销通槽(10)与所述固定板限位槽(11)连通,所述固定销(29)分别贯穿所述销通孔(17)和所述销通槽(10),并通过所述紧固螺母(33)固定在所述销通槽(10)上。
4.根据权利要求3所述的一种分切厚度可调式的叠层薄膜分切机,其特征在于:所述移动板腔(15)两个相对的内壁上分别固定有两个相对的一号弹簧柱(16),所述一号弹簧柱(16)前端焊接在所述移动板(23)侧壁上。
5.根据权利要求3所述的一种分切厚度可调式的叠层薄膜分切机,其特征在于:所述固定板(8)表面焊接有两个限位板(12),所述限位板(12)端面上设有薄膜限位槽(13),所述薄膜限位槽(13)内设有刻度(32),所述刀片(5)为上宽下窄的梯型结构,所述刀片(5)两端延伸至所述薄膜限位槽(13)内,所述刀片(5)最前端与所述刻度(32)相抵,所述限位板(12)端面与所述侧板(1)端面相抵。
6.根据权利要求3所述的一种分切厚度可调式的叠层薄膜分切机,其特征在于:所述固定板(8)两端分别设有挤压板槽(18),所述挤压板槽(18)内套设有挤压板(20),所述挤压板(20)端面上固定有二号弹簧柱(22),所述二号弹簧柱(22)前端焊接在所述挤压板槽(18)内壁上,所述挤压板(20)前端与所述固定板限位槽(11)内壁相抵。
7.根据权利要求6所述的一种分切厚度可调式的叠层薄膜分切机,其特征在于:所述挤压板槽(18)侧壁上设有两个呈对称结构的导向槽(19),所述挤压板(20)侧壁上固定有两个呈对称结构的导向条(21),所述导向块(21),所述导向块(21)嵌在所述导向条(21)内。
8.根据权利要求3所述的一种分切厚度可调式的叠层薄膜分切机,其特征在于:所述刀片(5)和所述连杆(25)之间焊接有加固板(24),所述加固板(24)底部与所述固定板(8)表面相抵,所述加固板(24)上设有螺纹孔(27),所述螺纹孔(27)上螺旋固定有螺纹销(28)。
9.一种分切厚度可调式的叠层薄膜分切机操作方法,其特征在于:包括以下步骤,
a、拧松紧固螺母(33)和螺纹销(28),握住调节销(31)前后推动横梁(30),根据需要将刀片(5)移至与所需刻度(32)相对应,拧紧紧固螺母(33)和螺纹销(28),固定刀片(5)和移动板(23);
b、接通电源,料轧滚(2)、两个平行的挤压轧滚(3)、两个平行的张力轧滚(6)和两个平行的收料轧滚(7)开启滚动工作,引导料轧滚(2)上的薄膜经挤压轧滚(3)挤压拉紧后嵌入薄膜限位槽(13)内,刀片(5)对薄膜进行分切;
c、引导分切后的薄膜分别绕过张力轧滚(6)固定在收料轧滚(7)上,完成分切收料操作。
技术总结
本发明公开了一种分切厚度可调式的叠层薄膜分切机及操作方法,包括两个侧板,所述两个侧板之间分别固定有料轧滚、两个平行的挤压轧滚、两个平行的张力轧滚、两个平行的收料轧滚和切割刀,所述切割刀上设有可移动的刀片,所述刀片上固定有调节模块。本发明通过对切割刀型号的改变,实现了刀片位置的可调节,因此可以对薄膜进行不同厚度的分切,分切后的物料通过两个张力轧滚分别固定在两个收料轧滚上,且此分切机操作简单,使用方便,扩大了传统分切机的适用范围。
技术研发人员:高翠凤
受保护的技术使用者:安徽永盛印务科技有限公司
技术研发日:2020.08.23
技术公布日:2020.12.15