服务热线
180-5003-0233
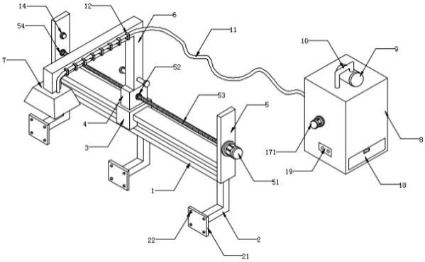
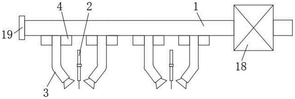
一种全自动铝箔分切机用吸尘装置的制作方法1.本实用新型涉及一种吸尘装置,特别涉及一种全自动铝箔分切机用吸尘装置,属于铝箔分切技术领域。背景技术:2.铝箔分切机主要是一种用于将宽度较大的铝箔卷材按照需求......
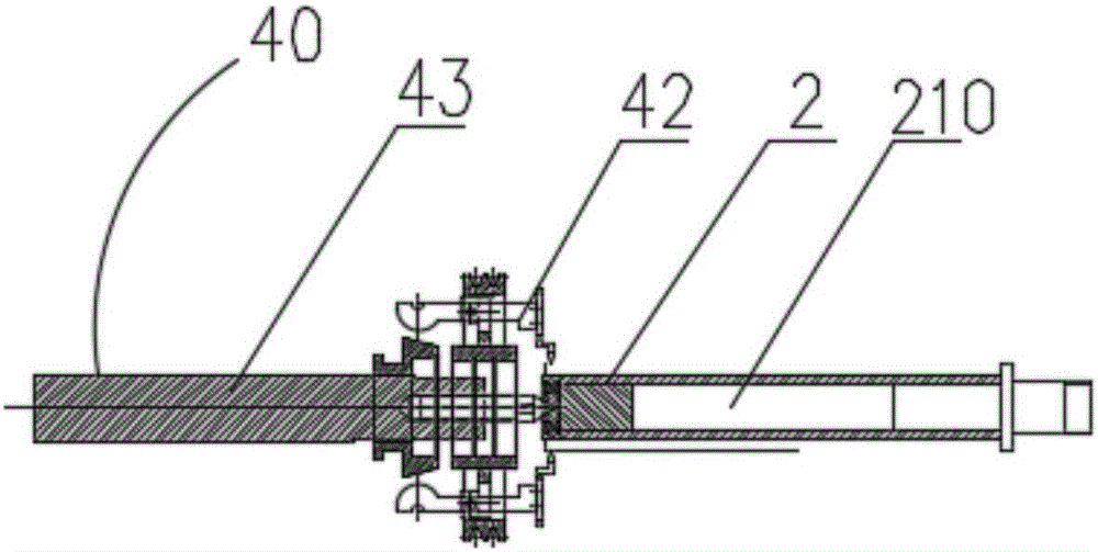
一种用于铝箔立式分切机的气涨轴夹紧装置的制作方法1.本实用新型属于铝箔生产设备技术领域,具体涉及一种用于铝箔立式分切机的气涨轴夹紧装置。背景技术:2.在铝箔生产过程中,因操作不当、来料缺陷、设备故障等原因生产......
烫金纸的使用方法及具体分类烫金纸的使用方法电化铝烫印箔是采用加热和加压力的办法,将您的图案或文字转移到被烫印材料表面。这就需要您有一台烫印机。接着就需要将您要的文字或图案作一块版(如:铅......
一种纸管加工用快速精切机的制作方法本实用新型属于纸管加工技术领域,具体涉及一种纸管加工用快速精切机。背景技术:纸管是指用纸张加工成的管状的物体,大多纸管为螺旋纸管和无缝纸管,纸管常常用来化纤、薄......
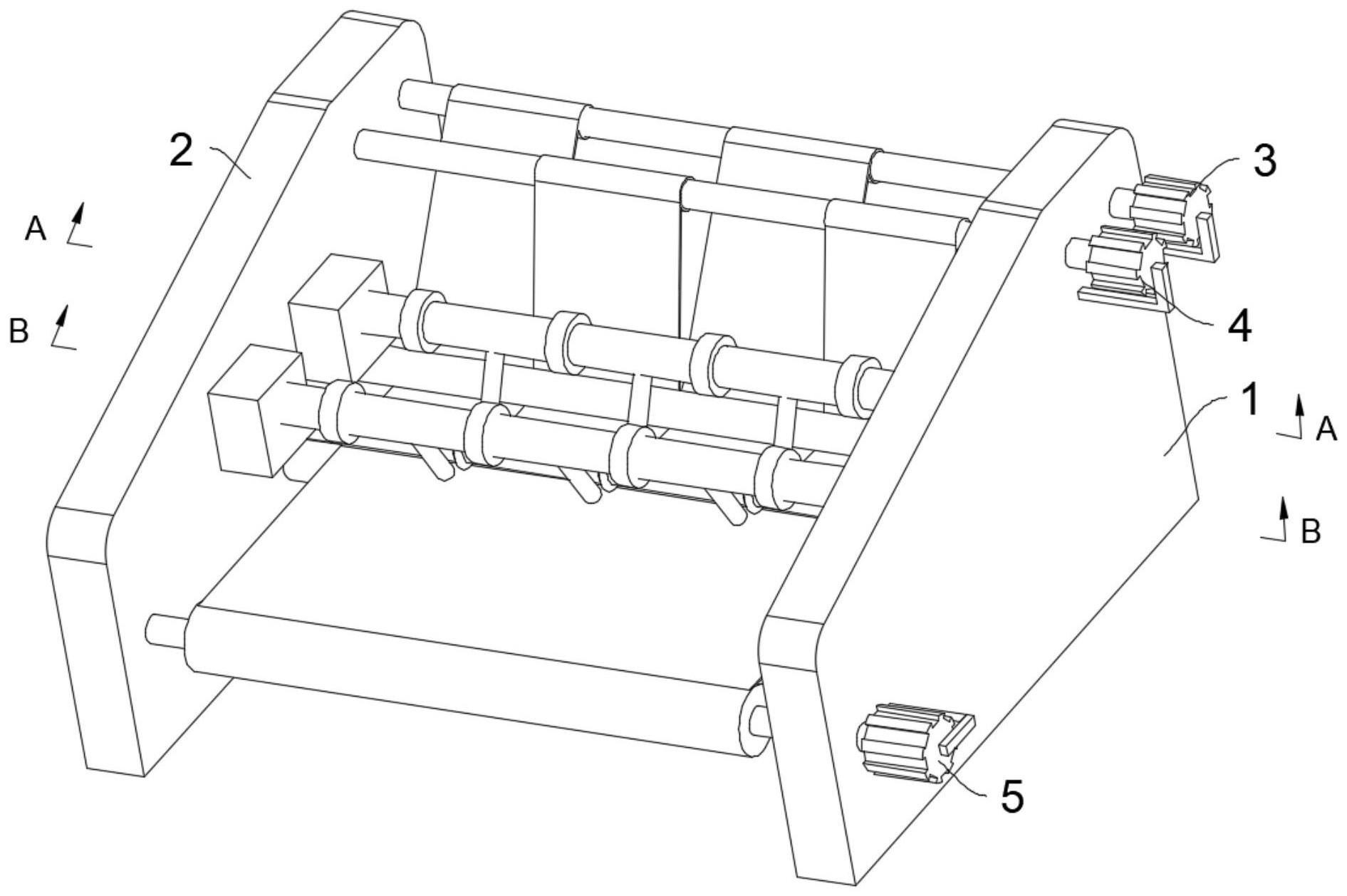
一种纸管精切机的脱料装置的制作方法本实用新型涉及精切机技术领域,尤其是一种纸管精切机的脱料装置。背景技术:纸管精切机是斜卷机的配套设备,它的主要目的是将纸管进行二次精确切割。公开号cn11074......
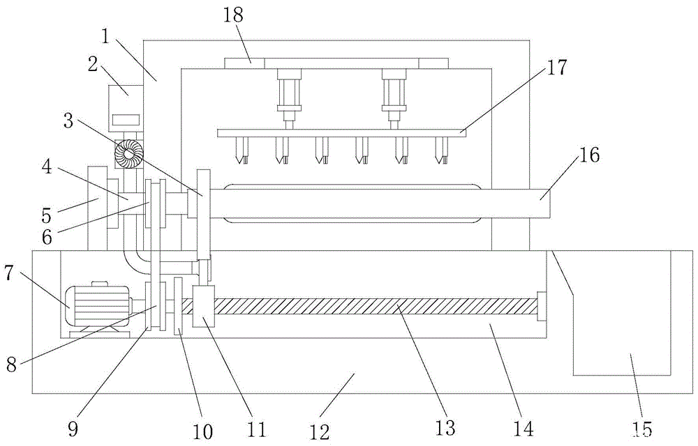
一种精准定位的纸管加工用便于上料的数控精切机的制作方法1.本实用新型涉及数控精切机技术领域,具体为一种精准定位的纸管加工用便于上料的数控精切机。背景技术:2.数控精切机又称为纸管精切机,数控精切机性能较好,工作效率......
一种纸管生产用精切机的定位机构的制作方法本实用新型涉及切割机械技术领域,具体为一种纸管生产用精切机的定位机构。背景技术:精切机又称为纸管切管机是斜卷机的配套设备,它的主要目的是将纸管进行二次精确切割以......
烫金纸产品性能和应用范围介绍烫金纸(电化铝)烫印箔是在纸张、印刷油墨、塑料、木材、皮革、板卡纸、布料等表面烫印各种颜色及文字的首选材料。图案清晰、美观、色彩鲜艳、光彩夺目、耐磨、耐候。使用......
一种电子电工用铝箔分切机入口铝粉吸附装置的制作方法本实用新型涉及铝箔生产技术领域,具体为一种电子电工用铝箔分切机入口铝粉吸附装置。背景技术:铝箔是一种用金属铝直接压延成薄片的烫印材料,其烫印效果与纯银箔烫印的效......
一种电池箔分切机及其使用方法与流程1.本发明涉及电池箔分切技术领域,具体是一种电池箔分切机及其使用方法。背景技术:2.电池箔分切机主要是用于将宽度较大的电池箔卷材按照需求进行裁切分成宽度较小的电......
高精密分切机剪切刀架的制作方法1.本发明涉及冶金技术领域,具体为高精密分切机剪切刀架。背景技术:2.铝箔是一种用金属铝直接压延成薄片的烫印材料,其烫印效果与纯银箔烫印的效果相似,故又称假银箔......
一种电容器薄膜分切机用可调节上料装置的制作方法本发明涉及电容器生产设备技术领域,更具体涉及一种电容器薄膜分切机用可调节上料装置。背景技术:电容器是电子设备中大量使用的电子元件之一,广泛应用于电路中的隔直通交......
烫金纸使用注意事项1、首先了解产品的底材。需要烫金的底材决定了选择烫金纸的系列。常用需要烫金的塑胶底材有:ABS、PP、PE、PVC(软、硬)、PC、PS、PU、TPR、TPU、......
烫金纸使用方法1.布料类平烫,烫金浆放置于丝印网版上,用胶刮浆烫金浆印到物体表面(如布片、服装等),待烫金浆干燥后,将烫金纸反扣在布料表面,130~140℃,压力4kg/cm......
全自动三工位数控纸管精切机的制作方法本实用新型涉及一种纸管精切装置。背景技术:现有的纸管精切机在生产中稳定性不高,会因为送料平台不稳定而导致纸管发生位移,因为滑块的损坏导致纸管送料运行不匀畅,会出......