服务热线
180-5003-0233
一种全自动纸管数控精切机的制作方法本实用新型涉及精切机技术领域,尤其涉及一种全自动纸管数控精切机。背景技术:纸管精切机是斜卷机的配套设备,它的主要目的是将纸管进行二次精确切割以达到客户的满意。目......
一种纸管切割设备的高精度切割机构的制作方法本实用新型涉及管体切割设备技术领域,具体为一种纸管切割设备的高精度切割机构。背景技术:纸管切管机别名(纸管精切机、精切机、纸管分切机、切纸管机)。造型美观简约,......
一种用于纸管加工的快速精切机的制作方法本实用新型涉及一种精切机,具体为一种用于纸管加工的快速精切机。背景技术:纸管在现在的工业中运用比较广泛,针对于各个领域的需要需将圆管裁剪成不同的长度,而且根据不......
什么是烫金纸?烫金纸的介绍烫金纸在我国北方俗称电化铝,它是由在聚酯薄膜(PET)和在其表面涂布的多层化学涂层组成。聚酯膜通常厚度是12微米,其中有些涂层的作用是产生装饰效果,而加外有些涂......
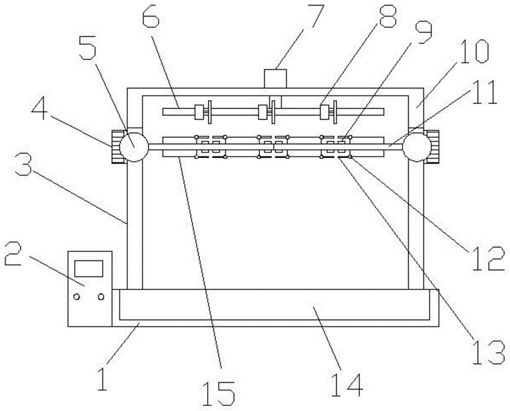
一种纸管加工用精切机的制作方法本实用新型涉及纸管加工技术领域,特别是涉及一种纸管加工用精切机。背景技术:纸管是一种纸质的竖管,常用于纱线的收卷,薄膜的收卷以及纸张的收卷等,而为了方便按照一定......
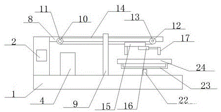
一种纸管成型精切机的制作方法1.本实用新型涉及纸管加工设备技术领域,尤其涉及一种纸管成型精切机。背景技术:2.纸管在成型时,需要使用到精切机对纸管进行精切处理,但是,目前市场上现有的精切机......
一种方形纸管精切机的制作方法本发明涉及一种切割装置,具体涉及一种方形纸管精切机。背景技术:近几年来,方形纸管逐渐被广泛应用,市场需求日益扩大,然而在其生产过程中,并没有相应的精切工艺技术来......
一种应用于锂离子电池分切机的极片卷固定装置的制作方法本实用新型涉及锂离子电池领域,具体涉及一种应用于锂离子电池分切机的极片卷固定装置。背景技术:锂离子电池分切机是一种将单个极片卷沿着极片卷的轴向分切成多个极片卷的......
实验室用锂电池极片分切裁断机的制作方法本申请涉及锂电池制造工艺,特别涉及一种实验室用锂电池极片分切裁断机。背景技术:锂电池制造中的极片分切工艺一般采用两种形式的设备。一种是手动分切机,将裁切好的片状......
一种F型分切机的收卷压辊装置及其调整方法与流程本发明涉及一种薄膜工业生产所用分切机的结构改良,尤其涉及一种f型分切机的收卷压辊装置及其调整方法。背景技术:目前的分切机主要有a型和f型,a型机通常在两侧收卷,......
一种电容器薄膜分切切割装置的制作方法本实用新型涉及分切切割装置设备领域,尤其涉及一种电容器薄膜分切切割装置。背景技术:在电容器薄膜的生产过程中主要采用分切机对电容器薄膜进行裁切,分切机是一种将宽幅......
一种电容器金属化薄膜分切机用纠偏装置的制作方法本实用新型涉及薄膜电容器生产装置技术领域,尤其涉及一种电容器金属化薄膜分切机用纠偏装置。背景技术:金属化薄膜在真空镀膜机中完成镀膜后,形成面积和体积均较大的原料......
宽度可调的薄膜分切机的制作方法1.本发明属于金属化薄膜加工技术领域,特别涉及宽度可调的薄膜分切机。背景技术:2.金属化薄膜即在聚酯薄膜的表面蒸镀一层金属膜代替金属箔作为电极,因为金属化膜层的......
一种烫金纸用切割装置的制作方法本实用新型涉及烫金纸切割技术领域,尤其涉及一种烫金纸用切割装置。背景技术:在印刷生产中对产品进行烫金印刷时要用到烫金纸,烫金纸为卷筒纸,根据实际生产的情况,需要......
一种分切厚度可调式的叠层薄膜分切机及操作方法与流程本发明涉及一种叠层薄膜分切机及操作方法,具体为一种分切厚度可调式的叠层薄膜分切机及操作方法,属于叠层薄膜分切机应用领域。背景技术:分切机是一种将宽幅纸张、云母带......