服务热线
180-5003-0233

1.本实用新型涉及铝箔包装膜加工技术领域,具体涉及一种铝箔包装膜压纹分切机。
背景技术:
2.铝箔一种用金属铝直接压延成薄片的烫印材料,其烫印效果与纯银箔烫印的效果相似,故又称假银箔。由于铝的质地柔软、延展性好,具有银白色的光泽,如果将压延后的薄片,用硅酸钠等物质裱在胶版纸上制成铝箔片,还可进行印刷。但铝箔本身易氧化而颜色变暗,摩擦、触摸等都会掉色,因此不适用于长久保存的书刊封面等的烫印。
3.中国专利公开了一种铝箔包装膜压纹分切机(授权公告号cn 213439814),该专利技术能够满足不同厚度铝箔包装膜使用,但是,压纹之间铝箔缺少压平的装置,铝箔压纹时,容易产生褶皱。因此,本领域技术人员提供了一种铝箔包装膜压纹分切机,以解决上述背景技术中提出的问题。
技术实现要素:
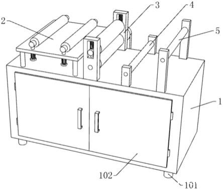
4.为解决上述技术问题,本实用新型提供一种铝箔包装膜压纹分切机,包括箱体,所述箱体底端四角处安装有支撑腿,箱体前端设有箱门,箱体一侧上端设有压紧结构,位于压紧结构的一侧设有压纹结构,压纹结构的另一侧设有导向辊,导向辊的另一侧设有收卷辊。
5.优选的:所述压紧结构包括支撑板,支撑板底端四角处安装有固定杆,固定杆固定连接箱体顶端。
6.优选的:所述支撑板上端设有压辊,压辊的两端通过转轴连接支撑块。
7.优选的:所述支撑块下端固定连接活动杆,活动杆贯穿且滑动连接支撑板。
8.优选的:所述活动杆底端固定连接限位块,活动杆位于限位块和支撑板之间处套装有弹簧一。
9.优选的:所述压纹结构包括电机,电机位于箱体内部,电机连接链轮一,链轮一位于箱体外侧,链轮一通过链条连接链轮二,链轮二连接转轴一,转轴一转动连接转轴支架,转轴支架固定连接箱体顶端,转轴一中部固定连接下压纹辊,下压纹辊上方设有上压纹辊,上压纹辊固定连接转轴二,转轴二的另一端转动连接活动块,活动块内插装有滑杆,且转轴支架位于滑杆处开设有通孔,滑杆位于活动块上方处套装有弹簧二。
10.优选的:所述支撑腿下端安装有支撑轮,箱体的一侧壁上安装有把手,推动把手方便本压纹分切机移动。
11.本实用新型的技术效果和优点:
12.本实用新型中,将铝箔包装膜放置在支撑板上,推动铝箔包装膜穿过压辊和支撑板之间的间隙,在弹簧一的作用下,压辊对铝箔包装膜挤压,使得铝箔包装膜保持平整,从而提高压纹的质量。
附图说明
13.图1是本申请实施例提供的铝箔包装膜压纹分切机结构示意图;
14.图2是本申请实施例提供的铝箔包装膜压纹分切机中压紧结构的结构示意图;
15.图3是本申请实施例提供的铝箔包装膜压纹分切机中压纹结构的结构示意图;
16.图4是本申请实施例二的结构示意图;
17.图中:1、箱体,101、支撑腿,102、箱门,103、支撑轮,104、把手,2、压紧结构,201、支撑板,202、固定杆,203、压辊,204、支撑块,205、活动杆,206、限位块,207、弹簧一,3、压纹结构,301、电机,302、链轮一,303、链条,304、链轮二,305、转轴一,306、转轴支架,3061、通孔,307、下压纹辊,308、上压纹辊,309、转轴二,310、活动块,311、滑杆,312、弹簧二,4、导向辊,5、收卷辊。
具体实施方式
18.下面结合附图和具体实施方式对本实用新型作进一步详细的说明。本实用新型的实施例是为了示例和描述起见而给出的,而并不是无遗漏的或者将本实用新型限于所公开的形式。很多修改和变化对于本领域的普通技术人员而言是显而易见的。选择和描述实施例是为了更好说明本实用新型的原理和实际应用,并且使本领域的普通技术人员能够理解本实用新型从而设计适于特定用途的带有各种修改的各种实施例。
19.实施例1
20.请参阅图1,在本实施例中提供一种铝箔包装膜压纹分切机,包括箱体1,箱体1底端四角处安装有支撑腿101,箱体1前端设有箱门102,箱体1一侧上端设有压紧结构2,位于压紧结构2的一侧设有压纹结构3,压纹结构3的另一侧设有导向辊4,导向辊4的另一侧设有收卷辊5。
21.请参阅图2,压紧结构2包括支撑板201,支撑板201底端四角处安装有固定杆202,固定杆202固定连接箱体1顶端,支撑板201上端设有压辊203,压辊203的两端通过转轴连接支撑块204,支撑块204下端固定连接活动杆205,活动杆205贯穿且滑动连接支撑板201,活动杆205底端固定连接限位块206,活动杆205位于限位块206和支撑板201之间处套装有弹簧一207。
22.请参阅图3,压纹结构3包括电机301,电机301位于箱体1内部,电机301连接链轮一302,链轮一302位于箱体1外侧,链轮一302通过链条303连接链轮二304,链轮二304连接转轴一305,转轴一305转动连接转轴支架306,转轴支架306固定连接箱体1顶端,转轴一305中部固定连接下压纹辊307,下压纹辊307上方设有上压纹辊308,上压纹辊308固定连接转轴二309,转轴二309的另一端转动连接活动块310,活动块310内插装有滑杆311,且转轴支架306位于滑杆311处开设有通孔3061,滑杆311位于活动块310上方处套装有弹簧二312。
23.实施例2
24.请参阅图4,在实施例一的基础上,支撑腿101下端安装有支撑轮103,箱体1的一侧壁上安装有把手104,推动把手104方便本压纹分切机移动。
25.本实用新型的工作原理是:
26.使用时,将铝箔包装膜放置在支撑板201上,推动铝箔包装膜穿过压辊203和支撑板201之间的间隙,在弹簧一207的作用下,压辊203对铝箔包装膜挤压,使得铝箔包装膜保
持平整,挤压后的铝箔包装膜穿过下压纹辊307和上压纹辊308之间的间隙,启动电机301,带动链轮一302转动,通过链条303带动链轮二304转动,带动转轴一305和下压纹辊307转动,利用上压纹辊308和下压纹辊307对铝箔包装膜进行压纹,压纹后的铝箔包装膜经过导向辊4后,缠绕在收卷辊5上。
27.显然,所描述的实施例仅仅是本实用新型的一部分实施例,而不是全部的实施例。基于本实用新型中的实施例,本领域及相关领域的普通技术人员在没有作出创造性劳动的前提下所获得的所有其他实施例,都应属于本实用新型保护的范围。本实用新型中未具体描述和解释说明的结构、装置以及操作方法,如无特别说明和限定,均按照本领域的常规手段进行实施。
技术特征:
1.一种铝箔包装膜压纹分切机,包括箱体(1),其特征在于,所述箱体(1)底端四角处安装有支撑腿(101),箱体(1)前端设有箱门(102),箱体(1)一侧上端设有压紧结构(2),位于压紧结构(2)的一侧设有压纹结构(3),压纹结构(3)的另一侧设有导向辊(4),导向辊(4)的另一侧设有收卷辊(5)。2.根据权利要求1所述的一种铝箔包装膜压纹分切机,其特征在于,所述压紧结构(2)包括支撑板(201),支撑板(201)底端四角处安装有固定杆(202),固定杆(202)固定连接箱体(1)顶端。3.根据权利要求2所述的一种铝箔包装膜压纹分切机,其特征在于,所述支撑板(201)上端设有压辊(203),压辊(203)的两端通过转轴连接支撑块(204)。4.根据权利要求3所述的一种铝箔包装膜压纹分切机,其特征在于,所述支撑块(204)下端固定连接活动杆(205),活动杆(205)贯穿且滑动连接支撑板(201)。5.根据权利要求4所述的一种铝箔包装膜压纹分切机,其特征在于,所述活动杆(205)底端固定连接限位块(206),活动杆(205)位于限位块(206)和支撑板(201)之间处套装有弹簧一(207)。6.根据权利要求1所述的一种铝箔包装膜压纹分切机,其特征在于,所述压纹结构(3)包括电机(301),电机(301)位于箱体(1)内部,电机(301)连接链轮一(302),链轮一(302)位于箱体(1)外侧,链轮一(302)通过链条(303)连接链轮二(304),链轮二(304)连接转轴一(305),转轴一(305)转动连接转轴支架(306),转轴支架(306)固定连接箱体(1)顶端,转轴一(305)中部固定连接下压纹辊(307),下压纹辊(307)上方设有上压纹辊(308),上压纹辊(308)固定连接转轴二(309),转轴二(309)的另一端转动连接活动块(310),活动块(310)内插装有滑杆(311),且转轴支架(306)位于滑杆(311)处开设有通孔(3061),滑杆(311)位于活动块(310)上方处套装有弹簧二(312)。7.根据权利要求1所述的一种铝箔包装膜压纹分切机,其特征在于,所述支撑腿(101)下端安装有支撑轮(103),箱体(1)的一侧壁上安装有把手(104),推动把手(104)方便本压纹分切机移动。
技术总结
本实用新型公开了一种铝箔包装膜压纹分切机,包括箱体,所述箱体底端四角处安装有支撑腿,箱体前端设有箱门,箱体一侧上端设有压紧结构,位于压紧结构的一侧设有压纹结构,压纹结构的另一侧设有导向辊,导向辊的另一侧设有收卷辊,本实用新型中,将铝箔包装膜放置在支撑板上,推动铝箔包装膜穿过压辊和支撑板之间的间隙,在弹簧一的作用下,压辊对铝箔包装膜挤压,使得铝箔包装膜保持平整,从而提高压纹的质量。纹的质量。纹的质量。
技术研发人员:金俊梅 孙杰三 孙宏伟 张玉廷
受保护的技术使用者:上海迦诺精密机械科技发展有限公司
技术研发日:2022.03.18
技术公布日:2022/7/14