服务热线
180-5003-0233
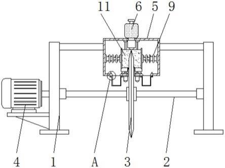
一种分切机的静电消除装置的制作方法本实用新型涉及分切机技术领域,具体为一种分切机的静电消除装置。背景技术:公知的,分切机是一种高效率,高精度的加工设备。主要应用于多种行业。分切机是一种将宽幅纸张......
分切机上的浮动辊的制作方法专利名称:分切机上的浮动辊的制作方法技术领域:本发明涉及一种分切机浮动辊,特别涉及一种垂直运动方式分切机上的浮动辊。背景技术:在本发明之前,在工位式收卷分切机上......
纸管切管机的组成部分及特点纸管切管机是一种用于切割纸管的专用设备。它通常由机架、切割刀具、传动系统和控制系统等部分组成。1. 机架:机架是纸管切管机的主体结构,通常由钢材制成,具有足够的......
用于聚氨酯泡沫的分切机的制作方法1.本实用新型涉及一种用于聚氨酯泡沫的分切机。背景技术:2.聚氨酯泡沫是以异氰酸酯和聚醚为主要原料,在发泡剂、催化剂、阻燃剂等多种助剂的作用下,通过专用设备混合......
同步盘纸分切机的制作方法专利名称:同步盘纸分切机的制作方法技术领域:本实用新型属于纸品加工机械,涉及一种盘纸分切机。现有技术的盘纸分切机,一般都是悬臂框架式结构,并配有配重装置,机型大......
纸管切管机的安全操作1、机械安全装置必须按规定正确使用,不能将其拆掉不使用。2、纸管切管机设备在运转时,严禁用手调整;也不得用手测量零件,或进行润滑、清扫杂物等。如必须进行时,则应......
分切机的自动排刀方法与流程1.本发明涉及一种自动排刀方法,尤其是一种分切机的自动排刀方法。背景技术:2.分切机用于通过数个刀具将成卷的材料分切为数条指定宽度的材料。分切机在进行分切前需要......
分切机的基础知识及发展进程分切机是一种将宽幅纸张或薄膜分切成多条窄幅材料的机械设备,常用于造纸机械及印刷包装机械。分切机的传统控制方案是利用一台大电机来驱动收放卷的轴,在收放卷轴上加有磁......
胶带分切机操作流程介绍胶带分切机由放卷机构、切割机构、收卷机构、各功能辊以及张力控制纠偏控制和检测装置组成;其工作原理为:从放卷机构放出的金属化薄膜原料,经展平辊,张力检测辊,赋能辊......
一种具有防止刀具粘连的胶带分切机的制作方法1.本实用新型涉及胶带分切机技术领域,具体为一种具有防止刀具粘连的胶带分切机。背景技术:2.分切机是一种将宽幅纸张、云母带或薄膜分切成多条窄幅材料的机械设备,常......
一种修正带分切机的自动收卷及翻转装置的制作方法1.本实用新型涉及分切机技术领域,尤其涉及一种修正带分切机的自动收卷及翻转装置。背景技术:2.分切机用于将尺寸膜状产品分切成小尺寸的膜状产品,广泛应用于造纸、包......
复卷机停机时注意事项有哪些?对于复卷机来说,在加工完毕之后,合理的进行停机工作是非常重要的,那么复卷机在停机时要注意什么呢?我们跟复卷机厂家来了解下吧。1.关机前要确认全部完成所有成品的加......
导致分切机压力不足的原因分切机在使用过程中,出现压力不足的情况,要及时的进行调整是非常重要的,那么分切机压力不足是哪些原因导致的呢?1.油缸有无泄漏;油缸是压力执行元件中比较重要的一个......
锂电池隔膜高速分切机的制作方法本实用新型涉及分切设备技术领域,更具体的说,本实用新型涉及锂电池隔膜高速分切机。背景技术:锂离子电池主要由正极材料、负极材料、隔膜、电解液和封装材料五部分组成。......
云母带分切机的相关部件的改造云母带分切机即合云母带是将云母纸和补强材料如云母带纸、电话纸、绸布、电工用无碱玻璃布、电工薄膜等用胶粘剂粘结成一个整体。它具有优异的电性能和工艺性,它被广泛地应......