服务热线
180-5003-0233

本实用新型涉及分切机技术领域,具体为一种分切机的静电消除装置。
背景技术:
公知的,分切机是一种高效率,高精度的加工设备。主要应用于多种行业。分切机是一种将宽幅纸张、云母带或薄膜分切成多条窄幅材料的机械设备,常用于造纸机械、电线电缆云母带及印刷包装机械。分切机主要的运用于:无纺布、云母带、纸张、绝缘材料及各种薄膜材料分切和窄带的分切,特别是纸张、薄膜等材料生产过程中需将其有毛刺或不需要的侧边割掉时即需要分切机。
现有技术存在以下缺陷或问题:
1、现有的技术中分切机在对薄膜等材料进行分切时,分切过程中静电过高,大量静电耦合在产品的内部,在生产后的使用容易出现粘附,不易分离和结构损伤等问题,以此急需一种分切机用的静电消除装置;
2、此外在分切机进行分切过程中,因为静电原因薄膜材料容易吸附灰尘,以至影响了产品的整洁度,后续人工自行清理的过程较为费时费力,因此对分切机的生产效益有着极大的影响。
技术实现要素:
本实用新型的目的在于针对现有技术的不足之处,提供一种分切机的静电消除装置,解决背景技术中所提到的问题。
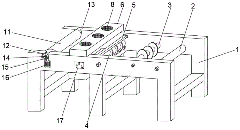
为实现上述目的,本实用新型提供如下技术方案:一种分切机的静电消除装置,包括机架,所述机架的内壁上方从右边至左以此设置有送料辊、切割辊、限位辊,所述限位辊上下端且靠近机架的内壁固定安装有长距离静电消除器,所述长距离静电消除器的一侧方且靠近机架的两侧横梁表壁设置有风箱,所述风箱的内部开设有风槽,所述风槽的内侧上端从上至下依次设置有过滤网、离子风机和挡风栅。
作为本实用新型的优选技术方案,所述限位辊的左侧设置有收卷辊,所述收卷辊的两端设置有卡槽,所述卡槽靠近机架的内侧设置有限位环。
作为本实用新型的优选技术方案,所述卡槽一端设置设置有第一圆锥齿轮,所述第一圆锥齿轮通过转轴与收卷辊固定连接,所述第一圆锥齿轮的一侧啮合连接有第二圆锥齿轮,所述第二圆锥齿轮的下端且靠近机架的侧表壁固定安装有驱动电机。
作为本实用新型的优选技术方案,所述机架侧表壁开设有通电口,所述通电口通过导线均与长距离静电消除器和离子风机电性连接。
作为本实用新型的优选技术方案,所述长距离静电消除器型号为tj-070,所述长距离静电消除器的数量为两组,且长距离静电消除器等距固定在机架的内侧壁且位于限位辊的上下两端。
作为本实用新型的优选技术方案,所述过滤网的数量为两组,且过滤网对称分布在机架横梁两表壁上,所述离子风机的数量为若干组,所述过滤网的数量与离子风机的数量相同。
作为本实用新型的优选技术方案,所述挡风栅的形状为矩形,所述挡风栅的数量为若干组,且挡风栅等距分布在风槽的下端内侧。
与现有技术相比,本实用新型提供了一种分切机的静电消除装置,具备以下有益效果:
1、该一种分切机的静电消除装置,通过设置限位辊、长距离静电消除器和通电口,可向通电口内插电并让其风箱工作,并通过限位辊对分切进行限位梳理作用,可让其分切材料输送均匀,接着通过对称分布在限位辊上下两侧的长距离静电消除器,通过其长距离静电消除器的放电输出,让其限位辊的周围形成放电正电场,方可有效降低限位辊及薄膜材料上的所带电,以此达到静电的中和及消除效果,从而避免了薄膜材料分切后大量静电耦合在产品内而致使产品出现质量问题,方可使得静电消除更稳定,以至保障分切机加工生产的安全性;
2、该一种分切机的静电消除装置,通过设置风箱、风槽、过滤网、离子风机和挡风栅,在薄膜材料分切后并进行收卷过程中,通过对称设置在机架端梁的上下表壁且位于收卷辊一侧的风箱,可通过启动离子风机工作,因其离子风机也具有出众的除静电性能,可利用其电离产生的大量电荷,并吹送至材料的两表壁,方可进一步达到除静电效果,此外通过离子风机的吹风设置下,并通过挡风栅的风挡作用下,可保证吹风均匀的覆盖在材料表面,以此来清除材料表面的灰尘杂质,方可保障材料生产后的整洁度,使得该结构更具有多功能性,进而可提高分切机的生产效益。
附图说明
图1为本实用新型整体外观立体图;
图2为本实用新型整体俯视图;
图3为本实用新型整体前视平面图;
图4为本实用新型风箱侧视剖视图。
图中:1、机架;2、送料辊;3、切割辊;4、限位辊;5、长距离静电消除器;6、风箱;7、风槽;8、过滤网;9、离子风机;10、挡风栅;11、收卷辊;12、卡槽;13、限位环;14、第一圆锥齿轮;15、第二圆锥齿轮;16、驱动电机;17、通电口。
具体实施方式
下面将结合本实用新型实施例中的附图,对本实用新型实施例中的技术方案进行清楚、完整地描述,显然,所描述的实施例仅仅是本实用新型一部分实施例,而不是全部的实施例。基于本实用新型中的实施例,本领域普通技术人员在没有做出创造性劳动前提下所获得的所有其他实施例,都属于本实用新型保护的范围。
请参阅图1-4,本实施方案中:一种分切机的静电消除装置,包括机架1,机架1的内壁上方从右边至左以此设置有送料辊2、切割辊3、限位辊4,限位辊4上下端且靠近机架1的内壁固定安装有长距离静电消除器5,长距离静电消除器5的一侧方且靠近机架1的两侧横梁表壁设置有风箱6,风箱6的内部开设有风槽7,风槽7的内侧上端从上至下依次设置有过滤网8、离子风机9和挡风栅10。
本实施例中,限位辊4的左侧设置有收卷辊11,收卷辊11的两端设置有卡槽12,卡槽12靠近机架1的内侧设置有限位环13。限位环13可用于固定收卷辊11所连接的转轴,并限位环13与卡槽12的配合下,可方便拆装收卷辊11,进行材料的取舍;卡槽12一端设置设置有第一圆锥齿轮14,第一圆锥齿轮14通过转轴与收卷辊11固定连接,第一圆锥齿轮14的一侧啮合连接有第二圆锥齿轮15,第二圆锥齿轮15的下端且靠近机架1的侧表壁固定安装有驱动电机16。驱动电机16可带动第二圆锥齿轮15并啮合连接第一圆锥齿轮14,以便驱动收卷辊11进行收卷工作;机架1侧表壁开设有通电口17,通电口17通过导线均与长距离静电消除器5和离子风机9电性连接。通电口17可用于连接外部电源,以驱使长距离静电消除器5和离子风机9供电工作;长距离静电消除器5型号为tj-070,长距离静电消除器5的数量为两组,且长距离静电消除器5等距固定在机架1的内侧壁且位于限位辊4的上下两端。通过长距离静电消除器5的放电输出,让其限位辊4的周围形成放电正电场,方可有效降低限位辊4及薄膜材料上的所带电,以此达到静电的中和及消除效果;过滤网8的数量为两组,且过滤网8对称分布在机架1横梁两表壁上,离子风机9的数量为若干组,过滤网8的数量与离子风机9的数量相同。过滤网8可用于离子风机9进风端的灰尘过滤,以保障离子风机9运行的安全性;挡风栅10的形状为矩形,挡风栅10的数量为若干组,且挡风栅10等距分布在风槽7的下端内侧。挡风栅10可保证吹风均匀的覆盖在材料表面,以此来清除材料表面的灰尘杂质,使得材料更加整洁。
本实用新型的工作原理及使用流程:首先,可通过启动驱动电机16,让其驱动电机16通过第二圆锥齿轮15带动第一圆锥齿轮14啮合并带动收卷辊11进行收卷工作,可向通电口17内插电并让其风箱6工作,并通过限位辊4对分切进行限位梳理作用,可让其分切材料输送均匀,接着通过对称分布在限位辊4上下两侧的长距离静电消除器5,通过其长距离静电消除器5的放电输出,让其限位辊4的周围形成放电正电场,方可有效降低限位辊4及薄膜材料上的所带电,以此达到静电的中和及消除效果,从而避免了薄膜材料分切后大量静电耦合在产品内而致使产品出现质量问题,方可使得静电消除更稳定,以至保障分切机加工生产的安全性;接着在薄膜材料分切后并进行收卷过程中,通过对称设置在机架1端梁的上下表壁且位于收卷辊11一侧的风箱6,可通过启动离子风机9工作,因其离子风机9也具有出众的除静电性能,可利用其电离产生的大量电荷,并吹送至材料的两表壁,方可进一步达到除静电效果,此外通过离子风机9的吹风设置,并通过挡风栅10的风挡作用下,可保证吹风均匀的覆盖在材料表面,以此来清除材料表面的灰尘杂质,方可保障材料生产后的整洁度,使得该结构更具有多功能性,进而可提高分切机的生产效益。
最后应说明的是:以上仅为本实用新型的优选实施例而已,并不用于限制本实用新型,尽管参照前述实施例对本实用新型进行了详细的说明,对于本领域的技术人员来说,其依然可以对前述各实施例所记载的技术方案进行修改,或者对其中部分技术特征进行等同替换。凡在本实用新型的精神和原则之内,所作的任何修改、等同替换、改进等,均应包含在本实用新型的保护范围之内。
技术特征:
1.一种分切机的静电消除装置,其特征在于:包括机架(1),所述机架(1)的内壁上方从右边至左以此设置有送料辊(2)、切割辊(3)、限位辊(4),所述限位辊(4)上下端且靠近机架(1)的内壁固定安装有长距离静电消除器(5),所述长距离静电消除器(5)的一侧方且靠近机架(1)的两侧横梁表壁设置有风箱(6),所述风箱(6)的内部开设有风槽(7),所述风槽(7)的内侧上端从上至下依次设置有过滤网(8)、离子风机(9)和挡风栅(10)。
2.根据权利要求1所述的一种分切机的静电消除装置,其特征在于:所述限位辊(4)的左侧设置有收卷辊(11),所述收卷辊(11)的两端设置有卡槽(12),所述卡槽(12)靠近机架(1)的内侧设置有限位环(13)。
3.根据权利要求2所述的一种分切机的静电消除装置,其特征在于:所述卡槽(12)一端设置有第一圆锥齿轮(14),所述第一圆锥齿轮(14)通过转轴与收卷辊(11)固定连接,所述第一圆锥齿轮(14)的一侧啮合连接有第二圆锥齿轮(15),所述第二圆锥齿轮(15)的下端且靠近机架(1)的侧表壁固定安装有驱动电机(16)。
4.根据权利要求1所述的一种分切机的静电消除装置,其特征在于:所述机架(1)侧表壁开设有通电口(17),所述通电口(17)通过导线均与长距离静电消除器(5)和离子风机(9)电性连接。
5.根据权利要求1所述的一种分切机的静电消除装置,其特征在于:所述长距离静电消除器(5)型号为tj-070,所述长距离静电消除器(5)的数量为两组,且长距离静电消除器(5)等距固定在机架(1)的内侧壁且位于限位辊(4)的上下两端。
6.根据权利要求1所述的一种分切机的静电消除装置,其特征在于:所述过滤网(8)的数量为两组,且过滤网(8)对称分布在机架(1)横梁两表壁上,所述离子风机(9)的数量为若干组,所述过滤网(8)的数量与离子风机(9)的数量相同。
7.根据权利要求1所述的一种分切机的静电消除装置,其特征在于:所述挡风栅(10)的形状为矩形,所述挡风栅(10)的数量为若干组,且挡风栅(10)等距分布在风槽(7)的下端内侧。
技术总结
本实用新型公开了一种分切机的静电消除装置,包括机架,机架的内壁上方从右边至左以此设置有送料辊、切割辊、限位辊,限位辊上下端且靠近机架的内壁固定安装有长距离静电消除器,长距离静电消除器的一侧方且靠近机架的两侧横梁表壁设置有风箱;该一种分切机的静电消除装置通过设置限位辊、长距离静电消除器和通电口,可达到静电的中和及消除效果,从而避免了薄膜材料分切后大量静电耦合在产品内而致使产品出现质量问题,以至保障分切机加工生产的安全性;通过设置风箱、风槽、过滤网、离子风机和挡风栅,可有效地清除材料表面的灰尘杂质,方可保障材料生产后的整洁度,使得该结构更具有多功能性,进而可提高分切机的生产效益。
技术研发人员:王一丁
受保护的技术使用者:苏州赫铭柏锝机械设备有限公司
技术研发日:2020.12.25
技术公布日:2021.08.27