服务热线
180-5003-0233
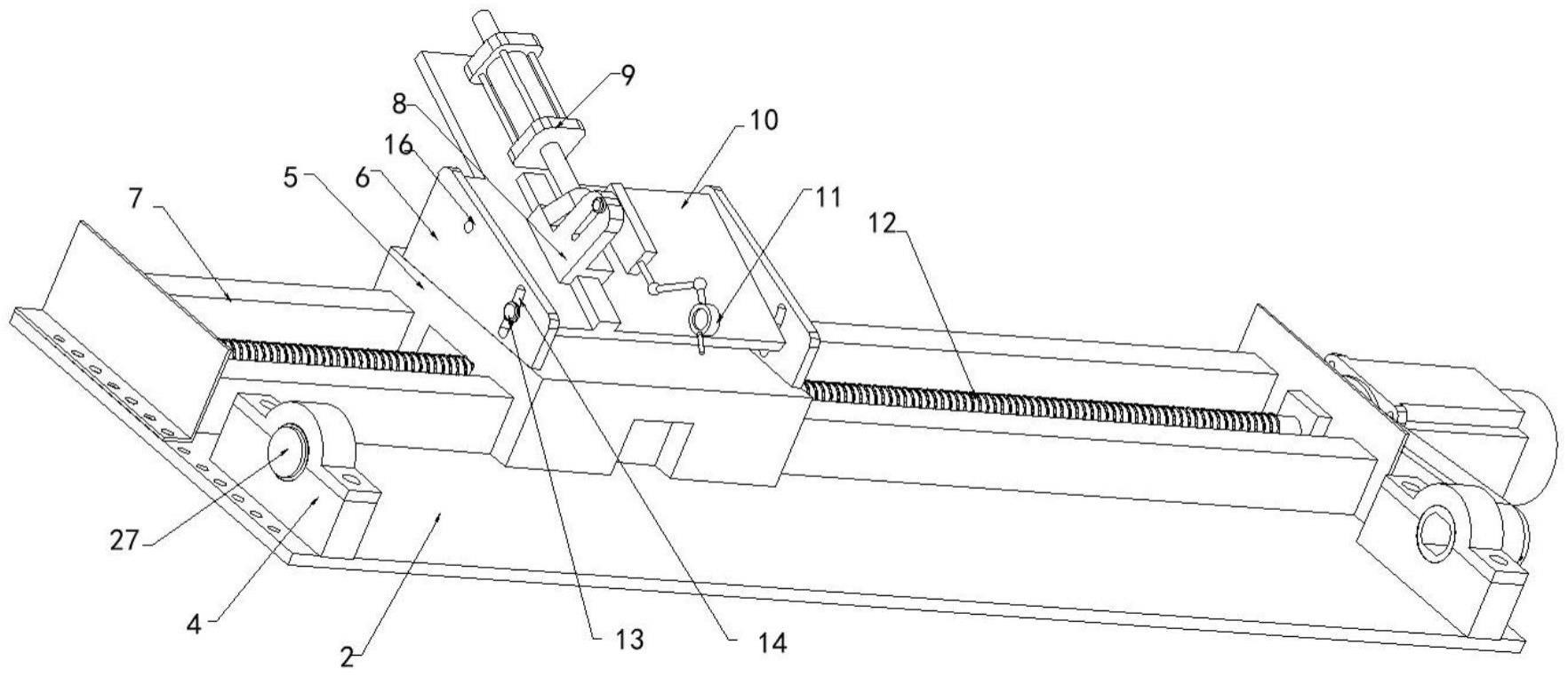
一种用于电容薄膜分切机的调刀机构的制作方法1.本实用新型涉及电容薄膜分切机技术领域,具体涉及一种用于电容薄膜分切机的调刀机构。背景技术:2.电容薄膜分切机是将电容薄膜分切成多条窄幅材料,或是裁切电容薄膜......
分切机企业是如何做大做强的分切机主要是对纸类和纺织类的切割工作,很多纸类的加工中都是用的分切机,因为效率还是比较高的很多工厂都会愿意花钱用机器来切割,主要是速度快,而且比较精确,很多做分......
薄膜分切机刀片说到底就是分切机刀片的一种薄膜分切机刀片说到底就是分切机刀片的一种,我们大致可以分成:方形分切刀片和圆形分切刀片2种。1、方形分切刀片主要适用于各类膜材料的分切加工使用。而方形分切刀片最......
新老PVC分切机在特点上有什么不一样可用于从零开始到同步速度的无级调速,对于微调,小功率调速系统高速路段。还用于用调节电流的方法调节转矩以保证卷绕过程中张力保持恒定的开卷或复卷张力控制系统。分切机......
影响高速分切机效率的因素有哪些高速分切机因为在工作时机械运行比较快,效率也会跟着提高,对于高速分切机来说很多的工厂都是有看到它的身影,尤其是对于纸张的加工,高速分切机能起到比较好的效果,下面......
高速分切机的特色说明高速分切机现在的市场也是越来越大,很多的纸类加工厂都是用的高速分切机来实现,随着科技的发展,高速分切机的优势也慢慢的显示出来,高速分切机是纸片分割的一种高速模式......
分切机的主轴材料分析说明分切机常用于造纸行业和印刷行业中,因为运转的速度比较快,也是很多工厂选择它的理由之一,工作效率就会提高,分切机的制作材料也是一个谜,很多的新手可能不知道,运作速......
薄膜分切机的基础情况分析说明薄膜分切机对于很多的包装行业帮助还是比较大的,薄膜分切机主要就是对于薄膜的分切工作,薄膜的种类也是比较多一般都是用来包装用,主要有聚酯薄膜、镀铝薄膜、BOPP ......
分切机和薄膜分切机的区别我们首先简单的介绍一下分切机,它是把一大卷的纸张、薄膜、无纺布,铝箔等各种薄材料分切成不同的宽度、不同的内径、小卷的印前、印后的设备,分切机通常运用在造纸机械和......
无纺布分切机的简单介绍无纺布分切机是一种将宽幅无纺布、纸张、云母带或薄膜分切成多条窄幅材料的机械设备,常用于造纸机械、电线电缆云母带及印刷包装机械。无纺布分切机主要的运用于无纺布、云......
无纺布分切机用途说明无纺布分切机主要用于无纺布等宽幅卷材的切边或分切,分切成实际需要尺寸的若干卷。1、框架结构:无论是一次分切还是二、三次分切,国内分切机厂家都应投入精力,在框架结......
BOPP薄膜分切技术在客户眼里,BOPP薄膜质量不仅仅取决于拉膜质量,也取决于薄膜分切机的质量。即薄膜质量除了厚度偏差、薄膜性能等与拉膜过程有关外,也取决于分切工序对其影响,如:工......
薄膜分切机的精度调整说明薄膜分切机主要是对于薄膜类型的材料进行分切作用,切割时的精准度要控制好,有的设备在使用时间久了也是会出现精准度不准的现象,这个现象也是比较正常的,要进行原因分析......
分切机在工作中出现跑偏的处理措施分切机主要是对于纸类的处理比较多,在切割过程中精确是很重要的,但是在切割过程中时间久了就会出现切割出现不精确,工作过程中出现跑偏的情况,这个现象也是比较常见的,......
分切机的开机运行步骤说明分切机对于纸类的分切还是比较有效率,很多纸类或者纺织类的加工厂都是用的分切机来加工,主要是也是比较好控制,和普通的人工相比无论是精准度还有效率都是提升了一个档次......