服务热线
180-5003-0233
云母带分切机的介绍分切机是将一大卷纸张,薄膜,无纺布,铝箔,云母带等各种薄材料分切成不同宽度小卷的印前,印后设备,常用于造纸机械及印刷包装机械。以前分切机的磁粉离合器速度不能高,......
一种分切机水平压辊装置的制作方法本实用新型涉及分切机技术领域,具体为一种分切机水平压辊装置。背景技术:分切机是一种将宽幅纸张、云母带或薄膜分切成多条窄幅材料的机械设备,常用于造纸机械、电线电缆......
影响纸张分切机纸张宽度的因素有哪些纸张分切机在分切纸张时,纸张的长度和宽度要设置好,但是由于纸张分切机工作时间久了,切割的精准度会下降,下面我们就来说下纸张分切机决定纸张宽度的因素有什么?主要决......
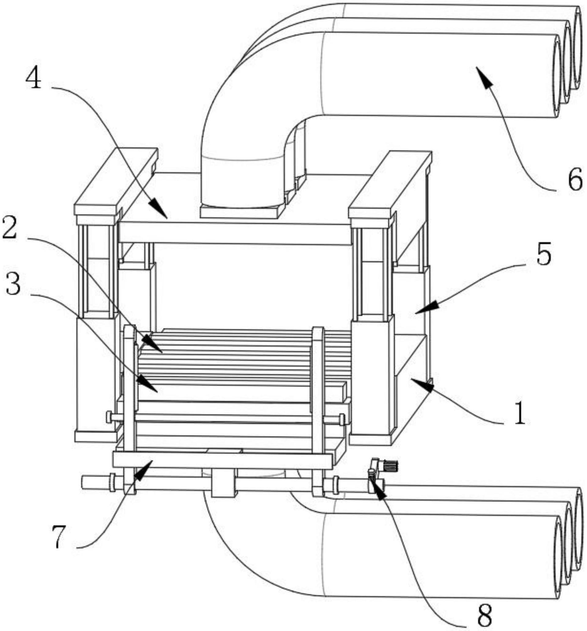
一种分切机用的除尘装置的制作方法1.本实用新型涉及分切机技术领域,具体为一种分切机用的除尘装置。背景技术:2.分切机是一种将宽幅纸张、云母带或薄膜分切成多条窄幅材料的机械设备,常用于造纸机械、......
无纺布分切机的功能及特点是什么无纺布分切机主要用于无纺布等宽幅卷材的切边或分切, 将纸管内径为75㎜,无纺布外径为600㎜,长度为1600㎜以内的卷筒基材无纺布,分切成实际需要尺寸的若干卷,......
无纺布分切机的工作原理与维护要求无纺布分切机是一种将宽幅无纺布、纸张、云母带或薄膜分切成多条窄幅材料的机械设备,常用于造纸机械、电线电缆云母带及印刷包装机械。无纺布分切机主要的运用于无纺布、云......
一种用于圆盘分切机的装刀方法及剪刃侧隙检测装置与流程本发明涉及圆盘分切机技术领域,特别是涉及一种用于圆盘分切机的装刀方法及剪刃侧隙检测装置。背景技术:圆盘分切机是采用多副上、下成对的圆盘刀组对金属板材进行分切加工......
薄膜分切机刀片虽小也要注意薄膜分切机刀片刀片虽小也要注意,须安排专人对其进行平常的维护,与保管而对于操作者须熟知机床的结构、性能。严禁超负荷使用圆刀片,不得剪切淬火钢料和硬质钢、高速钢、......
分切机,Slitter英语短句,例句大全分切机,Slitter1)Slitter['Slit?]分切机1.Modification Of Metallized Film Slitter;国产分切机的赋......
便于快速调整刀具的铝箔分切机的制作方法1.本技术涉及分切机的技术领域,尤其是涉及便于快速调整刀具的铝箔分切机。背景技术:2.铝箔是一种用金属铝直接压延成薄片的烫印材料,铝箔因其优良的特性,广泛用于食......
自动退卷、分切卷收及拔轴的无纺布高速分切机的制作方法1.本技术是申请日为2022年7月22日、申请号为2022108679551、名称为适用于无纺布的高速分切机的分案申请。技术领域2.本发明属于分切机技术领域,具......
一种电容器行业分切机非接触式除尘装置的制作方法1.本实用新型涉及电容器加工技术领域,尤其涉及一种电容器行业分切机非接触式除尘装置。背景技术:2.在对电容器进行加工时,常常需要使用到一种电容器行业分切机非接触......
一种带静电消除装置的金属化薄膜分切机的制作方法技术领域本发明涉及一种带静电消除装置的金属化薄膜分切机,属于电容器技术领域。背景技术:金属化薄膜在真空镀膜机中完成镀膜后,形成面积和体积均较大的原料膜,原料膜必......
一种具有纠偏效果的电容器加工用薄膜分切装置的制作方法1.本实用新型涉及电容器加工技术领域,尤其涉及一种具有纠偏效果的电容器加工用薄膜分切装置。背景技术:2.有感薄膜电容器薄膜电容器是以有机塑料薄膜做介质以金属箔或......
一种电容膜分切机的圆片切刀结构的制作方法本实用新型涉及分切机设备技术领域,具体为一种电容膜分切机的圆片切刀结构。背景技术:分切机由放卷机构、切割机构、收卷机构、各功能辊以及张力控制纠偏控制和检测装置组......