服务热线
180-5003-0233

专利名称:分切机上的浮动辊的制作方法
技术领域:
本发明涉及一种分切机浮动辊,特别涉及一种垂直运动方式分切机上的浮动辊。
背景技术:
在本发明之前,在工位式收卷分切机上的浮动辊主要作用是在被分切收卷的物料上建立张力,使得收卷物料平整、光滑、均匀,从而保证收卷物料的质量,稍有抖动、不均匀,就会使收卷物料成为废品、次品,造成质量下降、经济损失、成本增加,以及信誉损害。因此,为了保证收卷物料的质量,关键在于提高收卷物料的浮动辊必须能够在收卷物料上建立张力,并且提高调节的精度,杜绝浮动辊微小的波动带来的张力失去平衡而导致的收卷物料质量下降的情形。现在,通常使用的浮动辊,如图1、图2所示,支座3’安装在墙板1’上,一边一个,浮动辊连接架2’两端与支座3’连接,浮动辊6’与浮动辊连接架2’连接,机械传动装置4’安装在浮动辊连接架2’的一端上,电位器5’与机械传动装置4’连接,气缸中活塞杆7’一端与浮动辊连接架2’连接,另一端与墙板1’连接。其工作原理及方式是通过气缸中活塞杆7’往复运动带动浮动辊连接架2’作水平运动,使收卷物料在过浮动辊6’时产生张力,再由机械传动装置4’的运动,反映到电位器5’上,再将阻值信号传递到控制系统,由控制系统根据物料特性调整气缸包括活塞杆7’的伸缩,调整张力大小。这种机构及方法的缺陷是建立浮动辊张力的方式是水平方向摆动,气缸必先克服辊子的自重,但与张力的方向不一致,导致一是精度不高且又难以提高,二是为了保证一定的精度而使得整个机构非常庞大、复杂,同时对浮动辊的材质及加工要求也非常高,成本在无形中增加了许多,不符合工业化批量生产的经济性指标和要求。
发明内容
本发明的目的就在于克服上述缺陷,设计一种结构简单且能大幅度提高调整浮动辊张力精度的上下运动的浮动辊机构及装置。
本发明的技术方案是分切机上的浮动辊,浮动辊两端连接在浮动辊连接座上,其主要技术特征在于气缸中活塞杆一端固定连接在墙板上,气缸中活塞杆另一端与浮动辊连接座连接,浮动辊两端连接在浮动辊连接座上,滑动变阻器一端连接浮动辊连接座,另一端连接在墙板上,精密滚动导轨副垂直固定设置在墙板内侧上,浮动辊连接座移动设置在精密导轨副上。
本发明的优点和效果在于浮动辊采用垂直运动方式,不仅能在被分切收卷的物料上形成张力,而且大大提高了精度,同时简化了整个机构,降低了成本,缩小了整个机构的体积,也使得对浮动辊的材质要求也降低了,材质的选择有了更大的范围。
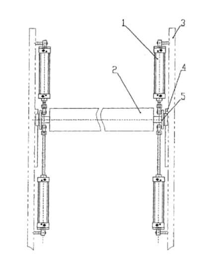
图1——现有技术中使用的浮动辊结构示意图。
图2——是图1的侧视图。
图3——本发明的浮动辊结构原理示意图。
图4——图3的侧视图。
具体实施例方式
如图3、图4所示,将精密导轨副4二个分别固定安装在两侧的墙板3内侧上;再将浮动辊连接座5安装在精密导轨副4上,可在其上作上、下垂直往复运动;浮动辊2的两端分别连接浮动辊连接座5;气缸中活塞杆1的一端与浮动辊连接座5连接,另一端与墙板3固定连接;滑动变阻器6的一端与浮动辊连接座5连接,另一端与墙板3固定连接。
工作时,气缸包括活塞杆1的往复运动带动浮动辊连接座5在精密导轨副4上作上、下运动,由于浮动辊2与浮动辊连接座5连接在一起,因此也带动浮动辊2也作上、下往复运动,使收卷的物料在浮动辊2上产生张力,与浮动辊2的上、下运动方向一致;同时,浮动辊连接座5也带动滑动变阻器6作上、下往复运动,从而使得滑动变阻器6的阻值变化及时传递到控制系统(本例中未画出,省略)中,控制系统根据物料的特性及时调整气缸中活塞杆1的伸缩,从而达到控制物料张力的目的。
为了更好地控制物料张力,提高精度,使极微小的变化都能及时得到调整,不仅在浮动辊2两端的浮动辊连接座5上设置单方向的气缸包括活塞杆1,而且在每一个气缸包括活塞杆1的对面的另一个方向上也设置同样的气缸包括活塞杆1,双向控制,因而极大地提高精度。
本发明中的浮动辊连接座5比现有技术当中的浮动辊连接架的结构大大简化,体积也大大缩小,功能却得到加强。
权利要求
1.分切机上的浮动辊,气缸中活塞杆一端固定连接在墙板上,其特征在于气缸中活塞杆另一端与浮动辊连接座连接,浮动辊两端连接在浮动辊连接座上,滑动变阻器一端连接浮动辊连接座,另一端连接在墙板上,精密滚动导轨副垂直固定设置在墙板内侧上,浮动辊连接座移动设置在精密导轨副上。
2.根据权利要求1所述的分切机上的浮动辊,其特征在于在浮动辊两端的浮动辊连接座上设置同方向的气缸。
3.根据权利要求1、2所述的分切机上的浮动辊,其特征在于在每个气缸及活塞杆的相反方向上设置同样的气缸。
全文摘要
本发明涉及一种垂直运动方式分切机上的浮动辊。本发明采用精密导轨副垂直设置在墙板内侧上,浮动辊连接座移动设置在精密导轨副,气缸中活塞杆一一端连接在墙板上,另一端连接浮动辊连接座,浮动辊两端连接浮动辊连接座,滑动变阻器一端连接浮动辊连接座。解决了现有技术中浮动辊张力方式是水平方向摆动必先克服辊子自重、与张力方向不一致而导致的精度低且无法提高驻及整个机构非常庞大等缺陷。本发明的浮动辊采用垂直上、下运动方式,不仅能在收卷物料上形成张力,且精度得以提高,体积减小,成本降低。
文档编号B65H23/26GK1654175SQ20051003789
公开日2005年8月17日 申请日期2005年2月28日 优先权日2005年2月28日
发明者许志岗 申请人:许志岗