服务热线
180-5003-0233

[0001]
本实用新型涉及铝卷带分切加工设备领域,特别是一种铝卷分切设备。
背景技术:
[0002]
铝带纵剪是顺着铝带的长度方向进行裁剪。由于铝带存在波浪或者同板差等质量问题,导致铝带纵剪获得的多条窄规格铝带的下落高度不同,下落高度大的铝带会与地面接触,如果放卷不及时,与地面接触的铝带会层叠于地面,导致铝带不能继续放卷,此时需要将不能继续放卷的该条铝带进行切断,重新放卷,影响铝带的生产效率。
技术实现要素:
[0003]
本实用新型目的是:提供一种铝卷分切设备,解决了铝卷带分切加工及导向卷绕的问题。
[0004]
本实用新型的技术方案是:一种铝卷分切设备,包括:分切用的刀轴组件、送料用的压送组件、放卷用的滚动组件。
[0005]
刀轴组件包括两根刀轴;两根刀轴平行设置,刀轴的回转表面上均匀间隔布置有刀盘。
[0006]
刀轴组件的进料一侧还布置有前导辊,前导辊可以托住铝卷带,并减少输送的摩擦力。
[0007]
在两根刀轴之间布置有可以升降调节的中间辊子,中间辊子的两端轴承座由底部气缸竖直推动。轴承座同时装配于机架上的安装槽内,轴承座由底部气缸向上方竖直推拉。中间辊子的两侧紧邻设置两根挂杆,挂杆可以让铝卷带穿绕导向,而且可以防止分切颤动。
[0008]
压送组件包括:竖直升降的压板、竖直升降的送料辊、竖直升降的弹性滚送机构,压板通过布置于机架上的电缸进行升降位移。 机架的顶部布置有三个电缸,电缸竖直向推拉压板,在机架的侧面开设有用于压板升降导向的槽。
[0009]
送料辊通过竖直推拉的顶部气缸进行升降位移;弹性滚送机构包括:导柱、滑动座;导柱上浮套滑动座,滑动座下方位承载铝料的平台。滑动座由顶部气缸竖直推拉,滑动座的一侧面上安装压料辊子,该侧背面上布置有竖直向下的弹性推杆;滑动座上设有水平延伸的侧板;侧板上安装也有配合弹性推杆的导套;侧板上且布置有推拉弹性推杆的阻尼气缸。
[0010]
滚动组件包括第一放卷辊和第二放卷辊;第二放卷辊通过摆动的摇臂悬置于第一放卷辊的上方;摇臂内还设有可向下侧伸出的第三放卷辊;第三放卷辊通过铰接在摇臂上的升降架安装于摇臂底部;第三放卷辊通过提拉气缸伸出并与第一放卷辊配合滚压。 摇臂通过转轴安装于支撑架上,转轴通过电机驱动。滚动组件与压送组件之间还设置有过渡辊子;第二放卷辊安装于摇臂的前端,随摇臂下降,第二放卷辊与过渡辊子配合滚压。
[0011]
本实用新型的优点是:本纵剪分切结构的设计新颖,布置合理,通过刀轴与辊子的组合进行压合分切,确保分切质量,同时能够稳定送料,避免震颤和分切错位。同时,增加了
压合收紧的卷绕结构,防止放卷送料分散。
附图说明
[0012]
下面结合附图及实施例对本实用新型作进一步描述:
[0013]
图1为铝卷分切设备的结构图;
[0014]
图2为铝卷分切设备的侧视图;
[0015]
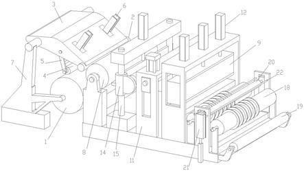
其中:1、第一放卷辊;2、第二放卷辊;3、摇臂;4、第三放卷辊;5、升降架;6、提拉气缸;7、支撑架;8、过渡辊子;9、压板;10、送料辊;11、机架;12、电缸;13、顶部气缸;14、导柱;15、滑动座;16、压料辊子;17、弹性推杆;18、刀轴;19、前导辊;20、中间辊子;21、底部气缸;22、挂杆。
具体实施方式
[0016]
本实用新型的较佳实施例:
[0017]
一种铝卷分切设备,包括:分切用的刀轴组件、送料用的压送组件、放卷用的滚动组件。铝卷带经过滚动组件进行放卷输送,然后进入压送组件进行平整处理,最后有刀轴组件进行分切。
[0018]
滚动组件包括第一放卷辊1和第二放卷辊2;第二放卷辊2通过摆动的摇臂3悬置于第一放卷辊1的上方;摇臂3内还设有可向下侧伸出的第三放卷辊4;第三放卷辊4通过铰接在摇臂3上的升降架5安装于摇臂3底部;第三放卷辊4通过提拉气缸6伸出并与第一放卷辊1配合滚压。 摇臂3通过转轴安装于支撑架7上,转轴通过电机驱动。滚动组件与压送组件之间还设置有过渡辊子8;第二放卷辊2安装于摇臂的前端,随摇臂下降,第二放卷辊2与过渡辊子8配合滚压。
[0019]
压送组件包括:竖直升降的压板9、竖直升降的送料辊10、竖直升降的弹性滚送机构,压板9通过布置于机架11上的电缸12进行升降位移。机架11的顶部布置有三个电缸12,电缸12竖直向推拉压板9,在机架11的侧面开设有用于压板9升降导向的槽。
[0020]
送料辊通过竖直推拉的顶部气缸13进行升降位移;弹性滚送机构包括:导柱14、滑动座15;导柱14上浮套滑动座15,滑动座15下方位承载铝料的平台。滑动座15由顶部气缸13竖直推拉,滑动座15的一侧面上安装压料辊子16,该侧背面上布置有竖直向下的弹性推杆;滑动座上设有水平延伸的侧板;侧板上安装也有配合弹性推杆17的导套;侧板上且布置有推拉弹性推杆17的阻尼气缸。铝卷由被送过来后,经过压料辊子的滚压,同时弹性推杆17可以对其铝卷进行第一次的整压,避免因为长期的收卷而产生表面弧度。
[0021]
刀轴组件包括两根刀轴18;两根刀轴平行设置,刀轴的回转表面上均匀间隔布置有刀盘。铝卷经过刀轴后,被刀盘进行分切,刀盘的布置间隔可以根据分切尺寸进行调整。
[0022]
刀轴组件的进料一侧还布置有前导辊19,前导辊可以托住铝卷带,并减少输送的摩擦力。
[0023]
在两根刀轴18之间布置有可以升降调节的中间辊子20,中间辊子20的两端轴承座由底部气缸21竖直推动。轴承座同时装配于机架上的安装槽内,轴承座由底部气缸21向上方竖直推拉。中间辊子的两侧紧邻设置两根挂杆22,挂杆22可以让铝卷带穿绕导向,而且可以防止分切颤动。
[0024]
上述实施例仅例示性说明本实用新型的原理及其功效,而非用于限制本实用新型。任何熟悉此技术的人士皆可在不违背本实用新型的精神及范畴下,对上述实施例进行修饰或改变。因此,举凡所属技术领域中具有通常知识者在未脱离本实用新型的所揭示的精神与技术思想下所完成的一切等效修饰或改变,仍应由本实用新型的权利要求所涵盖。
技术特征:
1.一种铝卷分切设备,包括:分切用的刀轴组件、送料用的压送组件、放卷用的滚动组件;其特征在于:所述刀轴组件包括两根刀轴;两根刀轴平行设置,在两根刀轴之间布置有可以升降调节的中间辊子;所述中间辊子的两端轴承座由底部气缸竖直推动;中间辊子的两侧紧邻设置两根挂杆;所述刀轴组件的进料一侧还布置有前导辊;所述压送组件包括:竖直升降的压板、竖直升降的送料辊、竖直升降的弹性滚送机构;所述压板通过布置于机架上的电缸进行升降位移;所述送料辊通过竖直推拉的顶部气缸进行升降位移;所述弹性滚送机构包括:导柱、滑动座;所述导柱上浮套所述滑动座;滑动座由顶部气缸竖直推拉;所述滑动座的一侧面上安装压料辊子,该侧背面上布置有竖直向下的弹性推杆;所述滑动座下方位承载铝料的平台;所述滚动组件包括第一放卷辊和第二放卷辊;所述第二放卷辊通过摆动的摇臂悬置于所述第一放卷辊的上方;所述摇臂内还设有可向下侧伸出的第三放卷辊;所述第三放卷辊通过铰接在摇臂上的升降架安装于摇臂底部;所述第三放卷辊通过提拉气缸伸出并与所述第一放卷辊配合滚压。2.根据权利要求1所述的一种铝卷分切设备,其特征在于:所述刀轴的回转表面上均匀间隔布置有刀盘;所述中间辊子的两端通过轴承座安装;轴承座同时装配于机架上的安装槽内;所述轴承座由所述底部气缸向上方竖直推拉。3.根据权利要求1所述的一种铝卷分切设备,其特征在于:所述机架的顶部布置有三个电缸,电缸竖直向推拉所述压板;在所述机架的侧面开设有用于所述压板升降导向的槽。4.根据权利要求1所述的一种铝卷分切设备,其特征在于:所述滑动座上设有水平延伸的侧板;所述侧板上安装也有配合所述弹性推杆的导套;所述侧板上且布置有推拉所述弹性推杆的阻尼气缸。5.根据权利要求1所述的一种铝卷分切设备,其特征在于:所述摇臂通过转轴安装于支撑架上;所述转轴通过电机驱动。6.根据权利要求1所述的一种铝卷分切设备,其特征在于:所述滚动组件与压送组件之间还设置有过渡辊子;所述第二放卷辊安装于摇臂的前端,随摇臂下降,所述第二放卷辊与所述过渡辊子配合滚压。
技术总结
本实用新型公开了一种铝卷分切设备,包括:分切用的刀轴组件、送料用的压送组件、放卷用的滚动组件;刀轴组件包括两根刀轴;在两根刀轴之间布置有可以升降调节的中间辊子;中间辊子的两端轴承座由底部气缸竖直推动;中间辊子的两侧紧邻设置两根挂杆;刀轴组件的进料一侧还布置有前导辊;压送组件包括:竖直升降的压板、竖直升降的送料辊、竖直升降的弹性滚送机构;压板通过布置于机架上的电缸进行升降位移;送料辊通过竖直推拉的顶部气缸进行升降位移;弹性滚送机构包括:导柱、滑动座;导柱上浮套所述滑动座;滑动座由顶部气缸竖直推拉;滑动座的一侧面上安装压料辊子,该侧背面上布置有竖直向下的弹性推杆;滑动座下方位承载铝料的平台。的平台。的平台。
技术研发人员:韦中华 胡智懋
受保护的技术使用者:创至信新材料科技(苏州)有限公司
技术研发日:2020.05.29
技术公布日:2021/1/23