服务热线
180-5003-0233

本实用新型涉及分切机技术领域,尤其涉及铜箔分切机收卷压辊装置。
背景技术:
铜箔多卷分切机一般由开卷、导向辊再向切刀轴进行分条再收卷的过程,通过精密张力控制进行控制张力再收卷的过程;操作时根据不同铜箔厚度和宽度设定合理张力参数达到收卷,由于超薄铜箔两面粗糙度小,故超薄铜箔分切机收卷对收卷精度要求较高,同时因为铜箔超薄,收卷轴收卷时易出现起皱横纹、表面有波浪条纹等现象、张力加大时出现起皱打折、减小张力时又出现窜卷现象,造成超薄铜箔分切机收卷卷小现象,如:9微米以下铜箔收卷造成米数短小卷下卷现象制约超薄铜箔发展;随着市场要求对于成本下降,要求超薄铜箔收卷卷重也越来越大,如:8微米厚600mm宽铜箔,从原要求20-60公斤每卷增加到60-150公斤每卷,这样就给铜箔分切机提出更高要求,单卷重量提高,减少使用时异停更换卷频率、减少铜箔接卷次数、减少铜箔卷底不良等报废,以达到提高工作效率、降低生产成本的目的。但这样就给生产超薄铜箔带来难度,从分切机收卷结构和超薄铜箔自身性能特殊性,增加收卷长度就增加难度,由于铜箔薄、光毛面粗糙度小,纸芯材料限制等结构影响,收卷长度增加就出现严重横纹、表面有波浪条纹不良和打滑现象。
中国实用新型专利公开号cn204588212u公开了一种铜箔分切机收卷压辊装置,包括分切机机架,所述分切机机架固定有压辊导轨固定架,所述压辊导轨固定架上固定有压辊后退导轨,压辊两端安装有轴承,所述压辊通过该轴承安装于所述压辊后退导轨上。该装置虽然能够在收卷轴在收卷铜箔的过程中,将收卷轴上的铜箔压紧,但压辊后退导轨比较占空间,且压辊给予收卷辊的压力不够。
技术实现要素:
本实用新型要解决的技术问题是现有的铜箔分切机收卷压辊装置占用空间大,给予的压力不够,为此提供一种铜箔分切机收卷压辊装置。
本实用新型的技术方案是:铜箔分切机收卷压辊装置,它包括分切机机架和收卷辊,所述分切机机架上还固接有平行且位于收卷辊上方的支撑辊,所述支撑辊的两端分别转动连接有向收卷辊方向延伸的支撑臂,所述支撑臂的自由端连接有与收卷辊平行的压辊。
上述方案的改进是所述支撑臂内部充填有填充物,所述支撑臂上开设有填充口。
上述方案中所述填充物为流动介质。
上述方案的另一改进是所述压辊内部充填有填充物,所述压辊的一端开设有填充口。
上述方案中所述填充物为流动介质。
上述方案中所述支撑臂为弧形。
本实用新型的有益效果是在收卷辊上方设置压辊,利用压辊的重力压靠在收卷辊的表面,提供足够的压紧力,随着收卷辊上收卷的铜箔的厚度增加,压辊在以支撑辊为轴心做摆动,占用空间小,结构更紧凑。
附图说明
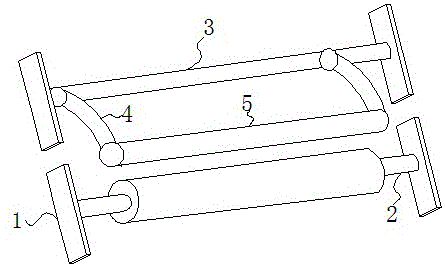
图1是本实用新型示意图;
图中,1、分切机机架,2、收卷辊,3、支撑辊,4、支撑臂,5、压辊。
具体实施方式
下面结合附图,对本实用新型实施例中的技术方案进行清楚、完整地描述。显然,所描述的实施例仅仅是本实用新型一部分实施例,而不是全部的实施例。基于本实用新型中的实施例,本领域普通技术人员在没有做出创造性劳动前提下所有其他实施例,都属于本实用新型的保护范围。
如图1所示,本实用新型包括分切机机架1和收卷辊2,所述分切机机架上还固接有平行且位于收卷辊上方的支撑辊3,所述支撑辊的两端分别转动连接有向收卷辊方向延伸的支撑臂4,所述支撑臂的自由端连接有与收卷辊平行的压辊5。
实施例1:铜箔分切机收卷压辊装置,它包括分切机机架1和收卷辊2,所述分切机机架上还固接有平行且位于收卷辊上方的支撑辊3,所述支撑辊的两端分别转动连接有向收卷辊方向延伸的支撑臂4,该支撑臂为弧形,所述支撑臂的自由端连接有与收卷辊平行的压辊5。其中支撑臂可转动的连接在支撑辊两端,支撑臂的长度恰好满足压辊搭靠在收卷辊正上方,随着收卷辊收卷的铜箔增多,压辊以支撑辊为圆心向上摆动。
实施例2:与实施例1的区别在于支撑臂的长度恰好满足压辊搭靠在收卷辊斜上方,即压辊与收卷辊稳定接触时压辊与收卷辊的轴心不共线,这样压辊与收卷辊的接触面积小,压强大,对铜箔的整平效果更显著。
实施例3:为了能够根据需要调整压辊给予收卷辊的压力,可以在支撑臂内部充填有填充物,所述支撑臂上开设有填充口。这样支撑臂的重量可以根据需要调整,而支撑臂的重量会通过压辊传递给收卷辊,进而调节铜箔所受压力大小。填充物优选是可流动介质,如水,细砂等等,方便充填也方便取出。
实施例4:为了能够根据需要调整压辊给予收卷辊的压力,还可以在压辊内部充填有填充物,所述压辊的一端开设有填充口。填充物优选是可流动介质,如水,细砂等等。
上述实施例可以根据需要任意结合,只要得到的方案不冲突都属于本实用新型的保护范围内。
本实用新型的使用方法如下:将支撑辊安装在位于收卷辊上方的机架上,当收卷辊进行收卷时旋转支撑臂使得压辊压在收卷辊上表面,随着收卷的不断进行,铜箔厚度的不断增大,压辊也随之围绕支撑辊旋转,始终给予收卷辊恒定的压力,根据需要调节支撑臂的重量和压辊的重量,确保铜箔能够合格收卷。
技术特征:
1.铜箔分切机收卷压辊装置,它包括分切机机架(1)和收卷辊(2),其特征是:所述分切机机架上还固接有平行且位于收卷辊上方的支撑辊(3),所述支撑辊的两端分别转动连接有向收卷辊方向延伸的支撑臂(4),所述支撑臂的自由端连接有与收卷辊平行的压辊(5)。
2.如权利要求1所述的铜箔分切机收卷压辊装置,其特征是:所述支撑臂内部充填有填充物,所述支撑臂上开设有填充口。
3.如权利要求1所述的铜箔分切机收卷压辊装置,其特征是:所述压辊内部充填有填充物,所述压辊的一端开设有填充口。
4.如权利要求2所述的铜箔分切机收卷压辊装置,其特征是:所述填充物为流动介质。
5.如权利要求3所述的铜箔分切机收卷压辊装置,其特征是:所述填充物为流动介质。
6.如权利要求1所述的铜箔分切机收卷压辊装置,其特征是:所述支撑臂为弧形。
技术总结
本实用新型公开了铜箔分切机收卷压辊装置,它包括分切机机架(1)和收卷辊(2),所述分切机机架上还固接有平行且位于收卷辊上方的支撑辊(3),所述支撑辊的两端分别转动连接有向收卷辊方向延伸的支撑臂(4),所述支撑臂的自由端连接有与收卷辊平行的压辊(5)。本实用新型的有益效果是在收卷辊上方设置压辊,利用压辊的重力压靠在收卷辊的表面,提供足够的压紧力,随着收卷辊上收卷的铜箔的厚度增加,压辊在以支撑辊为轴心做摆动,占用空间小,结构更紧凑。
技术研发人员:何桂青;高锋
受保护的技术使用者:铜陵市华创新材料有限公司
技术研发日:2019.07.10
技术公布日:2020.04.21