服务热线
180-5003-0233

本实用新型涉及薄膜加工技术领域,具体为一种防粘连的薄膜加工用分切机。
背景技术:
薄膜是一种涂硅保护纸为底纸的复合材料,经印刷、模切等加工后成为成品标签,其具有不用刷胶、不用浆糊、不用蘸水、无污染、节省贴标时间等优点,应用范围广,方便快捷,而目前不干胶标签上的文字通过印刷成型,但印刷出来的不干胶标签一般为整张的,即多个小标签集中在整张纸上,而各个小标签需要通过剪裁实现小标签分离。
但是,一般的薄膜加工时都是将薄膜直接放置在工作平台上,当对薄膜进行加工时,容易出现薄膜粘连的现象,影响薄膜的质量,以及不方便对薄膜进行分切时,不方便调节不同的分切尺寸,不方便使用的问题,为此我们提出了一种防粘连的薄膜加工用分切机,用来解决上述问题。
技术实现要素:
本实用新型的目的在于提供一种防粘连的薄膜加工用分切机,以解决上述背景技术中提出的一般的薄膜加工时都是将薄膜直接放置在工作平台上,当对薄膜进行加工时,容易出现薄膜粘连的现象,影响薄膜的质量,以及不方便对薄膜进行分切时,不方便调节不同的分切尺寸,不方便使用的问题。
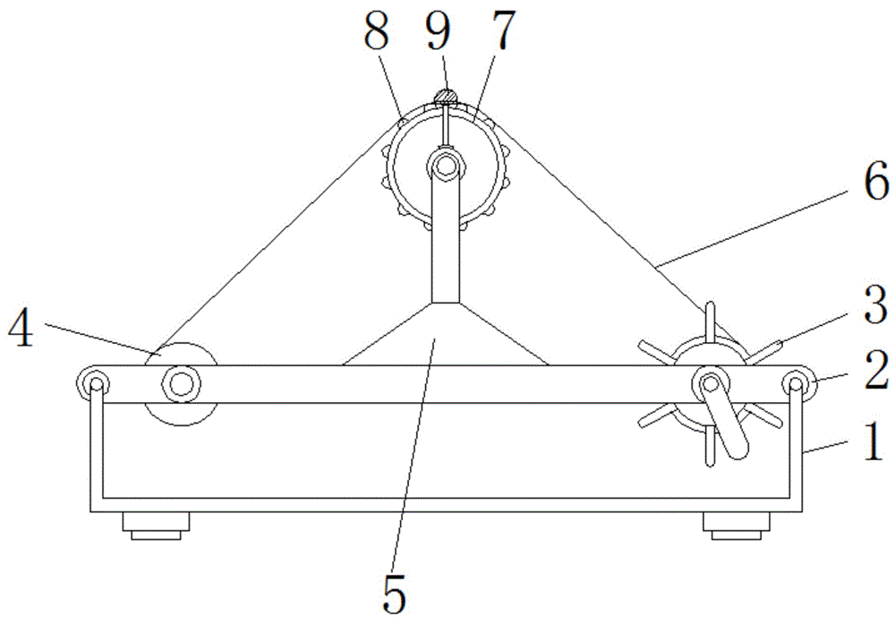
为实现上述目的,本实用新型提供如下技术方案:一种防粘连的薄膜加工用分切机,包括支撑底座和薄膜本体,所述支撑底座的上端通过螺栓固定连接有支撑横杆,且支撑横杆的左右两端分别安装有收卷辊和薄膜辊,所述支撑横杆的前后两端左侧均通过螺栓固定连接有薄膜辊,且支撑横杆的右后端通过螺栓固定连接有收卷辊,所述收卷辊的前端连接有转动把,且转动把贯穿在支撑横杆的右前端,所述支撑横杆的中部上端焊接连接有竖支杆,且竖支杆的上端固定连接有分切柱,所述分切柱的外表面粘贴连接有支撑块,且分切柱的内部贯穿连接有调节杆,所述调节杆的前端焊接连接有摇把,且摇把转动连接在分切柱的前端面,所述调节杆的外表面套设有分切装置,且前后两侧的分切装置均滑动连接在分切柱上端的滑轨上,并且中部的分切装置固定连接在分切柱的上端面上,所述薄膜本体在收卷辊和薄膜辊的外表面均有缠绕。
优选的,所述收卷辊、薄膜辊和分切柱呈三角形分布,且分切柱的外表面均匀分布有支撑块。
优选的,所述支撑块的纵截面直径尺寸小于分切装置的纵截面高度尺寸,且支撑块呈半球形结构。
优选的,所述分切装置包括连接筒、滑杆和分切刀,连接筒的上端焊接连接有滑杆,滑杆的上端焊接连接有分切刀,前后两侧的连接筒与调节杆的连接方式为螺纹连接,中部的连接筒的外表面与调节杆的内表面不接触,中部的滑杆焊接在分切柱的上端外表面。
优选的,所述调节杆的左右两端的螺纹旋进方向相反,且左右两侧的连接筒在调节杆上滑动的长度尺寸与滑轨的长度尺寸相等。
优选的,所述转动把与收卷辊接触的位置的纵截面呈六边形结构,且转动把与收卷辊的连接方式为卡合连接。
与现有技术相比,本实用新型的有益效果是:该防粘连的薄膜加工用分切机,避免对薄膜进行分切时,出现薄膜粘连的现象,以及方便根据分切的尺寸,自行调节尺寸,同时也便于对薄膜进行收集整理;
1、设有收卷辊和转动把,方便对分切好的薄膜进行收集缠绕,同时也便于对收卷辊进行拆卸更换安装,方便使用,便于根据需要安装收卷辊,便于收卷薄膜;
2、设有分切柱、分切装置和调节杆,分切装置和调节杆的连接方式为滑动连接,从而便于根据需要调节分切装置的间距尺寸,从而便于分切大小不同尺寸的薄膜,方便使用;
3、设有分切柱和支撑块,将薄膜分切的位置设置呈圆柱体,避免薄膜与分切柱的接触面积,从而避免粘连,同时也便于及时的收卷,方便使用。
附图说明
图1为本实用新型正视剖面结构示意图;
图2为本实用新型分切装置结构示意图;
图3为本实用新型分切柱和分切装置连接侧视结构示意图;
图4为本实用新型分切柱的整体结构示意图;
图5为本实用新型收卷辊和转动把连接正视剖面结构示意图;
图6为本实用新型转动把整体结构示意图。
图中:1、支撑底座;2、支撑横杆;3、收卷辊;4、薄膜辊;5、竖支杆;6、薄膜本体;7、分切柱;8、支撑块;9、分切装置;901、连接筒;902、滑杆;903、分切刀;10、滑轨;11、调节杆;12、摇把;13、转动把。
具体实施方式
下面将结合本实用新型实施例中的附图,对本实用新型实施例中的技术方案进行清楚、完整地描述,显然,所描述的实施例仅仅是本实用新型一部分实施例,而不是全部的实施例。基于本实用新型中的实施例,本领域普通技术人员在没有做出创造性劳动前提下所获得的所有其他实施例,都属于本实用新型保护的范围。
请参阅图1-6,本实用新型提供一种技术方案:一种防粘连的薄膜加工用分切机,包括支撑底座1、支撑横杆2、收卷辊3、薄膜辊4、竖支杆5、薄膜本体6、分切柱7、支撑块8、分切装置9、滑轨10、调节杆11、摇把12和转动把13,支撑底座1的上端通过螺栓固定连接有支撑横杆2,且支撑横杆2的左右两端分别安装有收卷辊3和薄膜辊4,支撑横杆2的前后两端左侧均通过螺栓固定连接有薄膜辊4,且支撑横杆2的右后端通过螺栓固定连接有收卷辊3,收卷辊3的前端连接有转动把13,且转动把13贯穿在支撑横杆2的右前端,支撑横杆2的中部上端焊接连接有竖支杆5,且竖支杆5的上端固定连接有分切柱7,分切柱7的外表面粘贴连接有支撑块8,且分切柱7的内部贯穿连接有调节杆11,调节杆11的前端焊接连接有摇把12,且摇把12转动连接在分切柱7的前端面,调节杆11的外表面套设有分切装置9,且前后两侧的分切装置9均滑动连接在分切柱7上端的滑轨10上,并且中部的分切装置9固定连接在分切柱7的上端面上,薄膜本体6在收卷辊3和薄膜辊4的外表面均有缠绕。
如图1中收卷辊3、薄膜辊4和分切柱7呈三角形分布,且分切柱7的外表面均匀分布有支撑块8,方便减少薄膜本体6与薄膜本体6的接触面积,从而减小粘连的几率,方便使用,如图1中支撑块8的纵截面直径尺寸小于分切装置9的纵截面高度尺寸,且支撑块8呈半球形结构,便于对薄膜本体6进行支撑,避免薄膜本体6贴合在分切柱7的外表面。
如图1和图2中分切装置9包括连接筒901、滑杆902和分切刀903,连接筒901的上端焊接连接有滑杆902,滑杆902的上端焊接连接有分切刀903,前后两侧的连接筒901与调节杆11的连接方式为螺纹连接,中部的连接筒901的外表面与调节杆11的内表面不接触,中部的滑杆902焊接在分切柱7的上端外表面,方便对薄膜本体6进行裁剪,方便使用,如图2和图3中调节杆11的左右两端的螺纹旋进方向相反,且左右两侧的连接筒901在调节杆11上滑动的长度尺寸与滑轨10的长度尺寸相等,便于调节分切装置9的间距尺寸,方便裁剪长度不同的薄膜本体6。
如图4和图5中转动把13与收卷辊3接触的位置的纵截面呈六边形结构,且转动把13与收卷辊3的连接方式为卡合连接,方便安装与拆卸收卷辊3,便于缠绕与更换,方便使用。
工作原理:在使用该防粘连的薄膜加工用分切机时,首先根据薄膜本体6的宽度尺寸,结合薄膜本体6需要分切的尺寸,将如图3中的摇把12进行旋转,从而便于带动调节杆11进行旋转,调节杆11上前后两侧的分切装置9在分切柱7上进行滑动,从而便于调节前后2个分切装置9的间距尺寸,从而方便分切薄膜本体6,结合如图1中,转动收卷辊3时,方便对薄膜本体6进行缠绕收卷,同时也便于薄膜本体6贴合支撑块8在分切柱7上进行滑动,从而便于在分切装置9的裁剪下,进行分切,同时支撑块8呈半球形结构,方便对薄膜本体6进行支撑,同时也便于减小薄膜本体6与分切柱7的接触面积,避免分切时,薄膜本体6与分切柱7进行粘连,影响使用,结合图2中的分切刀903通过滑杆902和连接筒901在分切柱7上进行滑动,同时也便于固定安装在分切柱7上,方便对缠绕收卷的薄膜本体6进行裁剪,提高裁剪的效率,方便使用,这就是防粘连的薄膜加工用分切机使用的整个过程。
尽管已经示出和描述了本实用新型的实施例,对于本领域的普通技术人员而言,可以理解在不脱离本实用新型的原理和精神的情况下可以对这些实施例进行多种变化、修改、替换和变型,本实用新型的范围由所附权利要求及其等同物限定。
技术特征:
1.一种防粘连的薄膜加工用分切机,包括支撑底座(1)和薄膜本体(6),其特征在于:所述支撑底座(1)的上端通过螺栓固定连接有支撑横杆(2),且支撑横杆(2)的左右两端分别安装有收卷辊(3)和薄膜辊(4),所述支撑横杆(2)的前后两端左侧均通过螺栓固定连接有薄膜辊(4),且支撑横杆(2)的右后端通过螺栓固定连接有收卷辊(3),所述收卷辊(3)的前端连接有转动把(13),且转动把(13)贯穿在支撑横杆(2)的右前端,所述支撑横杆(2)的中部上端焊接连接有竖支杆(5),且竖支杆(5)的上端固定连接有分切柱(7),所述分切柱(7)的外表面粘贴连接有支撑块(8),且分切柱(7)的内部贯穿连接有调节杆(11),所述调节杆(11)的前端焊接连接有摇把(12),且摇把(12)转动连接在分切柱(7)的前端面,所述调节杆(11)的外表面套设有分切装置(9),且前后两侧的分切装置(9)均滑动连接在分切柱(7)上端的滑轨(10)上,并且中部的分切装置(9)固定连接在分切柱(7)的上端面上,所述薄膜本体(6)在收卷辊(3)和薄膜辊(4)的外表面均有缠绕。
2.根据权利要求1所述的一种防粘连的薄膜加工用分切机,其特征在于:所述收卷辊(3)、薄膜辊(4)和分切柱(7)呈三角形分布,且分切柱(7)的外表面均匀分布有支撑块(8)。
3.根据权利要求1所述的一种防粘连的薄膜加工用分切机,其特征在于:所述支撑块(8)的纵截面直径尺寸小于分切装置(9)的纵截面高度尺寸,且支撑块(8)呈半球形结构。
4.根据权利要求1所述的一种防粘连的薄膜加工用分切机,其特征在于:所述分切装置(9)包括连接筒(901)、滑杆(902)和分切刀(903),连接筒(901)的上端焊接连接有滑杆(902),滑杆(902)的上端焊接连接有分切刀(903),前后两侧的连接筒(901)与调节杆(11)的连接方式为螺纹连接,中部的连接筒(901)的外表面与调节杆(11)的内表面不接触,中部的滑杆(902)焊接在分切柱(7)的上端外表面。
5.根据权利要求4所述的一种防粘连的薄膜加工用分切机,其特征在于:所述调节杆(11)的左右两端的螺纹旋进方向相反,且左右两侧的连接筒(901)在调节杆(11)上滑动的长度尺寸与滑轨(10)的长度尺寸相等。
6.根据权利要求1所述的一种防粘连的薄膜加工用分切机,其特征在于:所述转动把(13)与收卷辊(3)接触的位置的纵截面呈六边形结构,且转动把(13)与收卷辊(3)的连接方式为卡合连接。
技术总结
本实用新型公开了一种防粘连的薄膜加工用分切机,包括支撑底座和薄膜本体,所述支撑底座的上端通过螺栓固定连接有支撑横杆,且支撑横杆的左右两端分别安装有收卷辊和薄膜辊,所述支撑横杆的前后两端左侧均通过螺栓固定连接有薄膜辊,所述收卷辊的前端连接有转动把,所述支撑横杆的中部上端焊接连接有竖支杆,所述分切柱的外表面粘贴连接有支撑块,所述调节杆的前端焊接连接有摇把,所述调节杆的外表面套设有分切装置,所述薄膜本体在收卷辊和薄膜辊的外表面均有缠绕。该防粘连的薄膜加工用分切机,避免对薄膜进行分切时,出现薄膜粘连的现象,以及方便根据分切的尺寸,自行调节尺寸,同时也便于对薄膜进行收集整理。
技术研发人员:刘兆利;张胜泉;齐顺焱;王士坤;孙廷远;陈瑞生;宋邦峰;李培尚
受保护的技术使用者:河南优沃特实业有限公司
技术研发日:2019.06.04
技术公布日:2020.02.07