服务热线
180-5003-0233
一种锂离子电池极片分切机设备的制作方法1.本发明涉及电池生产设备技术领域,具体为一种锂离子电池极片分切机设备。背景技术:2.根据中国专利号cn201811352230.9,本发明公开了一种具有除静电......
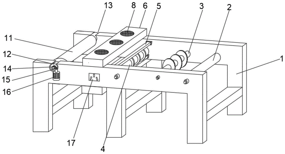
一种锂电池极片分切机的制作方法本实用新型涉及锂电池应用技术领域,具体为一种锂电池极片分切机。背景技术:锂电池是一类由锂金属或锂合金为负极材料、使用非水电解质溶液的电池,由于锂金属的化学特性非......
一种具有切刀加热功能的分切机的制作方法本实用新型涉及一种切割设备,特别是针对一种具有切刀加热功能的分切机。背景技术:塑料片材在生产完成后往往需要进行分切加工,对于一些硬度和脆性较高的塑料片材往往通过......
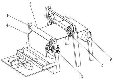
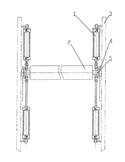
分切机纠偏装置的制作方法本实用新型涉及一种纠偏装置,尤其是分切机纠偏装置。背景技术:现有的分切机的纠偏装置采用接近开关检测铝带边缘的位置,通过步进电机带动螺杆,螺杆带动螺母左右移动,螺......
一种电解铜箔用分切机的制作方法1.本发明属于分切机技术领域,尤其涉及一种电解铜箔用分切机。背景技术:2.分切机是一种将宽幅纸张、云母带或薄膜等分切成多条窄幅材料的机械设备,常用于造纸机械、电......
高速收放卷的控制方法、控制系统及分切机与流程本申请涉及分切领域,特别是涉及高速收放卷的控制方法、控制系统及分切机。背景技术:分切机是将一大卷纸张,薄膜,无纺布,铝箔,云母带等各种薄材料分切成不同宽度小卷的......
分切机的安全操作规程及安全注意事项分切机的安全操作规程:1、检查机器设备是否正常并将滚轴擦洗干净: 2、在相应位置装上与所需隔膜宽度相等的模具及刀片,模具及刀片不得有油污,灰尘,生锈等刀片需锋利......
包装机的种类多种多样 可以分哪几种包装机的种类繁多,分类方法很多。从不同的观点出发可有多种,按机械种类分为:液体包装机、粉剂包装机、颗粒包装机、贴体包装机、酱类包装机、电子组合秤包装机、枕式包装......
包装机的产品外围说明简单来说包装机就是把产品包装起来机器,起着保护,美观的作用。主要应用于食品,医药,日化 五金、灯饰、家具等行业的(袋装、瓶装)产品的灌装(添充),封口机,打码。......
纸张分切机的主要结构纸张分切机由机架、传动系统、收放料机械及张力控制装置、牵引构件、分切支架、废料收卷与排放装置等组成。它是将原材料分切成若干条独立单元,其工作原理是将原材料固定在......
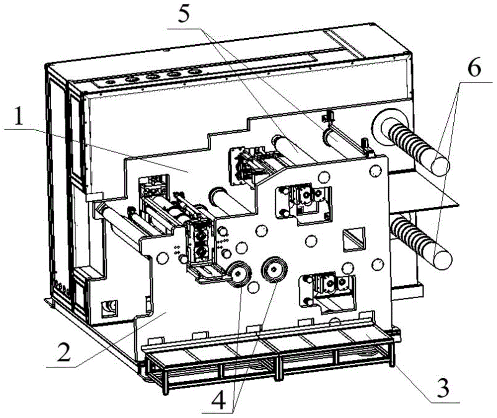
锂电池极片分切机的制作方法本实用新型锂电池极片切割领域,特别是涉及一种锂电池极片分切机。背景技术:锂电池极片分切机是按照锂离子电池的生产工艺要求,完成电池极片的分切成条。设备主要由切刀机......
纸张分切机的主要部件的工作原理1、机架与传动系统:机架由左右墙板与撑挡以及放料机械组成.传动系统主要是用来牵引原料、收卷成品,它是由变频无级调速电机将动力通过电机V型带使牵引胶辊运转,主牵引......
一种分切机的静电消除装置的制作方法本实用新型涉及分切机技术领域,具体为一种分切机的静电消除装置。背景技术:公知的,分切机是一种高效率,高精度的加工设备。主要应用于多种行业。分切机是一种将宽幅纸张......
分切机上的浮动辊的制作方法专利名称:分切机上的浮动辊的制作方法技术领域:本发明涉及一种分切机浮动辊,特别涉及一种垂直运动方式分切机上的浮动辊。背景技术:在本发明之前,在工位式收卷分切机上......
纸管切管机的组成部分及特点纸管切管机是一种用于切割纸管的专用设备。它通常由机架、切割刀具、传动系统和控制系统等部分组成。1. 机架:机架是纸管切管机的主体结构,通常由钢材制成,具有足够的......