服务热线
180-5003-0233
一种改进型的复卷机的制作方法本实用新型涉及造纸设备,尤其涉及一种改进型的复卷机。背景技术:现有技术中,复卷机是造纸领域中的主要设备之一,用于将从卷纸机生产的原纸进行解卷、切边、分切和复卷,......
粘性胶带复卷分切一体设备的制作方法本实用新型属于粘性胶带复卷技术领域,尤其是涉及一种粘性胶带复卷分切一体设备。背景技术:粘性胶带具有较强的抗张力和初粘性,同时由于具有持粘力久,性能坚固耐用韧性好......
关于透明离型膜购买的技巧攻略都在这里了离型膜是指薄膜表面能有区分的薄膜,离型膜与特定的材料在有限的条件下接触后不具有粘性,或轻微的粘性。离型膜,又称剥离膜、隔离膜、分离膜、阻胶膜、离形膜、薄膜、塑料......
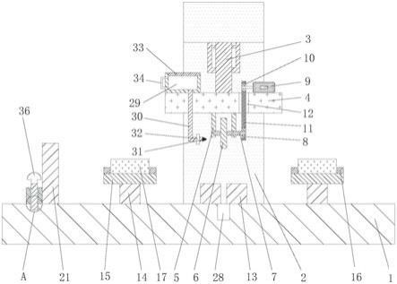
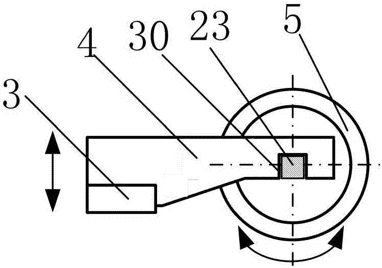
一种具有定距机构的纸管精切机的制作方法1.本实用新型涉及纸管精切机技术领域,具体是指一种具有定距机构的纸管精切机。背景技术:2.纸管精切机是纸管加工过程中常用的设备,可以根据各个领域不同的需要,将纸......
一种宽幅铜箔防抽紧用导向辊、电解铜箔分切机的制作方法本发明涉及新能源汽车动力电池用电解铜箔领域,更具体地说,尤其涉及一种宽幅铜箔防抽紧用导向辊、电解铜箔分切机。背景技术:分切工序是电解铜箔的必要工序。申请人在进行......
一种金属箔分切装置的制作方法本实用新型属于机械加工领域,具体涉及一种铝箔或铜箔的分切装置。背景技术:金属箔(铝箔或铜箔)广泛地用于电池制造领域,其中需要将成卷的金属箔分切成合适的尺寸以满足......
一种复卷机分切装置的制作方法本实用新型涉及复卷机传动装置技术领域,具体涉及一种复卷机分切装置。背景技术:复卷机是由退纸架、分切部、卷取部、卸纸台这四部分组成。退纸架用于安放从造纸机上取下的......
一种热敏纸分切机进料部的制作方法本实用新型涉及热敏纸加工设备的技术领域,特别涉及一种热敏纸分切机进料部。背景技术:热敏纸是一种加工纸,其制造原理就是在优质的原纸上涂布一层热敏涂料(热敏变色层)......
一种卷式热敏纸小卷分切机及其分切方法与流程1.本发明涉及一种卷式热敏纸小卷分切机,特别是涉及一种卷式热敏纸小卷分切机及其分切方法,属于热敏纸加工技术领域。背景技术:2.热敏纸是一种加工纸,其制造原理就是......
一种膜丝切割机及其切割方法与流程本发明属于切割机领域,具体涉及一种膜丝切割机,本发明还涉及到一种膜丝切割机的切割方法。背景技术:膜丝具有疏水、吸收等性能,被广泛用于各大行业。目前,对超滤膜丝的......
一种帘式膜切割机的制作方法1.本实用新型涉及中空纤维膜技术领域,具体为一种帘式膜切割机。背景技术:2.中空纤维膜主要应用于饮用水净化、污水处理、工业用水处理、饮料、生物、食品、医药、环保......
离型膜的7大分类用途介绍离型膜是指薄膜表面能有区分的薄膜,离型膜与特定的材料在有限的条件下接触后不具有粘性,或轻微的粘性。1、PET高亮度膜除了普通聚酯薄膜优异的物理机械性能外,PET......
一种电池铝箔分切机用铝粉高效回收装置的制作方法1.本实用新型涉及一种铝粉高效回收装置,特别是涉及一种电池铝箔分切机用铝粉高效回收装置,属于回收装置技术领域。背景技术:2.电池铝箔分切机,是用来对铝箔分切成不......
一种锂电池隔膜用分切装置的制作方法本实用新型涉及锂电池隔膜生产设备领域,特别是指一种锂电池隔膜用分切装置。背景技术:锂电池的结构中,隔膜是关键的内层组件之一。隔膜的性能决定了电池的界面结构、内阻......
无毛刺铜箔分切机的制作方法本实用新型涉及一种铜箔加工设备,特别涉及一种无毛刺铜箔分切机。背景技术:铜箔作为一种工业用品,广泛的用于电子领域,为了方便保存和运输,通常将铜箔收卷成卷;实际使......