服务热线
180-5003-0233
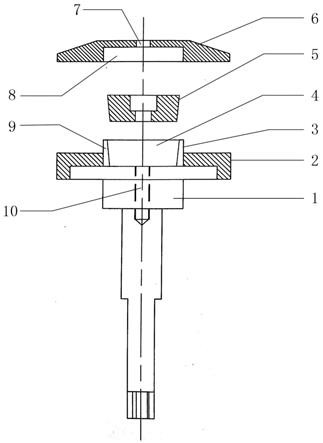
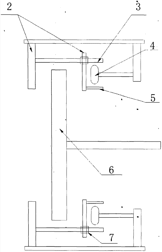
复卷机压纸辊自动平衡装置的制作方法本实用新型属于复卷机技术领域,具体涉及复卷机压纸辊自动平衡装置。背景技术:复卷机,是一种用于纸类、云母带、薄膜专用设备,其用途是将造纸机生产出来的纸卷(称为原纸......
圆筒纸分切机的制作方法本实用新型涉及纸张加工技术领域,具体来说涉及一种圆筒纸分切机。背景技术:现有技术中,对卷筒纸的切割加工都采用复卷机来完成,其工作过程是将前端流水线生成的圆筒纸在......
pvc膜有什么特点pvc膜主要成分为聚氯乙烯,为微黄色半透明状,有光泽。透明度胜于聚乙烯、聚丙烯,差于聚苯乙烯,随助剂用量不同,分为软、硬聚氯乙烯,软制品柔而韧,手感粘,硬制品的......
一种复卷机底刀辊平辊装置的制作方法本实用新型涉及一种复卷机,具体是一种复卷机底刀辊平辊装置。背景技术:复卷机一般用于云母带、纸张、薄膜的复卷分切,起到一切为二的作用,常用于将宽幅的卷材分切,更为......
一种复卷机的圆刀锁紧装置的制作方法1.本实用新型涉及复卷机设备领域,特别是涉及一种复卷机的圆刀锁紧装置。背景技术:2.复卷机的运行是将纸幅由放纸纸卷沿导纸辊引入纵切机构,通过圆刀进行纵切。圆刀固......
一种造纸机械的复卷机除尘装置的制作方法1.本实用新型涉及机械技术领域,具体为一种造纸机械的复卷机除尘装置。背景技术:2.复卷机一般用于:云母带、纸张、薄膜的复卷分切,起到一切为二的作用,常用于将宽幅......
分切机在金属板中的具体应用在金属板材加工业中,分切机的应用主要是为了将大卷的或大尺寸的金属板材精确地切割成适合下游加工或最终使用的小尺寸板料。具体应用细节包括:定尺裁剪分切机可以对不锈钢......
分切机的应用领域分切机是一种广泛应用于各种材料切割作业的设备,其应用领域多样且遍布多个行业。主要应用包括但不限于以下几个方面:造纸与印刷业:切割各类纸张、卡纸、纸板等,适用于印......
复卷机控制系统及复卷机控制系统的控制方法与流程本申请属于复卷机,尤其涉及一种复卷机控制系统及复卷机控制系统的控制方法。背景技术:1、隔膜生产过程,需要对隔膜信息切分检测和复卷剔除,在进行复卷时,需要人工寻找......
一种分切机张力稳定系统的制作方法本实用新型用于纸张分切机或者复卷机制动张力系统的稳定控制技术领域,尤其涉及一种分切机张力稳定系统。背景技术:现在大部分纸厂使用的分切机或者复卷机一般采用可控硅控......
一种自定心圆刀片安装刀轴的制作方法1.本实用新型涉及薄材分切复卷设备的分切机构技术领域,尤其指一种应用于分切刀机构并能实现高质量、高精度、快速地安装分切圆刀片的刀轴。背景技术:2.分切复卷机是将......
双轴切换式复卷机的制作方法1.本实用新型涉及绝缘纸制造领域,尤其涉及一种双轴切换式复卷机。背景技术:2.绝缘纸是电绝缘用纸的总称, 用作电缆、线圈等各项电器设备的绝缘材料,具有良好的绝缘......
PVC膜的基础知识以及性能介绍PVC膜主要成分为聚氯乙烯,为微黄色半透明状,有光泽。透明度胜于聚乙烯、聚丙烯,差于聚苯乙烯,随助剂用量不同,分为软、硬聚氯乙烯,软制品柔而韧,手感粘,硬制品的......
一种复卷机的制作方法本申请涉及复卷机,尤其是涉及一种复卷机。背景技术:1、复卷机一般用于:云母带、纸张、薄膜的复卷分切、起到一切为二的作用,常用于将宽幅的卷材分切、更为后续的再次分......
复卷机的制作方法本实用新型涉及造纸设备技术领域,尤其是涉及一种复卷机。背景技术:复卷机是一种用于纸类、云母带、薄膜专用设备,其用途是将造纸机生产出来的纸卷(称为原纸卷)进行依次......