服务热线
180-5003-0233

本实用新型属于粘性胶带复卷技术领域,尤其是涉及一种粘性胶带复卷分切一体设备。
背景技术:
粘性胶带具有较强的抗张力和初粘性,同时由于具有持粘力久,性能坚固耐用韧性好、无毒无味、环保等特点被广泛使用于纸箱固定、封缺及捆扎等场合。
现有技术中的复卷机、分切机或粘性胶带复卷分切设备用于的各个辊之间都具有固定的对边行程,用户无法根据需要调节某个辊在机架上的位置,也无法调节两个辊之间的对边行程;
此外,粘性胶带由于其本身具有粘性,在复卷分切的过程中很容易沾染灰尘导致粘性胶带质量大打折扣,现有技术中通常只通过保证设备周围的卫生环境来保证粘性胶带的质量,但是单单从外部环境入手常常会导致除尘效果不佳的情况。
技术实现要素:
本实用新型的目的是针对上述问题,提供一种胶带复卷分切一体设备。
为达到上述目的,本实用新型采用了下列技术方案:
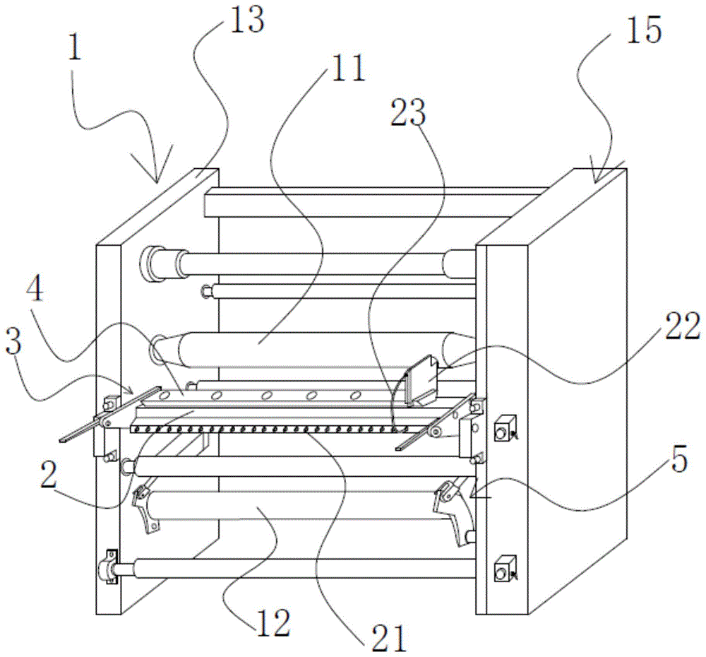
一种粘性胶带复卷分切一体设备,包括机架和设置在机架上的放卷辊、复卷辊、分切辊和多条导向辊,所述机架上还设置有气刀架,所述气刀架的两端通过连接结构连接在机架上,所述气刀架的上方固定有具有燕尾凸条,且所述气刀架的外侧具有多个连接至气刀架内部的输气接口,所述燕尾凸条上设置有多个气刀,所述气刀的输入口通过输气管连接至输气接口,气刀的刀口对着分切辊;至少一根导向辊的两端通过能够调节所述导向辊在机架上位置的调节结构设置在所述机架上。
在上述的粘性胶带复卷分切一体设备中,所述机架包括两块相对设置的支架板,所述放卷棍、复卷辊、分切辊、气刀架和多条导向辊均设置在两块支架板之间。
在上述的粘性胶带复卷分切一体设备中,所述连接结构包括三角形支板,所述气刀架的两端分别固定在两个三角形支板上,所述三角形支板周向转动连接在支架板上。
在上述的粘性胶带复卷分切一体设备中,所述三角形支板远离气刀架侧固定有垂直于所述三角形支板的柱状皮带轮,所述柱状皮带轮穿过支架板内壁至支架板的内部空间,内部空间中设置有气刀电机,气刀电机输出轴与所述柱状皮带轮相平行,且所述气刀电机输出轴与柱状皮带轮之间通过皮带相连接。
在上述的粘性胶带复卷分切一体设备中,所述分切辊采用磨具钢材质。
在上述的粘性胶带复卷分切一体设备中,所述调节结构包括固定在支架板上的铰接柱,所述铰接柱与连接块的一端铰接,所述连接块的中部连接于导向辊的一端,连接块的另一端铰接于气缸的气缸输出轴。
在上述的粘性胶带复卷分切一体设备中,所述气缸远离气缸输出轴的一端固定连接有转动轴,所述支架板的内部空间设置有导向辊电机,所述转动轴穿过支架板内壁并连接于导向辊电机输出轴。
本实用新型的优点在于,将分切和复卷设置为一体结构,使分切和复卷过程同时进行,能够减少工序长度、人工配置,同时能够提高效率;使用气刀进行分切,分切效果较好,同时能够在分切的过程中对胶带进行除尘,提高胶带出厂质量;导辊位置可调节,气刀刀口朝向及刀架高度可调节,设备灵活度高,使用更方便,适应性更广。
附图说明
图1是本实用新型粘性胶带复卷分切一体设备的结构示意图;
图2是本实用新型粘性胶带复卷分切一体设备的部分爆炸示意图。
附图标记:机架1;分切辊11;导向辊12;支架板13;支架板内壁14;内部空间15;气刀架2;输气接口21;气刀22;输气管23;连接结构3;三角形支板31;柱状皮带轮32;气刀电机 33;气刀电机输出轴34;皮带35;燕尾凸条4;调节结构5;铰接柱51;连接块52;气缸53;气缸输出轴54;导向辊电机55;导向辊电机输出轴56;转动轴57。
具体实施方式
下面结合附图和具体实施方式对本实用新型做进一步详细的说明。
如图1所示,本实施例公开了一种粘胶带复卷分切一体设备,包括机架1和设置在机架1上的放卷辊、复卷辊、分切辊11、气刀架2和多条导向辊12。
具体地,机架1包括两块相对设置的支架板13,放卷棍、复卷辊、分切辊11、气刀架2和多条导向辊12均设置在两块支架板13之间上。
气刀架2的两端分别通过连接结构3连接在支架板13上,并且气刀架2的上方固定有具有燕尾凸条4。
气刀架2的外侧具有多个连接至气刀架2内部的输气接口 21,燕尾凸条4上设置有多个气刀22,每个气刀22下端均具有燕尾槽,通过该燕尾槽卡设在燕尾凸条4上。具体地,气刀22 的输入口通过输气管23连接至输气接口21,气刀22的刀口对着分切辊11,分切辊11采用磨具钢材质以符合分切辊11硬度要求。
通过气刀22对分切辊11上的胶带进行分切,同时,这里通过使用气刀22对分切辊11上的胶带进行分切的同时还能够对胶带进行进一步除尘。
具体地,如图2所示,连接结构3包括三角形支板31,气刀架2的两端分别固定在两个三角形支板31上,三角形支板31周向转动连接在支架板13上,通过三角形支板31的转动对气刀22 刀口朝向进行调节,当只需要复卷等其他动作,不需要切分动作的时候,将刀口往上调节一定角度使其触碰不到胶带,从而不会对胶带造成破坏,所以即使不用到气刀时也不需要一一拆卸气刀 22。另外,这里气刀22与三角形支板31的连接处可以和三角形支板31与支架板13的连接处位于同一水平线上,也可以不位于同一水平线上,当两者不在同一水平线上的时候,通过转动三角形支板31不仅能够调节气刀22朝向,还能够调节气刀22高度。
进一步地,三角形支板31远离气刀架2侧固定有垂直于三角形支板31的柱状皮带轮32,柱状皮带轮32穿过支架板内壁14 至支架板13的内部空间15,内部空间15中设置有气刀电机33,且气刀电机输出轴34与柱状皮带轮32相平行,气刀电机输出轴 34与柱状皮带轮32之间通过皮带35相连接,当然,柱状皮带轮 32周向外侧包覆有轴承,通过轴承穿过支架板内壁14以使柱状皮带轮32能够顺利进行转动。这样通过驱动气刀电机33正转或反转就能够控制三角形支板31向上转动或向下转动。这里将气刀电机33设置在支架板13内部,保证了设备外部的整洁美观,当然连接于驱动电气电机的驱动开关可以设置在支架板13外部,例如该设备的控制箱处,以便于用户通过按键驱动气刀电机33,并且,支架板13上可以设置一通向其内部空间15的入口供用户在设备损坏的时候对内部设备进行维修。
优选地,至少一根导向辊12的两端通过能够调节导向辊12 在机架1上位置的调节结构5设置在机架1上。
具体地,如图2所示,调节结构5包括固定在支架板13上的铰接柱51,铰接柱51与连接块52的一端铰接,连接块52的中部连接于导向辊12的一端,连接块52的另一端铰接于气缸输出轴54;气缸53远离气缸输出轴54的一端固定连接于转动轴57,转动轴57周向可转动设置在支架板13上,支架板13的内部设置有导向辊电机55,转动轴57穿过支架板内壁14并连接于导向辊电机输出轴56。在投入使用时,导向辊电机55带动气缸53以导向辊电机输出轴56为中心轴进行转动,当需要将导向辊12调整至较低位置时,拉回气缸输出轴54,并在连接块52转至最右侧的时候伸出气缸输出轴54,同时驱动导向辊电机55逆时针方向转动,即将气缸53向下转动,以使连接块52以铰接柱51为旋转轴进行180度左右角度的旋转;反之,需要将导向辊调整至高位时,拉回气缸输出轴54,并在连接块52转至最右侧的时候伸出气缸输出轴54,同时驱动导向辊电机55顺时针方向转动,以将气缸53向上转动。
本文中所描述的具体实施例仅仅是对本实用新型精神作举例说明。本实用新型所属技术领域的技术人员可以对所描述的具体实施例做各种各样的修改或补充或采用类似的方式替代,但并不会偏离本实用新型的精神或者超越所附权利要求书所定义的范围。
尽管本文较多地使用了机架1;分切辊11;导向辊12;支架板13;支架板内壁14;内部空间15;气刀架2;输气接口21;气刀22;输气管23;连接结构3;三角形支板31;柱状皮带轮 32;气刀电机33;气刀电机输出轴34;皮带35;燕尾凸条4;调节结构5;铰接柱51;连接块52;气缸53;气缸输出轴54;导向辊电机55;导向辊电机输出轴56;转动轴57等术语,但并不排除使用其它术语的可能性。使用这些术语仅仅是为了更方便地描述和解释本实用新型的本质;把它们解释成任何一种附加的限制都是与本实用新型精神相违背的。
技术特征:
1.一种粘性胶带复卷分切一体设备,包括机架(1)和设置在机架(1)上的放卷辊、复卷辊、分切辊(11)和多条导向辊(12),其特征在于,所述机架(1)上还设置有气刀架(2),所述气刀架(2)的两端通过连接结构(3)连接在机架(1)上,所述气刀架(2)的上方固定有具有燕尾凸条(4),且所述气刀架(2)的外侧具有多个连接至气刀架(2)内部的输气接口(21),所述燕尾凸条(4)上设置有多个气刀(22),所述气刀(22)的输入口通过输气管(23)连接至输气接口(21),气刀(22)的刀口对着分切辊(11);至少一根导向辊(12)的两端通过能够调节所述导向辊(12)在机架(1)上位置的调节结构(5)设置在所述机架(1)上。
2.根据权利要求1所述的粘性胶带复卷分切一体设备,其特征在于,所述机架(1)包括两块相对设置的支架板(13),所述放卷棍、复卷辊、分切辊(11)、气刀架(2)和多条导向辊(12)均设置在两块支架板(13)之间。
3.根据权利要求2所述的粘性胶带复卷分切一体设备,其特征在于,所述连接结构(3)包括三角形支板(31),所述气刀架(2)的两端分别固定在两个三角形支板(31)上,所述三角形支板(31)周向转动连接在支架板(13)上。
4.根据权利要求3所述的粘性胶带复卷分切一体设备,其特征在于,所述三角形支板(31)远离气刀架(2)侧固定有垂直于所述三角形支板(31)的柱状皮带轮(32),所述柱状皮带轮(32)穿过支架板内壁(14)至支架板(13)的内部空间(15),内部空间(15)中设置有气刀电机(33),气刀电机输出轴(34)与所述柱状皮带轮(32)相平行,且所述气刀电机输出轴(34)与柱状皮带轮(32)之间通过皮带(35)相连接。
5.根据权利要求4所述的粘性胶带复卷分切一体设备,其特征在于,所述分切辊(11)采用磨具钢材质。
6.根据权利要求2所述的粘性胶带复卷分切一体设备,其特征在于,所述调节结构(5)包括固定在支架板(13)上的铰接柱(51),所述铰接柱(51)与连接块(52)的一端铰接,所述连接块(52)的中部连接于导向辊(12)的一端,连接块(52)的另一端铰接于气缸(53)的气缸输出轴(54)。
7.根据权利要求6所述的粘性胶带复卷分切一体设备,其特征在于,所述气缸(53)远离气缸输出轴(54)的一端固定连接有转动轴(57),所述支架板(13)的内部空间(15)设置有导向辊电机(55),所述转动轴(57)穿过支架板内壁(14)并连接于导向辊电机输出轴(56)。
技术总结
本实用新型公开了一种粘性胶带复卷分切一体设备,了下列技术方案:包括机架和设置在机架上的放卷辊、复卷辊、分切辊和多条导向辊,所述机架上还设置有气刀架,所述气刀架的两端通过连接结构连接在机架上,所述气刀架的上方固定有具有燕尾凸条,且所述气刀架的外侧具有多个连接至气刀架内部的输气接口,所述燕尾凸条上设置有多个气刀,所述气刀的输入口通过输气管连接至输气接口,气刀的刀口对着分切辊;至少一根导向辊的两端通过能够调节所述导向辊在机架上位置的调节结构设置在所述机架上。本实用新型导辊位置可调节,气刀刀口朝向及刀架高度可调节,具有设备灵活度高,使用更方便,适应性更广等优点。
技术研发人员:刘军;凌自强;张毅
受保护的技术使用者:嘉兴君泰医用辅料有限公司
技术研发日:2018.09.21
技术公布日:2019.05.31