服务热线
180-5003-0233
1.本实用新型属于铜箔分切技术领域,具体涉及一种铜箔分切夹紧固定装置。背景技术:2.铜箔分切是将生产出来的铜箔按照客户的需求来进行分切,是铜箔生产工序中必不可少......
1.本实用新型涉及一种超薄铜箔分切机,特别涉及一种维修方便的超薄铜箔分切机。背景技术:2.分切机是一种将宽幅纸张、云母带或薄膜分切成多条窄幅材料的机械设备,常用......
本实用新型涉及铝箔加工设备领域,特别是涉及一种铝箔精分切机。背景技术:铝箔分切机主要是用于将宽度较大的铝箔卷材按照需求进行裁切分成宽度较小的铝箔卷材,而目前的铝......
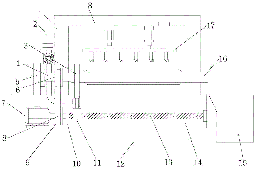
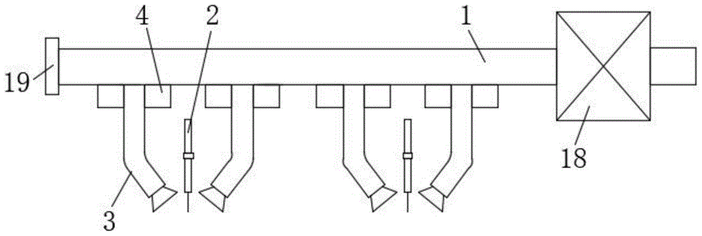
1.本实用新型涉及一种吸尘装置,特别涉及一种全自动铝箔分切机用吸尘装置,属于铝箔分切技术领域。背景技术:2.铝箔分切机主要是一种用于将宽度较大的铝箔卷材按照需求......
1.本实用新型属于铝箔生产设备技术领域,具体涉及一种用于铝箔立式分切机的气涨轴夹紧装置。背景技术:2.在铝箔生产过程中,因操作不当、来料缺陷、设备故障等原因生产......
烫金纸的使用方法电化铝烫印箔是采用加热和加压力的办法,将您的图案或文字转移到被烫印材料表面。这就需要您有一台烫印机。接着就需要将您要的文字或图案作一块版(如:铅......
本实用新型属于纸管加工技术领域,具体涉及一种纸管加工用快速精切机。背景技术:纸管是指用纸张加工成的管状的物体,大多纸管为螺旋纸管和无缝纸管,纸管常常用来化纤、薄......
本实用新型涉及精切机技术领域,尤其是一种纸管精切机的脱料装置。背景技术:纸管精切机是斜卷机的配套设备,它的主要目的是将纸管进行二次精确切割。公开号cn11074......
1.本实用新型涉及数控精切机技术领域,具体为一种精准定位的纸管加工用便于上料的数控精切机。背景技术:2.数控精切机又称为纸管精切机,数控精切机性能较好,工作效率......
本实用新型涉及切割机械技术领域,具体为一种纸管生产用精切机的定位机构。背景技术:精切机又称为纸管切管机是斜卷机的配套设备,它的主要目的是将纸管进行二次精确切割以......
烫金纸(电化铝)烫印箔是在纸张、印刷油墨、塑料、木材、皮革、板卡纸、布料等表面烫印各种颜色及文字的首选材料。图案清晰、美观、色彩鲜艳、光彩夺目、耐磨、耐候。使用......
本实用新型涉及铝箔生产技术领域,具体为一种电子电工用铝箔分切机入口铝粉吸附装置。背景技术:铝箔是一种用金属铝直接压延成薄片的烫印材料,其烫印效果与纯银箔烫印的效......
1.本发明涉及电池箔分切技术领域,具体是一种电池箔分切机及其使用方法。背景技术:2.电池箔分切机主要是用于将宽度较大的电池箔卷材按照需求进行裁切分成宽度较小的电......
1.本发明涉及冶金技术领域,具体为高精密分切机剪切刀架。背景技术:2.铝箔是一种用金属铝直接压延成薄片的烫印材料,其烫印效果与纯银箔烫印的效果相似,故又称假银箔......
本发明涉及电容器生产设备技术领域,更具体涉及一种电容器薄膜分切机用可调节上料装置。背景技术:电容器是电子设备中大量使用的电子元件之一,广泛应用于电路中的隔直通交......