服务热线
180-5003-0233

本申请涉及复卷机,尤其是涉及一种复卷机。
背景技术:
1、复卷机一般用于:云母带、纸张、薄膜的复卷分切、起到一切为二的作用,常用于将宽幅的卷材分切、更为后续的再次分切起到了重要的作用、是一种用于纸类、云母带、薄膜专用设备。
2、现有技术中的复卷机,在进行分切时,需要通过切割刀对卷才的幅宽进行调整,但是切割刀在切割完卷材两侧多余的废边后,此时切割下来的废边和废屑容易被一起卷入成品的卷材内,从而对收卷和后期卸卷造成一定影响。
技术实现思路
1、为了方便对切割下的废边进行收集,本申请提供一种复卷机。
2、本申请提供的一种复卷机采用如下的技术方案:
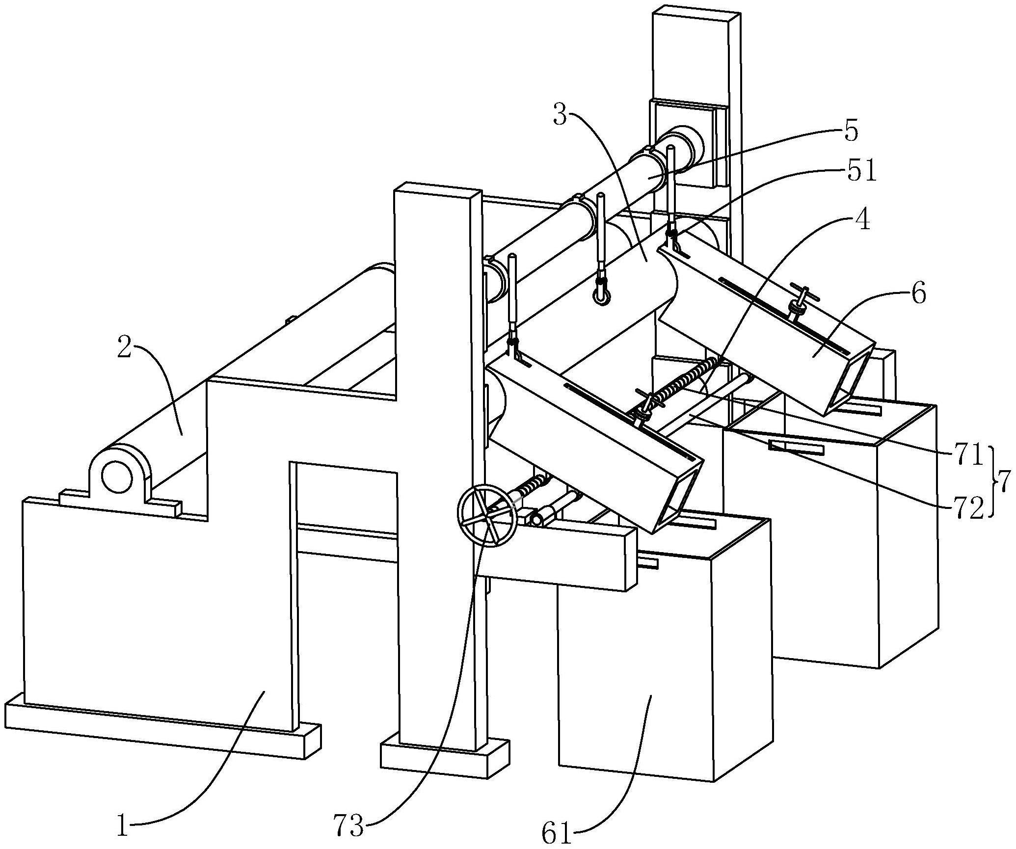
3、一种复卷机,包括机架、送料辊、导向辊以及收卷辊,所述送料辊、导向辊以及收卷辊的两端均转动连接于机架,机架位于导向辊处的两侧设置有对卷材进行切割的切割刀,机架设置有与切割刀相对应的收集管,收集管呈倾斜设置,收集管的上端位于切割刀处,收集管的下端连通于收集箱。
4、通过采用上述技术方案,设置有收集管,切割刀对卷材进行切割时产生的废边以及废屑会掉落至收集管内,随后这些废边以及废屑通过收集管进入到收集箱,从而方便进行处理,且不会影响到卷材的收卷。
5、可选的,所述收集管沿机架的宽度方向滑移连接于机架,机架设置有对收集管的位置进行调节的调节机构。
6、通过采用上述技术方案,当需要切割不同宽度的卷材时,需要对切割到的位置进行调节,此时收集管的位置需要相对应的进行调节,可通过调节结构对收集管的位置进行调节。
7、可选的,所述调节机构包括传动丝杆以及导杆,传动丝杆的两端均转动连接于机架,导杆的两端均转动连接于机架,传动丝杆具有两端螺纹旋向相反的螺纹段,收集盒设置有螺纹套,两个螺纹套分别螺纹连接于两端螺纹段。
8、通过采用上述技术方案,在需要对收集管的位置进行调节时,可通过转动传动丝杆从而对驱动收集盒进行滑移,使得收集盒滑移至相对应的位置。
9、可选的,所述传动丝杆的一端同轴设置有驱动传动丝杆进行转动的旋钮。
10、通过采用上述技术方案,设置有旋钮,方便工作人员通过旋转旋钮以带动传动丝杆进行转动。
11、可选的,所述收集管沿机架宽度方向分布的两侧壁均设置有吹气管,吹气管连通于吹风机,吹气管的出气口朝向收集管的最下端。
12、通过采用上述技术方案,设置有吹气管,通过吹气管对收集管的内部由收集管的上端往收集管的最下端进行吹气,有利于将废边以及废屑运送至收集箱内。
13、可选的,所述收集管的顶壁沿收集管的长度方向滑移连接有滑移块,滑移块设置有位于收集管内的推送板。
14、通过采用上述技术方案,设置有推送板,操作人员可通过滑移滑移块,滑移块带动推送板进行滑移,从而对收集管内的废边以及废屑进行清理,并将其推送至收集箱内。
15、可选的,所述滑移块位于收集管靠近另一个收集管的一侧,推送板设置有转动穿设于滑移块的转动杆,滑移块设置有对转动杆的转动角度进行限位的限位组件。
16、通过采用上述技术方案,通过限位组件可对转动杆的转动进行限位,从而减小在工作过程中推送板随意转动的可能。
17、可选的,所述限位组件包括第一限位齿环、第二限位齿环以及迫使转动杆沿轴线方向进行滑移的弹性件,第一限位齿环设置于滑移块的上表面,转动杆凸出于滑移块的上表面,第二限位齿环同轴设置于转动杆的上端,弹性件迫使转动杆进行滑移并使得第二限位齿环啮合于第一限位齿环。
18、通过采用上述技术方案,在调节转动杆的角度时,需要先对转动杆施加轴向的作用力,使得第二限位齿环与第一限位齿环脱离啮合,然后将转动杆转动到合适的位置,此时弹性件具有弹性势能,然后松开作用力,弹性件迫使转动杆进行滑移并使得第二限位齿环啮合于第一限位齿环从而对转动杆的转动角度进行限位。
19、综上所述,本实用新型具有以下有益效果:
20、1、设置有收集管,切割刀对卷材进行切割时产生的废边以及废屑会掉落至收集管内,随后这些废边以及废屑通过收集管进入到收集箱,从而方便进行处理,且不会影响到卷材的收卷;
21、2、在调节转动杆的角度时,需要先对转动杆施加轴向的作用力,使得第二限位齿环与第一限位齿环脱离啮合,然后将转动杆转动到合适的位置,此时弹性件具有弹性势能,然后松开作用力,弹性件迫使转动杆进行滑移并使得第二限位齿环啮合于第一限位齿环从而对转动杆的转动角度进行限位。
技术特征:
1.一种复卷机,其特征在于:包括机架(1)、送料辊(2)、导向辊(3)以及收卷辊(4),所述送料辊(2)、导向辊(3)以及收卷辊(4)的两端均转动连接于机架(1),机架(1)位于导向辊(3)处的两侧设置有对卷材进行切割的切割刀(51),机架(1)设置有与切割刀(51)相对应的收集管(6),收集管(6)呈倾斜设置,收集管(6)的上端位于切割刀(51)处,收集管(6)的下端连通于收集箱(61)。
2.根据权利要求1所述的一种复卷机,其特征在于:所述收集管(6)沿机架(1)的宽度方向滑移连接于机架(1),机架(1)设置有对收集管(6)的位置进行调节的调节机构(7)。
3.根据权利要求2所述的一种复卷机,其特征在于:所述调节机构(7)包括传动丝杆(71)以及导杆(72),传动丝杆(71)的两端均转动连接于机架(1),导杆(72)的两端均转动连接于机架(1),传动丝杆(71)具有两端螺纹旋向相反的螺纹段,收集盒设置有螺纹套,两个螺纹套分别螺纹连接于两端螺纹段。
4.根据权利要求3所述的一种复卷机,其特征在于:所述传动丝杆(71)的一端同轴设置有驱动传动丝杆(71)进行转动的旋钮(73)。
5.根据权利要求1所述的一种复卷机,其特征在于:所述收集管(6)沿机架(1)宽度方向分布的两侧壁均设置有吹气管(62),吹气管(62)连通于吹风机,吹气管(62)的出气口朝向收集管(6)的最下端。
6.根据权利要求1所述的一种复卷机,其特征在于:所述收集管(6)的顶壁沿收集管(6)的长度方向滑移连接有滑移块(64),滑移块(64)设置有位于收集管(6)内的推送板(651)。
7.根据权利要求6所述的一种复卷机,其特征在于:所述滑移块(64)位于收集管(6)靠近另一个收集管(6)的一侧,推送板(651)设置有转动穿设于滑移块(64)的转动杆(65),滑移块(64)设置有对转动杆(65)的转动角度进行限位的限位组件(66)。
8.根据权利要求7所述的一种复卷机,其特征在于:所述限位组件(66)包括第一限位齿环(661)、第二限位齿环(662)以及迫使转动杆(65)沿轴线方向进行滑移的弹性件,第一限位齿环(661)设置于滑移块(64)的上表面,转动杆(65)凸出于滑移块(64)的上表面,第二限位齿环(662)同轴设置于转动杆(65)的上端,弹性件迫使转动杆(65)进行滑移并使得第二限位齿环(662)啮合于第一限位齿环(661)。
技术总结
本申请涉及复卷机技术领域,尤其是涉及一种复卷机,包括机架、送料辊、导向辊以及收卷辊,所述送料辊、导向辊以及收卷辊的两端均转动连接于机架,机架位于导向辊处的两侧设置有对卷材进行切割的切割刀,机架设置有与切割刀相对应的收集管,收集管呈倾斜设置,收集管的上端位于切割刀处,收集管的下端连通于收集箱。本申请具有方便对切割下的废边进行收集的效果。
技术研发人员:陈红
受保护的技术使用者:道伯(上海)包装材料有限公司
技术研发日:20230614
技术公布日:2024/1/15