服务热线
180-5003-0233
PVC膜的6大特性PVC膜主要成分为聚氯乙烯,为微黄色半透明状,有光泽。透明度胜于聚乙烯、聚丙烯,差于聚苯乙烯,随助剂用量不同,分为软、硬聚氯乙烯,软制品柔而韧,手感粘,硬制品的......
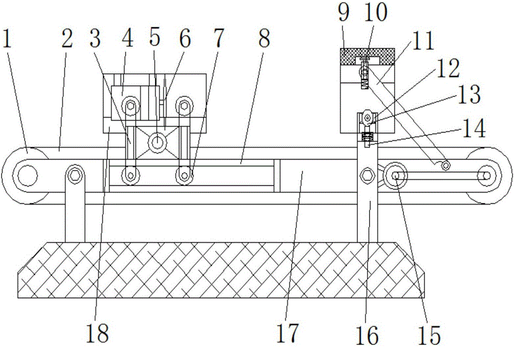
蓄电池防护网片自动分切机的制作方法本实用新型涉及蓄电池制造领域,特别涉及蓄电池防护网片自动分切机。背景技术:参照图1和图2,蓄电池防护网片的作用是:防止电池生产的后道工序对AGM隔板A1造成损坏......
一种纸张分切机的制作方法本发明涉及纸张分切技术领域,具体为一种纸张分切机。背景技术:纸张分切机是一种对纸张进行分切处理的切割装置,其主要由传送带、旋转刀片、切割刀片、脉冲装置、凸轮、伸......
一种用于胶粘带全自动分切机的传动蜗杆的制作方法本发明涉及一种传递组件,具体涉及一种用于胶粘带全自动分切机的传动蜗杆。背景技术:蜗杆是指具有一个或几个螺旋齿,并且与蜗轮啮合而组成交错轴齿轮副的齿轮;其分度曲面......
一种双切胶带分切机的制作方法本实用新型涉及胶带加工技术领域,具体为一种双切胶带分切机。背景技术:分切机是一种将宽幅纸张、云母带或薄膜分切成多条窄幅材料的机械设备,常用于造纸机械、电线电缆云......
高速分切机的操作简单吗,容易上手吗?高速分切机的操作是否简单易上手,主要取决于分切机的设计、制造质量和操作人员的培训情况。一般来说,现代高速分切机的设计思路都以操作简便、易于维护为重点。所以大部分......
一种胶带生产中用的分切机的制作方法本实用新型涉及胶带分切装置技术领域,具体为一种胶带生产中用的分切机。背景技术:胶带分切机是一种将很宽的胶带分切成较窄的胶带分切机,分切机主要是将大卷筒母卷分切为......
一种除湿式分切机的制作方法本实用新型属于印刷设备领域,具体涉及一种除湿式分切机。背景技术:在进行凹印或者汤金前,一般需要将纸张分切为所需的规格(例如盖白沙纸张的规格为35.5g×60mm......
一种高效的大型胶带分切机的制作方法本实用新型涉及大型胶带分切机领域,具体为一种高效的大型胶带分切机。背景技术:现在,胶带分切机是一种将很宽的胶带分切成较窄的胶带分切机,分切机主要是将大卷筒母卷分......
分切机的分切刀具的制作方法本实用新型涉及分切机的切割刀具,特别是一种用于切割金属、塑料、纸等膜状、片状柔性物料的分切机的分切刀具。背景技术:目前金属、塑料、纸等膜状、片状柔性物料生产出来......
一种用于胶粘带全自动分切机的传递蜗杆组件的制作方法本发明涉及一种传递组件,具体涉及一种用于胶粘带全自动分切机的传递蜗杆组件。背景技术:蜗杆是指具有一个或几个螺旋齿,并且与蜗轮啮合而组成交错轴齿轮副的齿轮;其分度......
分切机用张力控制装置的制作方法专利名称:分切机用张力控制装置的制作方法技术领域:本实用新型涉及一种造纸及印刷包装行业使用的分切机,尤其涉及一种分切机用张力控制装置。背景技术:现有分切机的控制......
张力隔断装置、同步张力收卷装置及分切机的制作方法本实用新型涉及锂电池自动化设备技术领域,具体是涉及张力隔断装置、包括该张力隔断装置的同步张力收卷装置及分切机。背景技术:在分切机中,极片由放卷装置放出后经过分切......
光学膜分切机的应用光学膜分切机是现代高科技制造中不可或缺的设备,它采用先进的光电传感技术和计算机控制技术,能够快速、精确地将高强度的光学膜材料分离成各种规格尺寸。光学膜分切机在很......
PVC膜的特点优势PVC膜材料是指在聚酯纤维编织成的基布上涂敷PVC即聚氯乙烯树脂而形成的复合材料。与PTFE膜材料相比,PVC膜材料在耐久性、防火和自洁性上要相对差一些,但PV......