服务热线
180-5003-0233

1.本发明涉及薄膜分切的技术领域,具体为一种塑料薄膜分切膜卷包装置。
背景技术:
2.薄膜分切机是一种将薄膜分切成多条窄幅材料的机械设备,薄膜分切机由放卷机构、切割机构、收卷机构、各功能辊以及张力控制纠偏控制和检测装置组成。
薄膜分切机可加工的材料种类较多,例如聚酯薄膜、镀铝薄膜、bopp ldpe、hdpe、lldpe、pp等薄膜。
也可将云母带、pe分切成不同尺寸,广泛运用于包装及其他覆膜行业。
3.在实际生产过程中,利用薄膜分切装置对塑料薄膜进行分切收卷时,针对需要利用纸筒作为卷芯的生产过程,首先需要将收卷薄膜用的长纸筒切割成所需要的规格大小,然后将切割得到的各个纸筒安装在薄膜分切机的收卷辊上,再利用手工或者接膜装置将母卷上的薄膜平整分布在各个纸筒上,这一过程往往需要较多的手动操作,既不安全又花费较多的时间,降低了整个薄膜分切加工的工作效率。
本领域技术人员出于提高加工效率的目的,思考如何优化这一生产步骤,从而提出以下技术方案解决这一问题。
技术实现要素:
4.本发明的发明目的在于提供了一种塑料薄膜分切膜卷包装置,该塑料薄膜分切膜卷包装置为了解决在薄膜分切加工初期,往往需要较多的手动操作,既不安全又花费较多的时间,降低了整个薄膜分切加工的工作效率的这一技术问题。
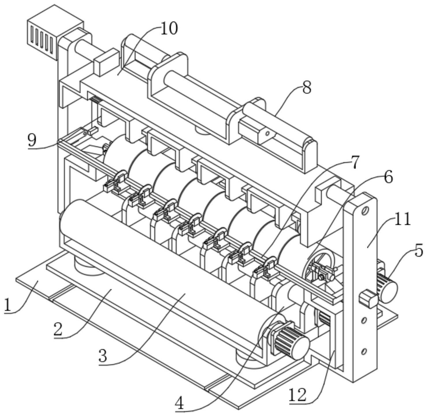
5.为实现以上目的,本发明通过以下技术方案予以实现:一种塑料薄膜分切膜卷包装置,包括底座,其中底座的两侧均固定安装有支撑台,支撑台的顶端可拆卸安装有可变辊组件,可变辊组件包括限位轴、滑移轴,限位轴与滑移轴交替分布,限位轴的两端均固定设置有限位杆,限位轴的中部通过轴承转动连接有第一肋板,滑移轴的两端分别滑动卡接在与其相邻的两个限位杆上,滑移轴的中部通过轴承转动连接有第二肋板,第一肋板的外圈固定连接有第一卷筒,第二肋板的外圈固定连接有第二卷筒,底座的上方在靠近可变辊组件的位置处设置有用于对薄膜进行下压的调节辊。
6.优选的,所述可变辊组件端部的限位轴上连接有第一固定杆,第一固定杆的端部与限位轴上远离第二卷筒的一端固定连接,位于可变辊组件另一端部的滑移轴上连接有第二固定杆,第二固定杆的一端与限位杆的形状相同,且滑移轴远离第一肋板的一端滑动卡接在第二固定杆的这一端部上,第一固定杆和第二固定杆上均开设有螺纹孔,支撑台的顶部设置有用于固定第一固定杆和第二固定杆的固定件,固定件与第一固定杆、第二固定杆通过螺纹螺栓配合连接。
7.优选的,所述底座的两侧在靠近支撑台的位置处固定设置有承重座,调节辊的两端分别与承重座中部的两内侧转动连接,承重座的中部在可变辊组件远离调节辊的一侧安装有分切组件。
8.优选的,所述分切组件包括刀架,刀架的两端分别转动连接在两个承重座的内侧,且承重座的内部设置有为刀架转动提供动力的电机,刀架上设置有多个支板,支板的数量和位置与第一卷筒、第二卷筒的间隙处对应,支板的顶端固定安装有电动伸缩杆,电动伸缩杆的输出端朝向可变辊组件并固定连接有刀片,刀片的位置与第一卷筒、第二卷筒的间隙处对齐。
9.优选的,所述底座的顶端滑动连接有滑移座,且底座内设置有为滑移座的移动提供动力的动力装置,滑移座的顶端通过电动升降装置连接有缠绕模块。
10.优选的,所述缠绕模块包括缠绕支座,缠绕支座的底端固定连接在电动升降装置的输出端上,缠绕支座的中部转动设置有缠绕辊,且缠绕支座上设置有为缠绕辊转动提供动力的电机。
11.优选的,所述滑移座的顶端在靠近缠绕模块的位置处安装有小规格下位组件,小规格下位组件包括小规格下位座,滑移座的顶端设置有为小规格下位座提供上下移动动力的电动升降装置,电动升降装置的输出端与小规格下位座的底端固定连接,小规格下位座的数量与第二卷筒的数量相同,且位置一一对应,小规格下位座的中部转动连接有小规格下位卷轴,小规格下位座的顶部一侧转动连接有小规格下位顶轴,小规格下位顶轴的数量与第一卷筒的数量相同,且位置一一对应。
12.优选的,所述承重座的顶部转动设置有翻转座,且承重座的顶部安装有为翻转座的转动提供动力的电机,翻转座的底端安装有小规格上位组件,小规格上位组件包括小规格上位座,翻转座的底端设置有可以控制小规格上位座进行上下移动的电动升降装置,小规格上位座的数量与小规格下位顶轴的数量相同且位置一一对应,小规格上位座的中部转动设置有小规格上位卷轴,小规格上位座的底部一侧转动设置有小规格上位顶轴,小规格上位顶轴的数量与小规格下位座的数量相同且位置一一对应。
13.优选的,所述滑移座的顶端在靠近小规格下位组件的位置处安装有大规格下位组件,大规格下位组件包括大规格下位座,滑移座上设置有能够带动大规格下位座进行上下移动的电动升降装置,大规格下位座的顶端中部转动连接有大规格下位顶轴,大规格下位座的中部转动连接有两个大规格下位卷轴,两个大规格下位卷轴分别位于大规格下位顶轴的两侧。
14.优选的,所述翻转座的顶端安装有大规格上位组件,大规格上位组件包括大规格上位座,翻转座的顶端设置有能够带动大规格上位座进行上下移动的电动升降装置,大规格上位座的中部转动连接有大规格上位卷轴,大规格上位座内设置有为大规格上位卷轴提供转动动力的电机,大规格上位座的顶部转动连接有两个大规格上位顶轴,两个大规格上位顶轴分别位于大规格上位卷轴的两侧。
15.通过采用前述技术方案,本发明的有益效果是:
16.1、该塑料薄膜分切膜卷包装置,通过缠绕模块、可变辊组件、分切组件等各个结构之间的配合运行,完成了在传统的薄膜分切加工中需要大量利用手动操作的部分,节省了单独对整个长纸筒进行分割的加工步骤,本装置采用直接在可变辊组件上分割长纸筒的方式,分割完成后不需要再对各个纸筒进行安装,也不需要再将薄膜铺设在各个纸筒上,大大提高了加工效率。
17.2、该塑料薄膜分切膜卷包装置,通过小规格上位组件和小规格下位组件的配合,使得第一卷筒和第二卷筒上下交错分布,能够方便分别对各个第一卷筒和第二卷筒上的薄膜进行限位和纠偏,且纸筒和薄膜位于小规格上位座和小规格下位座的内部,能够对其进行压紧固定,防止在收卷过程中发生偏移,并且通过设置可以转动的分切组件和调节辊,在第一卷筒和第二卷筒的位置变为上下交错状态后,刀片依然能够很好的对薄膜进行分切。
18.3、该塑料薄膜分切膜卷包装置,既能加工出小规格的薄膜卷筒又能加工出大规格的薄膜卷筒,使用范围广,并且本装置可以加工出上述规格的薄膜卷筒但不局限于上述规格大小,在实际生产中可以根据需要调整可变辊组件、大规格上位组件和大规格下位组件的结构,使其加工出更多规格大小的薄膜卷筒。
附图说明
19.图1为本发明塑料薄膜分切膜卷包装置的整体结构示意图;
20.图2为本发明塑料薄膜分切膜卷包装置的可变辊组件的内部结构示意图;
21.图3为本发明塑料薄膜分切膜卷包装置的限位轴和滑移轴的连接结构示意图;
22.图4为本发明塑料薄膜分切膜卷包装置的可变辊组件变形后的结构示意图;
23.图5为本发明塑料薄膜分切膜卷包装置的分切组件的结构示意图;
24.图6为本发明图5所示的a部放大示意图;
25.图7为本发明塑料薄膜分切膜卷包装置的滑移座及其相连结构的示意图;
26.图8为本发明塑料薄膜分切膜卷包装置的小规格下位组件、大规格下位组件的结构示意图;
27.图9为本发明塑料薄膜分切膜卷包装置的小规格上位组件、大规格上位组件的结构示意图;
28.图
10
为本发明塑料薄膜分切膜卷包装置的分切组件转动近
180
度后的位置结构示意图;
29.图
11
为本发明塑料薄膜分切膜卷包装置的调节辊的位置结构示意图。
30.图中:
1、底座;
2、滑移座;
3、缠绕模块;
31、缠绕支座;
32、缠绕辊;
4、小规格下位组件;
41、小规格下位座;
42、小规格下位卷轴;
43、小规格下位顶轴;
5、大规格下位组件;
51、大规格下位座;
52、大规格下位顶轴;
53、大规格下位卷轴;
6、可变辊组件;
61、限位轴;
62、限位杆;
63、第一肋板;
64、滑移轴;
65、第二肋板;
66、第一固定杆;
67、第二固定杆;
68、第一卷筒;
69、第二卷筒;
7、分切组件;
71、刀架;
72、支板;
73、电动伸缩杆;
74、刀片;
8、大规格上位组件;
81、大规格上位座;
82、大规格上位卷轴;
83、大规格上位顶轴;
9、小规格上位组件;
91、小规格上位座;
92、小规格上位卷轴;
93、小规格上位顶轴;
10、翻转座;
11、承重座;
12、支撑台;
13、固定件;
14、调节辊。
具体实施方式
31.实施例132.参照图
1-11,为本发明第一个实施例,提供了一种塑料薄膜分切膜卷包装置,此装置包括底座1,底座1的两侧均固定安装有支撑台
12,支撑台
12
的顶端可拆卸安装有可变辊组件6,所述底座1的上方在靠近可变辊组件6的位置处设置有用于对薄膜进行下压的调节辊
14,底座1的两侧在靠近支撑台
12
的位置处固定设置有承重座
11,调节辊
14
的两端分别与承重座
11
中部的两内侧转动连接,承重座
11
的中部在可变辊组件6远离调节辊
14
的一侧安
装有分切组件
7。
33.可变辊组件6包括限位轴
61、滑移轴
64,限位轴
61
与滑移轴
64
交替分布,限位轴
61
的两端均固定设置有限位杆
62,限位轴
61
的中部通过轴承转动连接有第一肋板
63,滑移轴
64
的两端分别滑动卡接在与其相邻的两个限位杆
62
上,滑移轴
64
的中部通过轴承转动连接有第二肋板
65,第一肋板
63
的外圈固定连接有第一卷筒
68,第二肋板
65
的外圈固定连接有第二卷筒
69。
限位轴
61、滑移轴
64、第一卷筒
68
和第二卷筒
69
的数量可根据实际生产情况选用,但要保证限位轴
61
和滑移轴
64
是交替分布的,为了便于叙述,参考图2和图4,限位轴
61、滑移轴
64、第一卷筒
68
和第二卷筒
69
的数量均取为四个,第一卷筒
68
和第二卷筒
69
的长度相等,且分布方式参考图
2、图4所示,滑移轴
64
与限位杆
62
滑动连接的位置处设置有弹性件,在不受外力情况下,滑移轴
64
与限位轴
61
的轴线位于同一水平上,受到外力作用后,滑移轴
64
在两个限位杆
62
之间滑动。
34.位于可变辊组件6端部的限位轴
61
上连接有第一固定杆
66,第一固定杆
66
的端部与限位轴
61
上远离第二卷筒
69
的一端固定连接,位于可变辊组件6另一端部的滑移轴
64
上连接有第二固定杆
67,第二固定杆
67
的一端与限位杆
62
的形状相同,且滑移轴
64
远离第一肋板
63
的一端滑动卡接在第二固定杆
67
的这一端部上,第一固定杆
66
和第二固定杆
67
上均开设有螺纹孔,支撑台
12
的顶部设置有用于固定第一固定杆
66
和第二固定杆
67
的固定件
13,固定件
13
与第一固定杆
66、第二固定杆
67
通过螺纹螺栓配合连接。
位于可变辊组件6端部的限位轴
61
可以只连接设置一个限位杆
62,另外一端用于安装连接第一固定杆
66,位于可变辊组件6内其它位置的限位轴
61
的两端都需连接限位杆
62。
35.分切组件7包括刀架
71,刀架
71
的两端分别转动连接在两个承重座
11
的内侧,且承重座
11
的内部设置有为刀架
71
转动提供动力的电机,刀架
71
上设置有多个支板
72,支板
72
的数量和位置与第一卷筒
68、第二卷筒
69
的间隙处对应,支板
72
的顶端固定安装有电动伸缩杆
73,电动伸缩杆
73
的输出端朝向可变辊组件6并固定连接有刀片
74,刀片
74
的位置与第一卷筒
68、第二卷筒
69
的间隙处对齐。
36.底座1的顶端滑动连接有滑移座2,且底座1内设置有为滑移座2的移动提供动力的动力装置,滑移座2的顶端通过电动升降装置连接有缠绕模块3,缠绕模块3包括缠绕支座
31,缠绕支座
31
的底端固定连接在电动升降装置的输出端上,缠绕支座
31
的中部转动设置有缠绕辊
32,且缠绕支座
31
上设置有为缠绕辊
32
转动提供动力的电机。
37.使用过程中,工作人员首先将整个长纸筒套设在由第一卷筒
68
和第二卷筒
69
组成的圆筒外壁上,两者长度一致且间隙配合,然后将母卷上的薄膜穿过调节辊
14
的下方后平整的铺设在长纸筒的上端外壁,并与长纸筒粘接在一起,然后启动滑移座2使得缠绕模块3移动至可变辊组件6的下方,然后电动升降装置带动缠绕支座
31
上升并使得缠绕辊
32
的外壁紧贴长纸筒的外壁,然后电机带动缠绕辊
32
进行转动,缠绕辊
32
转动的同时带动长纸筒进行转动,长纸筒对薄膜进行收卷
(
参考图1和图
11
的视图方向,薄膜在经过调节辊
14
的下方后绕到可变辊组件6的上方,第一卷筒
68、第二卷筒
69
逆时针对薄膜进行收卷
),紧接着分切组件7运行,分切组件7上的电动伸缩杆
73
启动并带动刀片
74
向靠近薄膜和长纸筒的方向移动,刀片
74
切割开长纸筒收卷的薄膜后继续向第一卷筒
68、第二卷筒
69
之间的间隙内进刀,在这个过程中刀片
74
将长纸筒分割开来,使得长纸筒分割成与第一卷筒
68、第二卷筒
69
同等长度的八个纸筒,此时分切组件7的刀片
74
停止进刀,滑移座2带动缠绕模块3离开并复
位。
此时长纸筒被切割成所需要的规格大小,位于可变辊组件6上的薄膜被分切成加工所需要的宽度,并且被分切后的薄膜收卷在各个纸筒上,纸筒被固定在第一卷筒
68
或者第二卷筒
69
的外壁上,初步分切工作完成,通过缠绕模块
3、可变辊组件
6、分切组件7等各个结构之间的配合运行,完成了在传统的薄膜分切加工中需要大量利用手动操作的部分,节省了单独对整个长纸筒进行分割的加工步骤,本装置采用直接在可变辊组件6上分割长纸筒的方式,分割完成后不需要再对各个纸筒进行安装,也不需要再将薄膜铺设在各个纸筒上,大大提高了加工效率,并且刀片
74
在初步分切时能够对纸筒和薄膜的位置进行限定,防止它们发生轴向偏移。
38.实施例239.参照图
1-11,为本发明的第二个实施例,该实施例不同于第一个实施例的是:滑移座2的顶端在靠近缠绕模块3的位置处安装有小规格下位组件4,小规格下位组件4包括小规格下位座
41,滑移座2的顶端设置有为小规格下位座
41
提供上下移动动力的电动升降装置,电动升降装置的输出端与小规格下位座
41
的底端固定连接,小规格下位座
41
的数量与第二卷筒
69
的数量相同,且位置一一对应,小规格下位座
41
的中部转动连接有小规格下位卷轴
42,小规格下位座
41
的顶部一侧转动连接有小规格下位顶轴
43,小规格下位顶轴
43
的数量与第一卷筒
68
的数量相同,且位置一一对应。
小规格下位卷轴
42
使用同一动力装置带动它们同步转动。
40.相较于实施例1,进一步的,承重座
11
的顶部转动设置有翻转座
10,且承重座
11
的顶部安装有为翻转座
10
的转动提供动力的电机,翻转座
10
的底端安装有小规格上位组件9,小规格上位组件9包括小规格上位座
91,翻转座
10
的底端设置有可以控制小规格上位座
91
进行上下移动的电动升降装置,小规格上位座
91
的数量与小规格下位顶轴
43
的数量相同且位置一一对应,小规格上位座
91
的中部转动设置有小规格上位卷轴
92,小规格上位座
91
的底部一侧转动设置有小规格上位顶轴
93,小规格上位顶轴
93
的数量与小规格下位座
41
的数量相同且位置一一对应。
小规格上位卷轴
92
使用同一动力装置带动它们同步转动。
41.使用过程中,当初步分切工作完成后,缠绕模块3复位时,分切组件7再次启动,刀架
71
围绕可变辊组件6的轴心进行转动,使得刀片
74
从靠近缠绕模块3上方的位置转动近
180
度至可变辊组件6的另一侧
(
参考图
10),然后小规格上位组件9启动,电动升降装置带动小规格上位座
91
下降,使得小规格上位卷轴
92
和小规格上位顶轴
93
下降,最终,位于第一卷筒
68
上的纸筒和薄膜被夹紧在小规格下位顶轴
43
和小规格上位卷轴
92
之间,位于第二卷筒
69
上的纸筒和薄膜被夹紧在小规格下位卷轴
42
和小规格上位顶轴
93
之间,且第二卷筒
69
位于第一卷筒
68
的下方,然后小规格下位卷轴
42
和小规格上位卷轴
92
同时转动,带动第一卷筒
68
和第二卷筒
69
对薄膜进行收卷,与此同时刀片
74
对薄膜进行分切。
通过小规格上位组件9和小规格下位组件4的配合,使得第一卷筒
68
和第二卷筒
69
上下交错分布,由于薄膜具有一定的延展性,在对其进行收卷时由于张力和压力等的作用使得薄膜会向两侧发生一定的延展,那么分切而来的相邻的两条薄膜的侧边之间容易接触发生摩擦,导致收卷过程中薄膜的位置发生偏移,无法正常收卷,而设置能够上下交错分布的第一卷筒
68
和第二卷筒
69,能够方便分别对各个第一卷筒
68
和第二卷筒
69
上的薄膜进行限位和纠偏,且纸筒和薄膜位于小规格上位座
91
和小规格下位座
41
的内部,能够对其进行压紧固定,防止在收卷过程中发生偏移,并且通过设置调节辊
14,能够保证对薄膜进行下压,使得薄膜从调节辊
14
收
卷进入第一卷筒
68、第二卷筒
69
的位置低于可变辊组件6初始状态下的轴线水平高度,在刀架
71
带动刀片
74
转动的过程中,能够保证刀片
74
沿着第一卷筒
68
的圆周方向对薄膜进行分切,增大刀片
74
的切割角度,预留出一定的切割长度,使得在第一卷筒
68
和第二卷筒
69
的位置变为上下交错状态时,分切的薄膜之间不至于发生相互撕扯,能够保证在后续的加工过程中刀片
74
继续对薄膜进行分切。
42.其余结构与实施例1的结构相同。
43.实施例344.参照图
1-11,为本发明的第三个实施例,该实施例不同于第二个实施例的是:滑移座2的顶端在靠近小规格下位组件4的位置处安装有大规格下位组件5,大规格下位组件5包括大规格下位座
51,滑移座2上设置有能够带动大规格下位座
51
进行上下移动的电动升降装置,大规格下位座
51
的顶端中部转动连接有大规格下位顶轴
52,大规格下位座
51
的中部转动连接有两个大规格下位卷轴
53,两个大规格下位卷轴分别
53
位于大规格下位顶轴
52
的两侧。
两个大规格下位卷轴
53
使用同一电机提供动力,使其同步转动,且其中一个大规格下位卷轴
53
的长度等于两个第一卷筒
68
的长度,另一个大规格下位卷轴
53
的长度等于三个第二卷筒
69
的长度。
45.相较于实施例2,进一步的,翻转座
10
的顶端安装有大规格上位组件8,大规格上位组件8包括大规格上位座
81,翻转座
10
的顶端设置有能够带动大规格上位座
81
进行上下移动的电动升降装置,大规格上位座
81
的中部转动连接有大规格上位卷轴
82,大规格上位座
81
内设置有为大规格上位卷轴
82
提供转动动力的电机,大规格上位座
81
的顶部转动连接有两个大规格上位顶轴
83,两个大规格上位顶轴
83
分别位于大规格上位卷轴
82
的两侧。
大规格上位卷轴
82
的长度等于三个第一卷筒
68
的长度。
46.使用过程中,大规格上位组件8和大规格下位组件5的工作原理和实施例2中小规格上位组件
9、小规格下位组件4的工作原理相似,在进行工作时,滑移座2带动大规格下位组件5移动至可变辊组件6的下方,翻转座
10
转动
180
度使得大规格上位组件8位于可变辊组件6的上方,然后大规格下位组件5启动并带动大规格下位座
51
上升,与大规格上位组件8配合将可变辊组件6上的纸筒薄膜分为三段夹紧,且相邻的纸筒薄膜上下交错分布,不同的是在利用分切组件7对纸筒和薄膜进行分切时,只有两个刀片
74
执行进刀动作,另外五个刀片
74
不启动,并且这两个刀片
74
的位置分别位于可变辊组件6上的纸筒薄膜总长度的
1/4
处和
5/8
处,利用大规格上位组件8和大规格下位组件5配合能够产生规格较大的纸筒与薄膜,如果取第一卷筒
68
和第二卷筒
69
的长度为
10
厘米,则最终能够加工出一个
20
厘米的薄膜卷筒和两个
30
厘米的薄膜卷筒,使得本装置既能加工出小规格的薄膜卷筒又能加工出大规格的薄膜卷筒,使用范围广,并且本装置可以加工出上述规格的薄膜卷筒但不局限于上述规格大小,在实际生产中可以根据需要调整可变辊组件
6、大规格上位组件8和大规格下位组件5的结构,使其加工出更多规格大小的薄膜卷筒。
47.其余结构与实施例2的结构相同。
48.对这些实施例的多种修改对本领域的专业技术人员来说将是显而易见的,本文中所定义的一般原理可以在不脱离本发明的精神或范围的情况下,在其它实施例中实现,因此,本发明将不会被限制于本文所示的这些实施例,而是要符合与本文所公开的原理和新颖特点相一致的最宽的范围。
技术特征:
1.
一种塑料薄膜分切膜卷包装置,包括底座
(1),其特征在于:所述底座
(1)
的两侧均固定安装有支撑台
(12),支撑台
(12)
的顶端可拆卸安装有可变辊组件
(6)
;所述可变辊组件
(6)
包括限位轴
(61)、滑移轴
(64),限位轴
(61)
与滑移轴
(64)
交替分布,限位轴
(61)
的两端均固定设置有限位杆
(62),限位轴
(61)
的中部通过轴承转动连接有第一肋板
(63),滑移轴
(64)
的两端分别滑动卡接在与其相邻的两个限位杆
(62)
上,滑移轴
(64)
的中部通过轴承转动连接有第二肋板
(65),第一肋板
(63)
的外圈固定连接有第一卷筒
(68),第二肋板
(65)
的外圈固定连接有第二卷筒
(69)
;所述底座
(1)
的上方在靠近可变辊组件
(6)
的位置处设置有用于对薄膜进行下压的调节辊
(14)。2.
根据权利要求1所述的一种塑料薄膜分切膜卷包装置,其特征在于:所述可变辊组件
(6)
端部的限位轴
(61)
上连接有第一固定杆
(66),第一固定杆
(66)
的端部与限位轴
(61)
上远离第二卷筒
(69)
的一端固定连接,位于可变辊组件
(6)
另一端部的滑移轴
(64)
上连接有第二固定杆
(67),第二固定杆
(67)
的一端与限位杆
(62)
的形状相同,且滑移轴
(64)
远离第一肋板
(63)
的一端滑动卡接在第二固定杆
(67)
的这一端部上,第一固定杆
(66)
和第二固定杆
(67)
上均开设有螺纹孔,支撑台
(12)
的顶部设置有用于固定第一固定杆
(66)
和第二固定杆
(67)
的固定件
(13),固定件
(13)
与第一固定杆
(66)、第二固定杆
(67)
通过螺纹螺栓配合连接。3.
根据权利要求1所述的一种塑料薄膜分切膜卷包装置,其特征在于:所述底座
(1)
的两侧在靠近支撑台
(12)
的位置处固定设置有承重座
(11),调节辊
(14)
的两端分别与承重座
(11)
中部的两内侧转动连接,承重座
(11)
的中部在可变辊组件
(6)
远离调节辊
(14)
的一侧安装有分切组件
(7)。4.
根据权利要求3所述的一种塑料薄膜分切膜卷包装置,其特征在于:所述分切组件
(7)
包括刀架
(71),刀架
(71)
的两端分别转动连接在两个承重座
(11)
的内侧,且承重座
(11)
的内部设置有为刀架
(71)
转动提供动力的电机,刀架
(71)
上设置有多个支板
(72),支板
(72)
的数量和位置与第一卷筒
(68)、第二卷筒
(69)
的间隙处对应,支板
(72)
的顶端固定安装有电动伸缩杆
(73),电动伸缩杆
(73)
的输出端朝向可变辊组件
(6)
并固定连接有刀片
(74),刀片
(74)
的位置与第一卷筒
(68)、第二卷筒
(69)
的间隙处对齐。5.
根据权利要求1所述的一种塑料薄膜分切膜卷包装置,其特征在于:所述底座
(1)
的顶端滑动连接有滑移座
(2),且底座
(1)
内设置有为滑移座
(2)
的移动提供动力的动力装置,滑移座
(2)
的顶端通过电动升降装置连接有缠绕模块
(3)。6.
根据权利要求5所述的一种塑料薄膜分切膜卷包装置,其特征在于:所述缠绕模块
(3)
包括缠绕支座
(31),缠绕支座
(31)
的底端固定连接在电动升降装置的输出端上,缠绕支座
(31)
的中部转动设置有缠绕辊
(32),且缠绕支座
(31)
上设置有为缠绕辊
(32)
转动提供动力的电机。7.
根据权利要求5所述的一种塑料薄膜分切膜卷包装置,其特征在于:所述滑移座
(2)
的顶端在靠近缠绕模块
(3)
的位置处安装有小规格下位组件
(4),小规格下位组件
(4)
包括小规格下位座
(41),滑移座
(2)
的顶端设置有为小规格下位座
(41)
提供上下移动动力的电动升降装置,电动升降装置的输出端与小规格下位座
(41)
的底端固定连接,小规格下位座
(41)
的数量与第二卷筒
(69)
的数量相同,且位置一一对应,小规格下位座
(41)
的中部转动
连接有小规格下位卷轴
(42),小规格下位座
(41)
的顶部一侧转动连接有小规格下位顶轴
(43),小规格下位顶轴
(43)
的数量与第一卷筒
(68)
的数量相同,且位置一一对应。8.
根据权利要求3所述的一种塑料薄膜分切膜卷包装置,其特征在于:所述承重座
(11)
的顶部转动设置有翻转座
(10),且承重座
(11)
的顶部安装有为翻转座
(10)
的转动提供动力的电机,翻转座
(10)
的底端安装有小规格上位组件
(9),小规格上位组件
(9)
包括小规格上位座
(91),翻转座
(10)
的底端设置有可以控制小规格上位座
(91)
进行上下移动的电动升降装置,小规格上位座
(91)
的数量与小规格下位顶轴
(43)
的数量相同且位置一一对应,小规格上位座
(91)
的中部转动设置有小规格上位卷轴
(92),小规格上位座
(91)
的底部一侧转动设置有小规格上位顶轴
(93),小规格上位顶轴
(93)
的数量与小规格下位座
(41)
的数量相同且位置一一对应。9.
根据权利要求5所述的一种塑料薄膜分切膜卷包装置,其特征在于:所述滑移座
(2)
的顶端在靠近小规格下位组件
(4)
的位置处安装有大规格下位组件
(5),大规格下位组件
(5)
包括大规格下位座
(51),滑移座
(2)
上设置有能够带动大规格下位座
(51)
进行上下移动的电动升降装置,大规格下位座
(51)
的顶端中部转动连接有大规格下位顶轴
(52),大规格下位座
(51)
的中部转动连接有两个大规格下位卷轴
(53),两个大规格下位卷轴分别
(53)
位于大规格下位顶轴
(52)
的两侧。10.
根据权利要求8所述的一种塑料薄膜分切膜卷包装置,其特征在于:所述翻转座
(10)
的顶端安装有大规格上位组件
(8),大规格上位组件
(8)
包括大规格上位座
(81),翻转座
(10)
的顶端设置有能够带动大规格上位座
(81)
进行上下移动的电动升降装置,大规格上位座
(81)
的中部转动连接有大规格上位卷轴
(82),大规格上位座
(81)
内设置有为大规格上位卷轴
(82)
提供转动动力的电机,大规格上位座
(81)
的顶部转动连接有两个大规格上位顶轴
(83),两个大规格上位顶轴
(83)
分别位于大规格上位卷轴
(82)
的两侧。
技术总结
本发明属于薄膜分切技术领域,公开了一种塑料薄膜分切膜卷包装置,包括底座,其中底座的两侧均固定安装有支撑台,支撑台的顶端可拆卸安装有可变辊组件,可变辊组件包括限位轴
技术研发人员:王国瑞 刘凤玲
受保护的技术使用者:深圳市聚亿新材料科技股份有限公司
技术研发日:2023.09.26
技术公布日:2023/11/21