服务热线
180-5003-0233
一种双轴铝箔分切机的制作方法本实用新型涉及铝箔分切设备技术领域,具体为一种双轴铝箔分切机。背景技术:分切机是一种将宽幅纸张、云母带或薄膜分切成多条窄幅材料的机械设备,常用于造纸机械、电线电......
一种新型锂电池极片分条边缘毛刺检测装置的制作方法本发明涉及锂电池极片检测装置,尤其是涉及一种新型锂电池极片分条边缘毛刺检测装置。背景技术:在锂电池的生产设备中,极片分切机在分切铜箔或铝箔极片时,较容易产生毛刺......
一种锂离子电池极片分切除尘装置的制作方法本发明涉及锂离子电池制造技术领域,具体涉及一种锂离子电池极片分切除尘装置。背景技术:锂离子电池具有高工作电压、高比能量、能量密度大、输出功率高、循环寿命长、无环......
一种涂布分切装置的制作方法本实用新型涉及涂布加工机械领域,特别涉及一种涂布分切装置。背景技术:涂布是为了防腐,绝缘,装饰等目的,以液体或粉末形式在织物,纸张,金属箔或板等物体表面上涂盖塑......
表面卷取分切机的卷取机构的制作方法专利名称:表面卷取分切机的卷取机构的制作方法技术领域:本实用新型涉及一种分切机设备,具体涉及一种表面卷取分切机的卷取机构。背景技术:表面卷取分切机设备适用于卷筒......
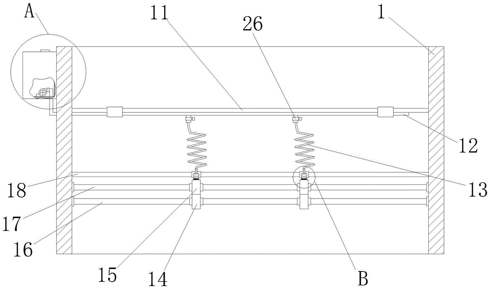
铜箔分切装置的制作方法专利名称:铜箔分切装置的制作方法技术领域:本实用新型涉及一种分切装置,更具体地说,尤其涉及一种铜箔分切装置。背景技术:分切机在铜箔、造纸、薄膜塑料等行业应用是很......
分切机分切产品表面有暴筋、凹凸不平或硬块、麻点分切机分切产品表面有暴筋、凹凸不平或硬块、麻点:产生原因:复合膜卷厚度误差大(这种故障往往出现在较厚的部位,张力和接触压力被集中在较厚部分)。接触压力大。收卷太......
一种可快速定位的分切机的制作方法本实用新型涉及分切机设备技术领域,具体为一种可快速定位的分切机。背景技术:分切机是将一大卷纸张,薄膜,无纺布,铝箔等各种薄材料分切成不同宽度小卷的印前,印后设备......
一种结构简单的分切机的制作方法1.本实用新型涉及分切机技术领域,具体为一种结构简单的分切机。背景技术:2.分切机是一种将宽幅纸张、云母带或薄膜分切成多条窄幅材料的机械设备,常用于造纸机械、电......
一种圆刀分切系统及分切机的制作方法本实用新型涉及分切物料设备的技术领域,具体而言,涉及一种圆刀分切系统及分切机。背景技术:分切机常用于造纸机械、电线电缆云母带及印刷包装机械,是一种将宽幅纸张、云......
一种具有裁边功能的铝塑膜分切机的制作方法1.本实用新型属于铝塑膜加工领域,尤其涉及一种具有裁边功能的铝塑膜分切机。背景技术:2.铝塑膜因为其具有1、极高的阻隔性;1、良好的冷冲压成型性;3、耐穿刺性;......
一种铜箔分切机下卷装置的制作方法1.本实用新型涉及一种铜箔分切机,特别涉及一种铜箔分切机下卷装置。背景技术:2.分切机是一种将宽幅纸张、云母带或薄膜分切成多条窄幅材料的机械设备,常用于造纸机械......
一种铜箔生产用高精密分切机的制作方法本实用新型涉及铜箔领域,具体为一种铜箔生产用高精密分切机。背景技术:分切机是将一卷纸张、薄膜、无纺布、铝箔或云母带等各种薄材料分切成不同宽度小卷,铜箔是一种阴质......
分切机质量控制为了稳定分切机产品质量,保证产品的合格率,现规定如下:1、来料检查:根据来料的质量情况、壁厚、断头数、来合理安排计划,主操应考虑在保证满足客户要求的卷径、米数的......
一种生产低噪音胶带的分切机的制作方法本实用新型涉及包装胶带的制造设备领域,更具体的说,改进涉及的 是一种生产低噪音胶带的分切机。...