服务热线
180-5003-0233

本实用新型涉及胶带分切装置技术领域,具体为一种胶带生产中用的分切机。
背景技术:
胶带分切机是一种将很宽的胶带分切成较窄的胶带分切机,分切机主要是将大卷筒母卷分切为不同宽度的产品,并可以有检查产品质量的作用。市场上有许多种不同规格的胶带卷,而现有的分切机大部分都只能得到宽度一致的胶带卷,不能灵活的根据市场需求进行调整刀具之间的间隔距离;目前有一些根据市场需求生产了便于根据需要进行调整刀具之间的间隔距离,实现同台分切机生产出多种不同规格的胶带卷。但是现有分切机大多数结构复杂,分切时温度不能控制,刀具在与胶带分切时,由于速度过快,刀具会产生热量,一旦刀具表面温度过高,将会融化胶带,影响胶带质量问题,并且分割后也没有专门收集胶带的装置,为此,我们提出一种更便捷的胶带分切机。
技术实现要素:
本实用新型的目的在于提供一种胶带生产中用的分切机,以解决上述背景技术中提出的温度控制不佳和结构复杂的问题。
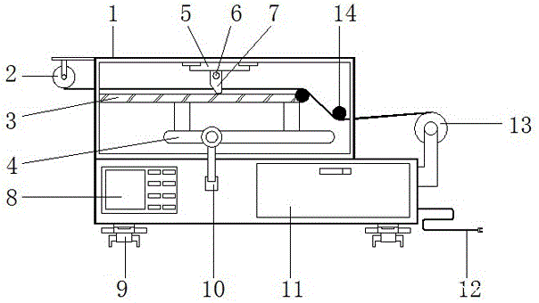
为实现上述目的,本实用新型提供如下技术方案:一种胶带生产中用的分切机,包括主体、送胶滚轮、分切板、升降装置、固定装置、恒温器、分切刀、操作箱、滚轮、把手、储物抽屉、电源插口、收胶滚轮和卷纸滚轮,所述主体的左侧固定有送胶滚轮,且主体内侧安装有分切板,所述分切板和升降装置相连接,且升降装置的末端安装有把手,所述主体内部顶端设置有固定装置,其固定装置的底侧镶嵌有分切刀,且分切刀的表层安置有恒温器,所述主体底侧设置有操作箱,且操作箱的右侧固定有储物抽屉,储物抽屉的底侧安置有滚轮,所述主体右侧安装有收胶滚轮,其收胶滚轮的底端镶嵌有电源插口,且收胶滚轮和卷纸滚轮相连接。
优选的,所述固定装置的底端设置有滑动导轨。
优选的,所述升降装置的升降范围为0-30cm。
优选的,所述分切板的表层分布有缓冲层。
优选的,所述恒温器为可报警装置,其报警最高温度为60℃。
与现有技术相比,本实用新型的有益效果是:该胶带生产中用的分切机结构简单新颖,在分切刀的表层镶嵌有恒温器,能够保持分切刀在工作时保持一个较低的温度,并且在分切刀的顶端设置有滑动导轨,能够使分切刀根据需求而左右移动,以便切出规定的胶带宽度,在完成切割后卷纸滚轮的设计能使胶带自动粘住白纸,大大提高了分切的效率。
附图说明
图1为本实用新型结构示意图。
图中:1、主体,2、送胶滚轮,3、分切板,4、升降装置,5、固定装置,6、恒温器,7、分切刀,8、操作箱,9、滚轮,10、把手,11、储物抽屉,12、电源插口,13、收胶滚轮,14、卷纸滚轮。
具体实施方式
下面将结合本实用新型实施例中的附图,对本实用新型实施例中的技术方案进行清楚、完整地描述,显然,所描述的实施例仅仅是本实用新型一部分实施例,而不是全部的实施例。基于本实用新型中的实施例,本领域普通技术人员在没有做出创造性劳动前提下所获得的所有其他实施例,都属于本实用新型保护的范围。
请参阅图1,本实用新型提供一种技术方案:一种胶带生产中用的分切机,包括主体1、送胶滚轮2、分切板3、升降装置4、固定装置5、恒温器6、分切刀7、操作箱8、滚轮9、把手10、储物抽屉11、电源插口12、收胶滚轮13和卷纸滚轮14,主体1的左侧固定有送胶滚轮2,且主体1内侧安装有分切板3,分切板3的表层分布有缓冲层,分切板3和升降装置4相连接,升降装置4的升降范围为0-30cm,且升降装置4的末端安装有把手10,主体1内部顶端设置有固定装置5,固定装置5的底端设置有滑动导轨,其固定装置5的底侧镶嵌有分切刀7,且分切刀7的表层安置有恒温器6,恒温器6为可报警装置,其报警最高温度为60℃,主体1底侧设置有操作箱8,且操作箱8的右侧固定有储物抽屉11,储物抽屉11的底侧安置有滚轮9,主体1右侧安装有收胶滚轮13,其收胶滚轮13的底端镶嵌有电源插口12,且收胶滚轮13和卷纸滚轮14相连接。
工作原理:在使用分切机之前,首先需要对整个机械进行简单的结构的了解,对于这类的胶带分切机首先将胶带放置在送胶滚轮2上,随后通过电源插口12接通电源,控制操作箱8设定好程序,此时胶带会传送到分切板3上,由分切刀7进行切割,此时通过滑动导轨移动分切刀7从而使切割宽度发生变化,此过程中恒温器6会保持一个较低的温度,分切后由卷纸滚轮14进行粘附纸张,最后由收胶滚轮13收起,使得整个分切的效率得到很好的提高,就这样完成整个胶带分切机的使用过程。
尽管已经示出和描述了本实用新型的实施例,对于本领域的普通技术人员而言,可以理解在不脱离本实用新型的原理和精神的情况下可以对这些实施例进行多种变化、修改、替换和变型,本实用新型的范围由所附权利要求及其等同物限定。
技术特征:
1.一种胶带生产中用的分切机,包括主体(1)、送胶滚轮(2)、分切板(3)、升降装置(4)、固定装置(5)、恒温器(6)、分切刀(7)、操作箱(8)、滚轮(9)、把手(10)、储物抽屉(11)、电源插口(12)、收胶滚轮(13)和卷纸滚轮(14),其特征在于:所述主体(1)的左侧固定有送胶滚轮(2),且主体(1)内侧安装有分切板(3),所述分切板(3)和升降装置(4)相连接,且升降装置(4)的末端安装有把手(10),所述主体(1)内部顶端设置有固定装置(5),其固定装置(5)的底侧镶嵌有分切刀(7),且分切刀(7)的表层安置有恒温器(6),所述主体(1)底侧设置有操作箱(8),且操作箱(8)的右侧固定有储物抽屉(11),所述储物抽屉(11)的底侧安置有滚轮(9),所述主体(1)右侧安装有收胶滚轮(13),其收胶滚轮(13)的底端镶嵌有电源插口(12),且收胶滚轮(13)和卷纸滚轮(14)相连接。
2.根据权利要求 1 所述的一种胶带生产中用的分切机,其特征在于:所述固定装置(5)的底端设置有滑动导轨。
3.根据权利要求 1 所述的一种胶带生产中用的分切机,其特征在于:所述升降装置(4)的升降范围为0-30cm。
4.根据权利要求 1 所述的一种胶带生产中用的分切机,其特征在于:所述分切板(3)的表层分布有缓冲层。
5.根据权利要求 1 所述的一种胶带生产中用的分切机,其特征在于:所述恒温器(6)为可报警装置,其报警最高温度为60℃。
技术总结
本实用新型公开了一种胶带生产中用的分切机,包括主体、送胶滚轮、分切板、升降装置、操作箱、把手、储物抽屉、电源插口、收胶滚轮和卷纸滚轮,所述主体的左侧固定有送胶滚轮,且主体内侧安装有分切板,所述分切板和升降装置相连接,且升降装置的末端安装有把手,所述主体内部顶端设置有固定装置,所述主体底侧设置有操作箱,且操作箱的右侧固定有储物抽屉,所述主体右侧安装有收胶滚轮,其收胶滚轮的底端镶嵌有电源插口,且收胶滚轮和卷纸滚轮相连接。该胶带生产中用的分切机结构简单新颖,在分切刀的表层镶嵌有恒温器,能够保持分切刀在工作时保持一个较低的温度,在完成切割后卷纸滚轮的设计能使胶带自动粘住白纸,大大提高了分切的效率。
技术研发人员:李群芳
受保护的技术使用者:浙江绿洲胶粘制品有限公司
文档号码:201620981789
技术研发日:2016.08.30
技术公布日:2017.04.26