服务热线
180-5003-0233
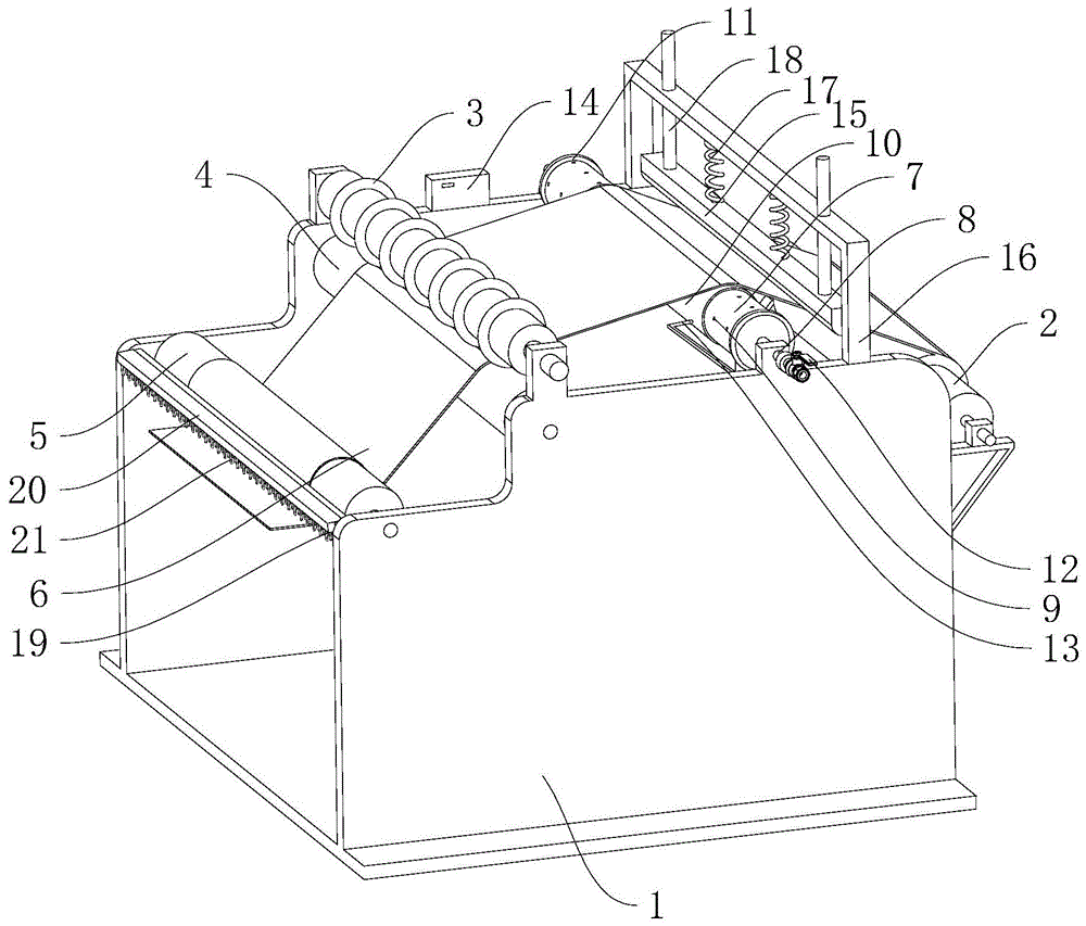
一种具有静电消除功能的分切机的制作方法本实用新型涉及纸张分切技术领域,尤其是涉及一种具有静电消除功能的分切机。背景技术:分切机是一种能将宽幅纸张分切成多条窄幅材料的机械设备,常用于造纸机械、电线电缆......
烫金纸怎么用烫金纸在生活上的应用随处可见,例如衣服上色彩丰富的烫印图案,又如覆盖在印刷纸上具有金属光泽的烫金纸。那采购回来的烫金纸该怎么用呢?今天小编就给大家讲解。因为烫金......
2024年热打印色带行业研究报告大厅对热打印色带行业研究的主要核心研究内容有以下几个方面:1、热打印色带行业的大体环境信息根据PEST分析模型以及对行业研究经验对热打印色带行业在国际和国内......
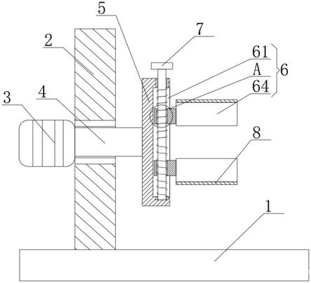
一种分切机降噪音装置的制作方法本实用新型涉及胶带分切机技术领域,特别涉及一种分切机降噪音装置。背景技术:在现有技术中,有一种将一长管状的卷绕而成的涂布胶带切成多段可使用的成品胶带,通常是采用......
环保型分切机的切刀清洁装置的制作方法1.本技术涉及分切机的领域,尤其是涉及一种环保型分切机的切刀清洁装置。背景技术:2.分切机是一种将宽幅纸张、云母带或薄膜分切成多条窄幅材料的机械设备,常用于造纸......
2024年打印机色带现状分析打印机色带行业现状分析报告主要分析要点有:1)打印机色带行业生命周期。通过对打印机色带行业的市场增长率、需求增长率、产品品种、竞争者数量、进入壁垒及退出壁垒、技......
薄膜分切复卷机在加工薄膜材料中扮演着重要的角色薄膜在现代工业中扮演着重要的角色,广泛应用于包装、印刷、电子、太阳能等领域。而薄膜材料的加工则需要高精度的设备来确保质量和效率。薄膜分切复卷机作为薄膜加工生产线......
烫金纸烫金的优势有哪些烫金的优势:1、干式装饰工艺, 不需要像丝印或者移印那样需要调试油墨。2、可应用于多 种类型的材料:热固性塑料,木材,皮革,玻璃和丝网印刷后的金属表面。3、唯一......
极片分切机:精准裁剪极片,助力光电行业极片是光电行业中不可或缺的重要元件,其制造需要精准的加工工艺来确保产品的质量和性能。极片分切机作为光电行业生产线的关键环节之一,在极片的裁剪加工中发挥着重要作用......
烫金纸烫印中遇到的问题以及解决方法今天小编就给大家讲述一下烫金纸烫在印过程中会遇到的问题以及解决方法。1、首先是烫印温度低或压力轻而导致烫印不牢时,可重新调整烫印温度和压力。2、在印刷过程中,油......
分切机升降平台脚踏开关装置的制作方法本实用新型属于分切机领域,具体是涉及分切机升降平台脚踏开关装置。背景技术:分切机是一种将宽幅纸张、云母带或薄膜分切成多条窄幅材料的机械设备,常用于造纸机械、电线......
一种无纺布分切机摩擦放卷机械装置的制作方法1.本实用新型涉及机械装置技术领域,尤其涉及一种无纺布分切机摩擦放卷机械装置。背景技术:2.分切机是一种将宽幅纸张、云母带或薄膜分切成多条窄幅材料的机械设备,常......
一种分切机卷膜防跑偏装置的制作方法1.本实用新型涉及分切机技术领域,尤其涉及一种分切机卷膜防跑偏装置。背景技术:2.分切机是一种将宽幅纸张、云母带或薄膜分切成多条窄幅材料的机械设备,常用于造纸机......
烫金纸被反拉问题的解决方法烫金纸在烫印的过程中如果出现了反拉的问题的时候,我们该如何去解决呢?今天小编给大家介绍一下烫金纸被反拉问题的解决方法。1、烫印质的控制烫印质量是确保后续的印刷生......
极片分切机在光电领域的作用及应用领域有哪些在光电子行业,极片作为核心组件之一,其精确加工对产品质量和性能至关重要。极片分切机作为现代制造的关键设备之一,在极片的分切加工过程中发挥着重要作用,为光电领域的......