服务热线
180-5003-0233
一种可伸缩的分切机气动刀架的制作方法本实用新型涉及分切机,具体涉及一种可伸缩的分切机气动刀架。背景技术:分切机刀架是分切机中安装并驱动刀片进行工作的部件。然而,现有技术的分切机刀架在安装完毕后不能......
我国热转印色带行业规模整体保持增长 出口产品附加值有待提升1、热转印色带概述及分类热转印色带属于热转印打印耗材,也称为热转印碳带。热转印打印就是通过计算机信号驱动半导体电热头将热量传递到打印头,当受印介质及热转印色带通......
5个烫金纸常识性问题我们在使用烫金纸的时候,有哪些常识性的问题呢?今天小编给大家介绍一下烫金纸的常识性的问题有哪些吧。1、烫金纸有哪些基材适用,可以用在哪里各种纸张或纸板、OPP覆......
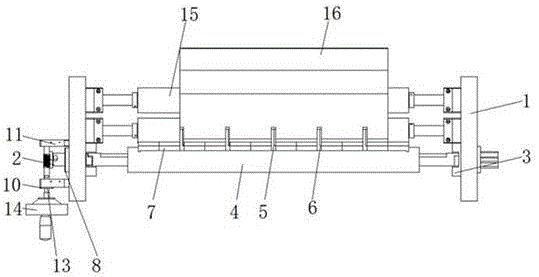
一种分切机的直刀刀架机构的制作方法本实用新型涉及分切机技术领域,具体为一种分切机的直刀刀架机构。背景技术:传统的分切机的直刀刀架机构结构较为复杂,操作流程较为繁琐,在使用时非常不便,同时传统的分......
一种分切机放刀座的制作方法本实用新型涉及放刀座技术领域,尤其涉及一种分切机放刀座。背景技术:在隔膜分切行业中,人们常常用刀片来把宽的隔膜分切成各种宽度的隔膜,分切机中放刀座上的刀片只能露......
双零铝箔分切机介绍双零铝箔分切机是一种专门用于将双零铝箔卷材切割成所需宽度和长度的机械设备。它是铝箔生产过程中的重要设备之一,广泛应用于食品包装、药品包装、电子产品包装等领域。该......
什么是双零铝箔双零铝箔是一种铝箔产品,其厚度以毫米为计量单位时小数点后有两个零,通常指的是厚度小于0.0075mm的铝箔。在英文中,双零铝箔被称为“light gauge f......
什么是双零铝箔?双零铝箔的优点及应用领域双零铝箔是一种高品质的铝箔制品,由于它的两个零点(即0.006mm)的超薄厚度和高强度的特点,双零铝箔广泛应用于食品包装、医药包装、电子产品以及建筑、船舶等领域......
分条机及收卷滑差轴的制作方法【技术领域】[0001]本实用新型涉及一种窄形分切设备,尤其是涉及一种窄形分切设备的收卷滑差轴。【背景技术】[0002]现有的收卷滑差轴,一般采用滑差式气涨轴结......
一种方便快速上下料的复卷分条机的制作方法1.本实用新型涉及一种复卷分条机,尤其涉及一种方便快速上下料的复卷分条机。背景技术:2.复卷分条机是一种可以将塑料薄膜,石墨片、导电布/棉等产品分切为二的机械、......
一种塑料分条机的制作方法本实用新型涉及塑料加工技术领域,具体是指一种塑料分条机。背景技术:塑料膜是聚氯乙烯、聚乙烯、聚丙烯、聚苯乙烯以及其他树脂制成的薄膜,用于包装、覆膜层。塑料包装及......
烫金纸烫金时需要注意哪些问题烫金纸的烫金质量受多种因素的影响,尤其是烫金是在烫印之后进行的,它的印刷效果,墨层厚薄,油墨的性质等的都会影响到烫印的效果的。那么在烫金纸烫金时需要注意哪些问题......
2024烫金纸市场分析烫金纸行业市场分析报告是对烫金纸行业市场规模、市场竞争、区域市场、市场走势及吸引范围等调查资料所进行的分析。它是指通过烫金纸行业市场调查和供求预测,根据烫金纸行......
一种放卷气涨轴卡头装置及分切机的制作方法本实用新型涉及包装机械设备技术领域,特别涉及一种放卷气涨轴卡头装置及分切机。背景技术:分切机是要将整卷镀铝膜或者原材料薄膜进行固定长度与宽度的分切加工,经过分切......
一种锂电隔膜分切机的制作方法【专利摘要】本实用新型公开了一种锂电隔膜分切机,包括有纠边平台机构,纠边平台机构上端装设有气涨轴放卷机构,气涨轴放卷机构右侧上端装设有瑕疵检测平台,瑕疵检测平台......