服务热线
180-5003-0233
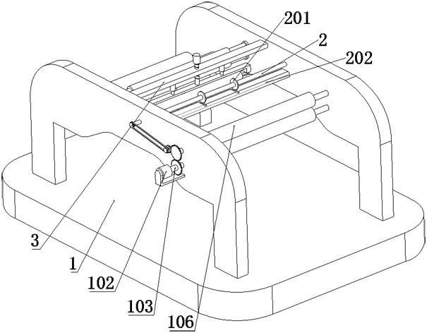
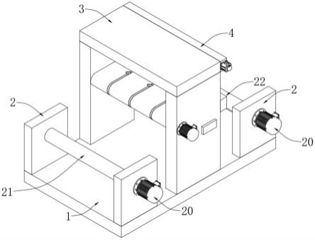
一种分切机的穿片装置的制作方法1.本实用新型涉及工业机械技术领域,尤其是涉及一种用于分切机的穿片装置。背景技术:2.分切机是一种用于将宽幅纸张、云母带、薄膜等薄片材料分切成多条窄幅材料的机械......
一种淋膜纸分切机的制作方法1.本实用新型涉及淋膜纸分切机技术领域,具体是一种淋膜纸分切机。背景技术:2.分切机是一种将宽幅纸张、云母带或薄膜分切成多条窄幅材料的机械设备,常用于造纸机械、......
2024年电化铝烫印材料现状分析电化铝烫印材料行业现状分析报告主要分析要点有:1)电化铝烫印材料行业生命周期。通过对电化铝烫印材料行业的市场增长率、需求增长率、产品品种、竞争者数量、进入壁垒及......
一种食品包装袋薄膜分切机的制作方法1.本实用新型涉及分切机技术领域,尤其涉及一种食品包装袋薄膜分切机。背景技术:2.分切机是一种将宽幅纸张、云母带或薄膜分切成多条窄幅材料的机械设备,常用于造纸机......
一种带防护装置的金属化薄膜分切机的制作方法本实用新型涉及薄膜生产领域,尤其涉及一种带防护装置的金属化薄膜分切机。背景技术:薄膜分切机可将:聚酯薄膜、镀铝薄膜、boppldpe、hdpe、lldpe、pp......
锂电池隔膜分切机的制作方法1.本实用新型涉及锂电池隔膜分切技术领域,尤其涉及锂电池隔膜分切机。背景技术:2.锂电池的结构中,隔膜是关键的内层组件之一。隔膜的性能决定了电池的界面结构、内阻......
高精度分切机的技术特点及应用领域有哪些在现代制造业中,高精度分切机作为一种重要的加工设备,广泛应用于各种领域,如电子、光电、半导体等行业。其高度精确的切割能力和稳定的性能,为产品的制造和加工提供了可......
烫金纸在不同行业的正确使用方法今天我们就来了解一下烫金纸在不同行业的正确使用方法。1、布料类的平烫将烫金浆放置在丝印网版上面,再使用胶挂浆将烫金浆印到需要烫印的物品的表面,比如一些纸张、服装......
分切机:高效、精确的现代工业分切设备在现代工业生产中,分切机作为一种高效、精准的材料分切设备,广泛应用于各个行业。无论是金属、塑料、纸张还是其他材料,分切机都能够实现快速、准确的分切,满足生产过程......
一种牛皮纸生产用定米数分切机的制作方法1.本实用新型涉及分切机及技术领域,具体为一种牛皮纸生产用定米数分切机。背景技术:2.分切机是一种将宽幅纸张、云母带或薄膜分切成多条窄幅材料的机械设备,常用于造......
分切机及其边料回收装置的制作方法本实用新型涉及薄膜加工领域,特别涉及分切机及其边料回收装置。背景技术:分切机是一种将宽幅纸张、云母带或薄膜分切成多条窄幅材料的机械设备,常用于造纸机械、电线电缆......
烫金纸在烫印过程中效果不理想如何去解决烫金纸在烫印的过程中出现了一点小问题,导致效果不理想时我们该如何去解决呢?今天小编给大家介绍一下烫金纸烫印过程中效果不理想的解决方法如下。1、烫印温度过低,印版......
2024年烫金电化铝现状分析烫金电化铝行业现状分析报告主要分析要点有:1)烫金电化铝行业生命周期。通过对烫金电化铝行业的市场增长率、需求增长率、产品品种、竞争者数量、进入壁垒及退出壁垒、技......
锂电池分切机:提升锂电池生产效率与品质的利器在锂电池的生产过程中,分切机是不可或缺的重要设备之一。它主要负责将电极带、隔膜等材料按照指定规格切割成所需长度和宽度,以供后续的电池组装工作使用。锂电池分切机的......
全自动分切机的切刀冷却装置的制作方法本实用新型涉及一种全自动分切机,更具体地说,它涉及一种全自动分切机的切刀冷却装置。背景技术:全自动分切机是一种将宽幅纸张、云母带或薄膜分切成多条窄幅材料的机械设......