服务热线
180-5003-0233
一种铜箔分切机收卷压辊装置的制作方法1.本实用新型涉及一种铜箔分切机,特别涉及一种铜箔分切机收卷压辊装置。背景技术:2.分切机是一种将宽幅纸张、云母带或薄膜分切成多条窄幅材料的机械设备,常用于造纸......
一种铝板加工用分切机的制作方法本实用新型涉及铝板分切机技术领域,具体为一种铝板加工用分切机。背景技术:分切机是一种将宽幅纸张、云母带或薄膜分切成多条窄幅材料的机械设备,常用于造纸机械、电线电......
烫金纸的主要应用和使用方法说起烫金纸这款应用,大部分都认识它,因为在我们的生活中的应用随处可见。比如衣服上的图案。还有许多在生活里看见的东西。那么我们采购回来的烫金纸主要有哪些应用的。又......
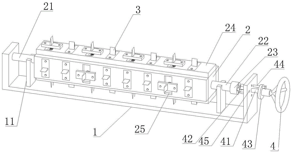
一种分切机收卷轴定位机构的制作方法本实用新型涉及分切机技术领域,具体涉及一种分切机收卷轴定位机构。背景技术:分切机是一种将宽幅纸张、云母带或薄膜分切成多条窄幅材料的机械设备,常用于造纸机械、电线......
一种环保无纺布分切机的制作方法本实用新型属于无纺布手提袋技术领域,具体涉及一种环保无纺布分切机。背景技术:无纺布手提袋故名思议就是用材料为无纺布做成的手提袋,是一种绿色产品,坚韧耐用、造型美......
BOPP薄膜生产用分切机的制作方法bopp薄膜生产用分切机技术领域1.本实用新型涉及薄膜加工设备的技术领域,特别是涉及一种bopp薄膜生产用分切机。背景技术:2.bopp薄膜是双向拉伸聚丙烯薄膜......
中国烫金箔行业竞争态势与厂商布局分析 烫金箔市场报告从产业链概况、发展环境、历史规模趋势、各地区发展优劣势、行业竞争态势等方面进行调研。报告显示,全球和中国烫金箔市场规模在2022年分别达到69.5......
如何去选择烫金纸烫金纸该怎么去选择呢?选择一款好的烫金纸要了解烫金纸是什么样材料做成的。下面,小编就来给大家讲述一下怎么去选择烫金纸。1,了解产品的底材,因为需要烫金的底材决定......
一种电池铝箔专用切边分切装置的制作方法本实用新型涉及铝箔加工领域,特别涉及一种电池铝箔专用切边分切装置。背景技术:随着科技的进步,一切都在往高精尖方向发展,电池铝箔加工生产精密度要求也越来越高。原有......
立式分切机倒卷合缠、改切方法与流程1.本发明涉及立式分切机技术领域,具体为立式分切机倒卷合缠、改切方法。背景技术:2.铝箔作为一种新型材料,因其良好的性能,被广泛应用与生活中的各个方面。据《铝箔......
一种铝箔纸分切机松紧调节机构的制作方法本技术涉及铝箔纸分切领域,特别涉及一种铝箔纸分切机松紧调节机构。背景技术:1、分切机按照材料来分有:薄膜分切机,纸张分切机,布料分切机,皮革分切机,铜铝箔分切机......
2024年中国热转印纸行业市场全景调查、投资策略研究报告 为方便行业人士或投资者更进一步了解热转印纸行业现状与前景,智研咨询特推出《2024-2030年中国热转印纸行业市场运行态势及未来前景分析报告》(以下简称《报告》......
电化铝质量检验电化铝的质量,我们该怎么去检验呢?今天我们一起来了解电化铝的质量怎么去检验。1、电化铝的牢度和松紧度一般可通过用手揉搓,或用透明胶带纸试粘电化铝表层进行检查电化......
一种钢带分切机及其分切方法与流程本发明涉及钢带加工的技术领域,特别是钢带分切机及其分切方法的技术领域。背景技术:钢带又称带钢,是宽度在1300mm以内,长度根据每卷的大小略有不同。带钢一般成卷......
一种分切机用切割刀位置调节装置的制作方法本实用新型涉及一种切割刀装置,特别是一种分切机用切割刀位置调节装置。背景技术:现有的分切机,一台分切机上只固定设置一个分切机构,且分切机构的切割刀数量和位置固定......