服务热线
180-5003-0233
分切刀除尘装置及分切刀的制作方法1.本实用新型涉及除尘装置领域,具体地,涉及分切刀除尘装置及分切刀;尤其涉及锂电制造过程中的分切刀除尘装置。背景技术:2.在锂电池生产过程中,较宽的锂电原料卷需......
一种用于超薄压延铜箔分切的新型刀片的制作方法本实用新型涉及一种铜箔分切刀片,尤其是一种用于超薄压延铜箔分切的新型刀片。背景技术:在铜箔生产行业中,成品铜箔需要按照客服需求对成品进行分切,分切使用的刀具是分......
电池极片高速分切方法与流程本发明涉及一种电池极片高速分切方法。背景技术:电池极片在涂布完正极或负极材料并滚压完后,就要进行分切成所需要的规格宽度,通行的方式是以金属为材质做分切刀,为了提......
胶带分切机的防松装置的制作方法本发明涉及一种工业机械。背景技术:胶带工业生产过程中,采用分切机不仅有效提高了工作效率,还具有较高的经济价值,但使用时也存在一定的不足之处,由于需要卸下滚轴进行......
基于离散PID和锥度张力控制的薄膜分切机张力调节方法基于离散pid和锥度张力控制的薄膜分切机张力调节方法技术领域1.本发明属于张力调节技术领域,尤其涉及基于离散pid和锥度张力控制的薄膜分切机张力调节方法。背景技......
一种薄膜分切机的制作方法本实用新型涉及一种机械设备领域装置,尤其是一种可以检测分切的薄膜尺寸是否合格,实现半自动化提高工作效率的薄膜分切机。背景技术:薄膜分切机广泛用于包装及其它覆膜行......
一种可精准调节的无纺布分切机的制作方法本发明涉及无纺布生产技术领域,具体是一种可精准调节的无纺布分切机。背景技术:无纺布(英文名:nonwovenfabric或者nonwovencloth)又称不织......
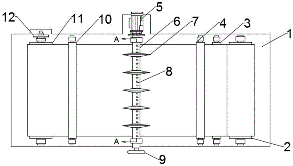
一种用于分切机的可调节圆刀机构的制作方法本实用新型涉及分切机领域,具体涉及一种用于分切机的可调节圆刀机构。背景技术:分切机是一种将材料分切成多条的机械设备。其中,现有的分切机通常设置有上刀轴和下刀轴,......
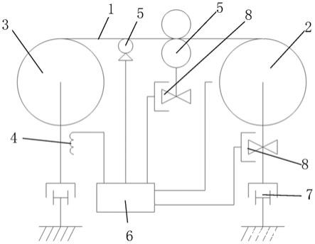
一种用于分切机上自动刹车的装置的制作方法本实用新型涉及分切机技术领域,具体为一种用于分切机上自动刹车的装置。背景技术:分切机是一种将宽幅纸张、云母带或薄膜分切成多条窄幅材料的机械设备,其一般采用液压的......
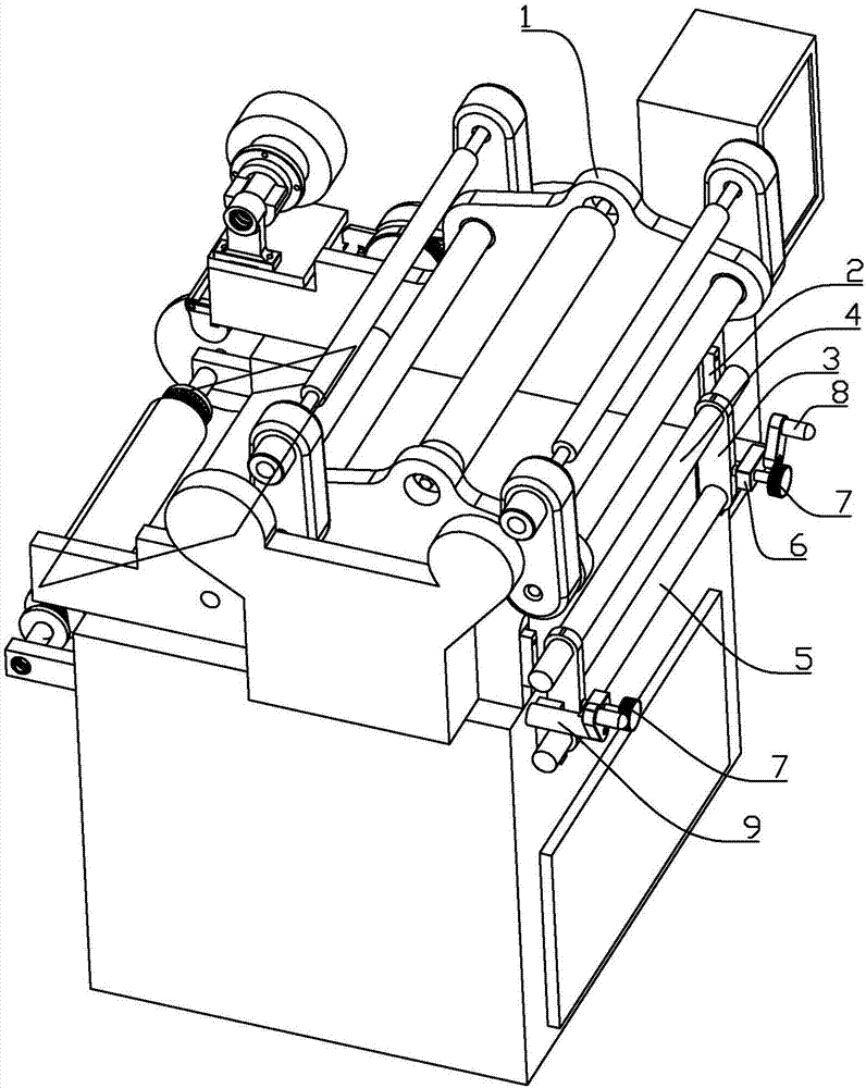
分切机的上下刀具咬合调整机构的制作方法专利名称:分切机的收卷装置的制作方法技术领域:本实用新型属于分切机技术领域,尤其涉及一种分切机的收卷装置。背景技术:现有分切机在收卷过程中,高速运转的膜料容易将......
分切机的收卷装置的制作方法专利名称:分切机的收卷装置的制作方法技术领域:本实用新型属于分切机技术领域,尤其涉及一种分切机的收卷装置。背景技术:现有分切机在收卷过程中,高速运转的膜料容易将......
一种调刀方便的分切机的圆刀调刀机构的制作方法本实用新型涉及分切机技术领域,更具体地说,是涉及一种调刀方便的分切机的圆刀调刀机构。背景技术:分切机是一种将材料分切成多条的机械设备。其中,现有的分切机通常设置......
无纺布分切机的制作方法1.本技术涉及无纺布切割技术领域,尤其是涉及一种无纺布分切机。背景技术:2.分切机是一种将宽幅无纺布、纸张、云母带或薄膜分切成多条窄幅材料的机械设备。通常分切机......
复卷机适用于哪些材料的复卷一般来说,复卷机适用于任何有粘性材料及部分无粘性材料之复卷,如双面胶带、美纹胶带、PVC胶带、PET胶带、布基胶带、金手指胶带、玛拉胶带、PE保护膜、离型纸等。......
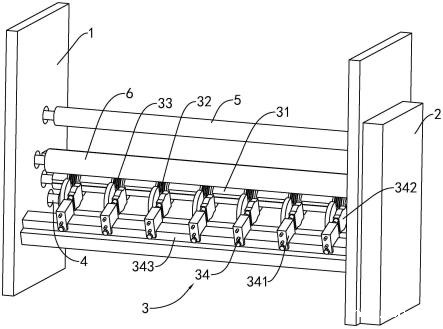
分切机、滑差轴及滑差环的制作方法本发明涉及一种分切机,尤其涉及一种分切机的滑差轴。背景技术:在现有的分切机上,通常采用滑差轴来实现料卷的收卷。滑差轴包括芯轴和套设在该芯轴上的若干滑差环。滑差轴......