服务热线
180-5003-0233
拉丝烫金纸的烫印特点拉丝烫金纸广泛应用,可烫印在ABS、PC、PS、PVC、亚克力等塑料外壳上。用于家电装饰,如电脑机箱、音响、冰箱、空调外壳等装饰上。接下来就来看下拉丝烫金纸的烫......
一种用于纸制品加工的切管机的制作方法1.本实用新型涉及纸制品加工技术领域,具体为一种用于纸制品加工的切管机。背景技术:2.在纸制品制造中,纸管生产往往都是采用一根长纸管进行切割,最后得到符合规格的......
分切机是如何装载材料和进行切割的有针对性的做好分切机各个方面的了解和认识,关注到了更多实际的情况之后,那么你避免走入这些误区,自然就能购买到质量更好的分切机产品,对今后来说也都会有足够的保障,......
分切机的准备工作和调整设备分切机是一种常用的工业设备,用于将材料如纸张、塑料薄膜、布料等按照需要的尺寸和形状进行切割。以下是一般分切机的准备工作和调整设备:1.准备工作确保分切机所在的工......
拉丝烫金纸之烫金工艺中的热烫印与冷烫印在日益激烈的市场竞争中,为了增加产品的附加价值,更有效地进行包装防伪,越来越多的人会在产品包装上采用烫印技术。烫印,俗称"烫金",是指在承印物烫上色箔等材料的文......
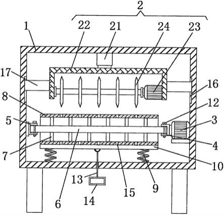
带吹边收集的分切机的制作方法本实用新型涉及带吹边收集的分切机。背景技术:分切机是包装行业常用器械,用于将纸板或者复合膜切成合适的宽度尺寸,在分切机切除的时候会产生边料,现有的分切机也有使用......
一种分切机的纸管固定筒的制作方法本实用新型涉及一种纸管固定筒,具体是涉及一种分切机的纸管固定筒。背景技术:胶带分切机是一种将长胶带分切成多个短胶带的设备,传统的胶带分切机通常是通过多个组合切刀......
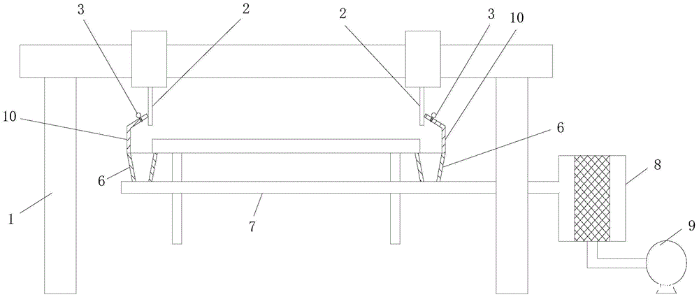
一种纸管制造裁切装置的制作方法本实用新型涉及纸管制造技术领域,具体为一种纸管制造裁切装置。背景技术:纸管,是用纸张加工成的管状的物体,大多纸管为螺旋纸管和无缝纸管,使用新闻纸、纱管纸、白板纸......
一种纸管改切装置的制作方法本实用新型涉及,特指一种纸管改切装置。背景技术:目前,传统的纸管改切机需要人工来调整十分的不方便而且定位精度不高。市场上有两种比较主流的机型是行星式纸管改切机或......
一种多功能小型复卷机的制作方法本实用新型涉及一种复卷机,具体为一种多功能小型复卷机,属于造纸机械技术领域。背景技术:复卷机,是一种造纸专用设备,其用途是将造纸机生产出来的纸卷(称为原纸卷)进......
一种自动调刀纸张分切机的制作方法本实用新型涉及纸张切割设备技术领域,尤其涉及一种自动调刀纸张分切机。背景技术:纸张分切机是将宽幅卷筒纸分切并复卷成宽度不等,直径大小不等卷材的纸张加工设备。广泛......
一种双层薄膜叠加分切装置的制作方法本实用新型属于薄膜分切设备制造技术领域,具体涉及一种双层薄膜叠加分切装置。...
一种高分子防水卷材生产分切机械及分切方法与流程本发明涉及高分子防水卷材的技术领域,特别涉及一种高分子防水卷材生产分切机械及分切方法。背景技术:防水卷材主要是用于建筑墙体、屋面、以及隧道、公路、垃圾填埋场等处......
一种复卷机用铝箔切割机构的制作方法1.本实用新型涉及铝箔切割技术领域,尤其涉及一种复卷机用铝箔切割机构。背景技术:2.铝箔作为一种工业制造原辅材料,产品主要应用于包装防护,生活用品,建筑等,铝箔......
一种铝箔纸加工用高精度分切复卷机的制作方法1.本实用新型涉及铝箔复卷机领域,特别涉及一种铝箔纸加工用高精度分切复卷机。背景技术:2.铝箔复卷机是铝箔加工最重要的设备,现有的复卷机通常包括机架,机架上安装......