服务热线
180-5003-0233

1.本实用新型涉及铝箔切割技术领域,尤其涉及一种复卷机用铝箔切割机构。
背景技术:
2.铝箔作为一种工业制造原辅材料,产品主要应用于包装防护,生活用品,建筑等,铝箔的用途十分广泛,例如:航空食品包装,普通肉食包装,烟卷包装等,而铝箔在生产过程中需要对铝箔的卷料进行切割成一定的尺寸,继而保证得到同等规格的铝箔卷。
3.经检索,现有公开号为cn208601633u的实用新型,该实用新型公开了一种铝箔切割机构,包括刀座辊、刀座、切刀、刀槽辊、刀槽;若干个刀座间隔连接在所述刀座辊上,各刀座均能够沿所述刀座辊移动,各刀座上分别连接有切刀;所述刀槽辊设在所述刀座辊的一侧,若干刀槽间隔连接在所述刀槽辊上,各刀槽均能够沿所述刀槽辊移动;两个切刀的刀刃分别接触其对应位置的刀槽。
4.但是该实用新型是直接手动调整切刀位置,尺寸调整的并不精准,导致切割出的铝箔的尺寸受到影响。
技术实现要素:
5.本实用新型的目的是提供一种复卷机用铝箔切割机构,解决了现有技术中调整切刀位置的问题。
6.为了实现上述目的,本实用新型采用了如下技术方案:
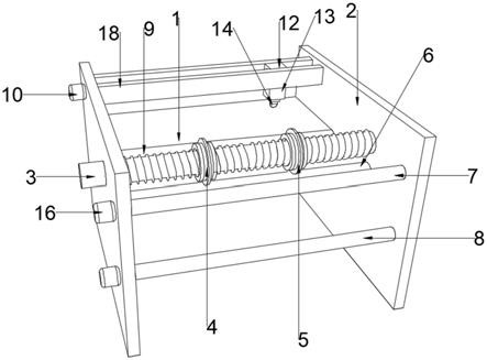
7.一种复卷机用铝箔切割机构,包括两个支撑板,两个所述支撑板中其中一个支撑板的外侧固定连接有两个二号电机,所述二号电机的输出端连接有一号连接杆,所述另一个支撑板的内侧固定连接有二号连接杆,两个所述支撑板之间转动连接有上导向棍和下导向棍,两个所述支撑板之间转动连接有一号丝杆,所述一号丝杆的外表面对称设有一号滑块,所述一号滑块中间位置转动连接有一号切刀,两个所述支撑板之间固定连接有横板,两个所述支撑板之间转动连接有导向棍,两个所述支撑板之间转动连接有二号丝杆,两个所述支撑板之间固定连接有两个挡板,所述二号丝杆的外表面螺纹连接有二号滑块,所述二号滑块的底面固定连接有气缸,所述气缸的底面固定连接有二号切刀,两个所述支撑板中其中一个支撑板远离二号滑块的一侧固定连接有一号电机。
8.优选的,所述一号连接杆贯穿支撑板且伸出支撑板一部分,所述一号连接杆插在上导向棍和下导向棍内且螺纹连接,所述二号连接杆插在上导向棍和下导向棍的另一端且与其转动连接。
9.优选的,所述一号丝杆的一端支撑板并延伸出支撑板一部分,所述一号丝杆的另一端位于另一个支撑板内。
10.优选的,所述一号丝杆位于刀槽棍的正上方,所述二号丝杆位于横板的正上方。
11.优选的,所述导向棍与横板位于同一水平面上,所述导向棍位于横板内。
12.优选的,所述二号丝杆的一端贯穿支撑板并与一号电机的输出端连接。
13.优选的,所述横板上设有铝箔纸并位于刀槽棍和一号切刀之间。
14.本实用新型至少具备以下有益效果:
15.1、一种复卷机用铝箔切割机构,设置了一号丝杆、一号滑块和一号切刀,可以较为精确的调整两个切刀之间的距离,转动一号丝杆,两个一号滑块沿着一号丝杆同时向中间或两侧移动,再通过固定螺母固定,可以任意调整两个一号切刀之间的距离,方便按照不同的尺寸要求纵向切割铝箔纸。
16.2、一种复卷机用铝箔切割机构,设置了横板、二号丝杆、二号滑块、气缸和二号切刀,方便对铝箔纸进行切割,切割时气缸将一号切刀往铝箔纸方向移动,二号滑块移动带动二号切刀对铝箔纸进行切割,可以横向将铝箔纸切。
附图说明
17.为了更清楚地说明本实用新型实施例技术方案,下面将对实施例描述中所需要使用的附图作简单地介绍,显而易见地,下面描述中的附图是本实用新型的一些实施例,对于本领域普通技术人员来讲,在不付出创造性劳动的前提下,还可以根据这些附图获得其他的附图。
18.图1为本实用新型的整体结构示意图;
19.图2为本实用新型的侧视图;
20.图3为本实用新型中一号丝杆的分解图;
21.图4为本实用新型中二号切刀的结构示意图;
22.图5为本实用新型中横板的分解图;
23.图6为本实用新型中上导向棍的分解图。
24.图中:1、横板;2、支撑板;3、一号丝杆;4、一号滑块;5、一号切刀;6、刀槽棍;7、上导向棍;8、下导向棍;9、导向棍;10、一号电机;11、二号丝杆;12、二号滑块;13、气缸;14、二号切刀;15、铝箔纸;16、二号电机;17、一号连接杆;18、二号连接杆;19、挡板。
具体实施方式
25.为了使本实用新型的目的、技术方案及优点更加清楚明白,以下结合附图及实施例,对本实用新型进行进一步详细说明。应当理解,此处所描述的具体实施例仅仅用以解释本实用新型,并不用于限定本实用新型。
26.参照图1‑5,一种复卷机用铝箔切割机构,包括两个支撑板2,两个支撑板2中其中一个支撑板2的外侧固定连接有两个二号电机16,二号电机16的输出端连接有一号连接杆17,另一个支撑板2的内侧固定连接有二号连接杆18,两个支撑板2之间转动连接有上导向棍7和下导向棍8,一号连接杆17贯穿支撑板2且伸出支撑板2一部分,一号连接杆17插在上导向棍7和下导向棍8内且螺纹连接,二号连接杆18插在上导向棍7和下导向棍8的另一端且与其转动连接,当二号电机16转动时会带动上导向棍7和下导向棍8转动,缠绕在其上的铝箔纸15会自动卷起,二号电机16为现有技术,在此不多做陈述,当上导向棍7和下导向棍8上切割后的铝箔纸15需要取下来时,转动上导向棍7和下导向棍8,再将上导向棍7和下导向棍8往二号连接杆18移动,使其脱离一号连接杆17,然后将上导向棍7和下导向棍8取下,最后拿下铝箔纸15,铝箔纸15拿下后将上导向棍7和下导向棍8原路装回即可。
27.两个支撑板2之间转动连接有一号丝杆3,一号丝杆3上的螺纹对称且旋转方向相反,一号丝杆3的一端支撑板2并延伸出支撑板2一部分,一号丝杆3的另一端位于另一个支撑板2内,一号丝杆3位于刀槽棍6的正上方,便于一号切刀5对铝箔纸15进行切割,一号丝杆3的外表面对称设有一号滑块4,一号滑块4与一号丝杆3之间通过螺纹连接,一号滑块4的两侧设有两个固定螺母,所述固定螺母在图中未标示,两个固定螺母向相反方向转动时可以将一号滑块4固定在一号丝杆3上,防止一号滑块4因为一号切刀5的转动而移位,一号丝杆3转动时,两个一号滑块4会同时向中间或两侧移动,用以调整铝箔纸15的切割中尺寸,一号滑块4中间位置转动连接有一号切刀5,两个支撑板2之间固定连接有横板1,铝箔纸15位于横板1的上方,两个支撑板2之间转动连接有导向棍9,导向棍9与横板1位于同一水平面上,导向棍9位于横板1内,这样可以防止铝箔纸15在横板1上移动时与横板1边沿的摩擦造成的损坏,两个支撑板2之间转动连接有二号丝杆11,二号丝杆11通过轴承贯穿两个支撑板2,二号丝杆11的一端贯穿支撑板2并与一号电机10的输出端连接,二号丝杆11位于横板1的正上方,两个支撑板2之间固定连接有两个挡板19,二号丝杆11位于连个挡板19之间,二号丝杆11的外表面螺纹连接有二号滑块12,二号丝杆11转动时二号滑块12会沿着二号丝杆11左右移动,二号滑块12的底面固定连接有气缸13,气缸13的底面固定连接有二号切刀14,气缸13可以调节二号切刀14的高度,气缸13为现有技术,在此不多做陈述,两个支撑板2中其中一个支撑板2远离二号滑块12的一侧固定连接有一号电机10,一号电机10可以正向转动和反向转动,此为现有技术,在此不多做陈述,横板1上设有铝箔纸15并位于刀槽棍6和一号切刀5之间,被一号切刀5切过的另一端分为三条且分别缠绕在上导向棍7和下导向棍8上。
28.本方案具备以下工作过程:铝箔纸15放置在横板1上并向前移动,然后穿过一号切刀5和刀槽棍6之间,铝箔纸15在向前移动的过程中一号切刀5会将铝箔纸15切割成多份,并将另一端分别缠绕在上导向棍7和下导向棍8上,打开二号电机16,上导向棍7和下导向棍8会将铝箔纸15卷起。
29.当铝箔纸15移动到一定的长度时,一号电机10和气缸13就会打开,二号切刀14会下降到能够切割铝箔纸15的高度,然后二号丝杆11转动,带动二号滑块12移动,二号切刀14就会将铝箔纸15横向切断。
30.横向切断的铝箔纸15经过一号切刀5切割完并完全卷到上导向棍7和下导向棍8上后,关闭二号电机16,并将铝箔纸卷一端用胶带封上,然后转动上导向棍7和下导向棍8将其取下后再将铝箔纸卷拿出。
31.以上显示和描述了本实用新型的基本原理、主要特征和本实用新型的优点。本行业的技术人员应该了解,本实用新型不受上述实施例的限制,上述实施例和说明书中描述的只是本实用新型的原理,在不脱离本实用新型精神和范围的前提下本实用新型还会有各种变化和改进,这些变化和改进都落入要求保护的本实用新型的范围内。本实用新型要求的保护范围由所附的权利要求书及其等同物界定。
技术特征:
1.一种复卷机用铝箔切割机构,包括两个支撑板(2),其特征在于:两个所述支撑板(2)中其中一个支撑板(2)的外侧固定连接有两个二号电机(16),所述二号电机(16)的输出端连接有一号连接杆(17),所述另一个支撑板(2)的内侧固定连接有二号连接杆(18),两个所述支撑板(2)之间转动连接有上导向棍(7)和下导向棍(8),两个所述支撑板(2)之间转动连接有一号丝杆(3),所述一号丝杆(3)的外表面对称设有一号滑块(4),所述一号滑块(4)中间位置转动连接有一号切刀(5),两个所述支撑板(2)之间固定连接有横板(1),两个所述支撑板(2)之间转动连接有导向棍(9),两个所述支撑板(2)之间转动连接有二号丝杆(11),两个所述支撑板(2)之间固定连接有两个挡板(19),所述二号丝杆(11)的外表面螺纹连接有二号滑块(12),所述二号滑块(12)的底面固定连接有气缸(13),所述气缸(13)的底面固定连接有二号切刀(14),两个所述支撑板(2)中其中一个支撑板(2)远离二号滑块(12)的一侧固定连接有一号电机(10)。2.根据权利要求1所述的一种复卷机用铝箔切割机构,其特征在于:所述一号连接杆(17)贯穿支撑板(2)且伸出支撑板(2)一部分,所述一号连接杆(17)插在上导向棍(7)和下导向棍(8)内且螺纹连接,所述二号连接杆(18)插在上导向棍(7)和下导向棍(8)的另一端且与其转动连接。3.根据权利要求1所述的一种复卷机用铝箔切割机构,其特征在于:所述一号丝杆(3)的一端支撑板(2)并延伸出支撑板(2)一部分,所述一号丝杆(3)的另一端位于另一个支撑板(2)内。4.根据权利要求1所述的一种复卷机用铝箔切割机构,其特征在于:所述一号丝杆(3)位于刀槽棍(6)的正上方,所述二号丝杆(11)位于横板(1)的正上方。5.根据权利要求1所述的一种复卷机用铝箔切割机构,其特征在于:所述导向棍(9)与横板(1)位于同一水平面上,所述导向棍(9)位于横板(1)内。6.根据权利要求1所述的一种复卷机用铝箔切割机构,其特征在于:所述二号丝杆(11)的一端贯穿支撑板(2)并与一号电机(10)的输出端连接。7.根据权利要求1所述的一种复卷机用铝箔切割机构,其特征在于:所述横板(1)上设有铝箔纸(15)并位于刀槽棍(6)和一号切刀(5)之间。
技术总结
本实用新型公开了一种复卷机用铝箔切割机构,包括两个支撑板,支撑板之间设有一号丝杆、一号滑块、一号切刀、上导向棍、下导向棍、了横板、二号丝杆、二号滑块、气缸和二号切刀,转动转动一号丝杆,两个一号滑块沿着一号丝杆同时向中间或两侧移动,可以任意调整两个一号切刀之间的距离,切割后的铝箔纸一端缠绕在上导向棍和下导向棍上,上导向棍和下导向棍转动可以将铝箔纸卷起,切割时气缸将一号切刀往铝箔纸方向移动,二号滑块移动带动二号切刀对铝箔纸进行切割。该切割机构可以将铝箔纸横向切割和竖向切割,并且可以较为精准的调整竖向切割的尺寸。的尺寸。的尺寸。
技术研发人员:姚空
受保护的技术使用者:上海莱凯包装制品有限公司
技术研发日:2021.01.27
技术公布日:2021/11/30