服务热线
180-5003-0233
分切机的安全创新设计分切机还用于用调节电流的方法调节转矩以保证卷绕过程中张力保持恒定的开卷或复卷张力控制系统。下面,我们就来了解一下分切机的安全创新设计。分切机的安全创新设计也有助......
一种电解铜箔用树脂纸管卷芯分切机的制作方法1.本技术属于金属加工机械设备技术领域,具体涉及一种电解铜箔用树脂纸管卷芯分切机。背景技术:2.电解铜箔是一种以铜料为主要原料、通过电解法生产制备的金属铜箔,所......
一种直径可调的纸管分切机夹紧装置的制造方法一种直径可调的纸管分切机夹紧装置的制造方法【技术领域】[0001]本发明涉及纸管加工设备领域,具体而言,涉及一种直径可调的纸管分切机夹紧目.0【背景技术】[00......
分切机纸管定位装置的制作方法1.本实用新型涉及一种分切机纸管定位装置,属于塑料薄膜制造设备技术领域。背景技术:2.纸管在塑料薄膜领域内被广泛的应用,将塑料薄膜收卷于纸卷上,以便于塑料薄膜整......
一种精密全自动分切机的制作方法本实用新型涉及一种分切机,具体是一种精密全自动分切机。背景技术:现有的分条机一般包括机架和分别设在机架上的放卷装置、分条装置、收卷装置,上述分条装置位于放卷装置......
电化铝分切装置的制作方法本实用新型涉及印刷包装设备领域,尤其涉及一种用于电化铝的分切装置。背景技术:电化铝产品在生产完成后,必须经分切机分切成小规格后才能使用,因现有设备刀槽和刀架没有......
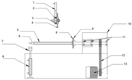
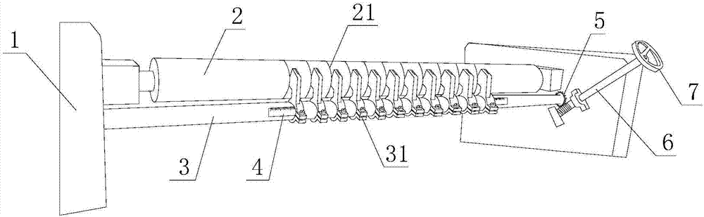
纸管分切机全自动换刀装置的制作方法1.本实用新型涉及纸管分切机技术领域,具体涉及一种纸管分切机全自动换刀装置。背景技术:2.纸管分切机是纸管加工过程中常用的设备,其用于将纸管加工成为产品所需长度......
一种加工纸管用纸板分切机的制作方法本实用新型涉及纸管加工领域,具体为一种加工纸管用纸板分切机。背景技术:纸管:纸用纸张加工成的管状的物体。大多纸管为螺旋纸管和无缝纸管。纸管的应用较为广泛,在进行......
一种夹紧纸管分切机的制作方法一种夹紧纸管分切机的制作方法【技术领域】[0001]本发明涉及纸管加工设备领域,具体而言,涉及一种夹紧纸管分切机。【背景技术】[0002]夹紧纸管分切机是纸管加......
一种用于树脂纸管生产的高效分切机的制作方法[0001]本实用新型涉及树脂纸管技术领域,具体为一种用于树脂纸管生产的高效分切机。背景技术:[0002]分切机是一种将宽幅纸张、云母带或薄膜分切成多条窄幅材料......
一种定长的纸管分切机的制作方法1.本实用新型涉及纸管分切机技术领域,具体为一种定长的纸管分切机。背景技术:2.随着时代的发展,人们的环保意识不断增强,由于塑料管的不易降解,容易造成污染,人们......
一种提高切割精度的纸管分切机的制作方法1.本实用新型涉及纸管分切机技术领域,更具体地说,本实用新型涉及一种提高切割精度的纸管分切机。背景技术:2.纸管分切机是纸管加工过程中的常用设备,其通过将纸管固......
一种用于纸管生产的高效分切机的制作方法本发明涉及纸管生产设备技术领域,尤其涉及一种用于纸管生产的高效分切机。背景技术:生活中,为了满足人们不同的使用需求而生产出了不同宽度尺寸的布料,于是就需要不同长......
一种精密卷纸分切机的制作方法本实用新型涉及一种精密卷纸分切机。背景技术:传统造纸工艺中精密卷纸分切机的超压辊组由单一的纸帛辊组成且各纸帛辊的转速相同,超压效果差,加工的得到的纸产品平滑度不......
胶带分切机的收卷轴的制作方法胶带分切机的收卷轴的制作方法【技术领域】[0001]本实用新型属于机械技术领域,涉及一种胶带分切机,特别是胶带分切机的收卷轴。【背景技术】[0002]胶带分切机......